申请日2016.05.11
公开(公告)日2016.07.06
IPC分类号B01D1/14; C02F1/10; C02F101/20
摘要
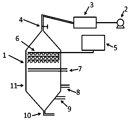
本发明涉及蒸发处理重金属废水技术领域,尤其涉及一种节能环保型负压含重金属废水蒸发器。包括金属腔体1、风机2、收水器3、安全阀4、高位水箱5、雾化喷头6、热风管7、溢流管8、泄水管9、排污管10、人孔11。含重金属废水处理由水泵泵入高位水箱,利用与雾化喷头的液位差产生的压力使废水雾化进入蒸发器腔体,雾化废液在腔体内的温度和压力下,部分水分子变为水蒸汽,水蒸汽通过腔体上端的出口进入管道,并在管道中冷凝为液态水,沿斜管流入收水器进行收集。收集的蒸馏水可回用于锅炉用水等工序。剩余部分高浓度重金属废水聚集在腔体的底部,达到一定浓度后由泄水管排出。高浓度废水由于沉降作用会产生的沉淀,由排污管定期排出。人孔设置在蒸发器的一侧,方便维护人员定期对蒸发器进行维修、清理及保养。
权利要求书
1.一种处理工业废水的工艺,特别是一种处理含重金属废水的蒸发工艺,其特征是该工艺主要是由按下述工艺流程顺序的废水进水雾化工序、废水受热蒸发工序、水蒸气冷凝回收工序、高浓度废水及沉淀排出工序组成。
2.一种节能环保型负压含重金属废水蒸发器,特别是以按权利要求1所述蒸发含重金属废水的装置,其特征是该装置是由按下述顺序将管道连接或直接焊接起来的主要装置之金属腔体1、风机2、收水器3、安全阀4、高位水箱5、雾化喷头6、热风管7、溢流管8、泄水管9、排污管10、人孔11构成。
3.根据权利要求1所述废水进水雾化工序其特征是含重金属废水处理由水泵泵入高位水箱5,利用与雾化喷头6的液位差产生的压力使废水雾化进入蒸发器腔体1。
4.根据权利要求1所述废水受热蒸发工序其特征是利用厂内的烟气温度或冷却水温度对空气进行加热,在提供废水蒸发所需的温度环境的同时,较高的温度会加快液体蒸发效率,也会造成腔体的负压环境,分担风机的负担,进一步减少装置运行所需的能耗。
5.根据权利要求1所述水蒸气冷凝回收工序其特征是水蒸汽通过腔体上端的出口进入管道,并在管道中冷凝为液态水,沿斜管流入收水器进行收集。
6.根据权利要求1所述高浓度废水及沉淀排出工序其特征是腔体下端为倒锥型,具有一定的坡度,是沉淀集中在一起,方便从排污口排出。
7.根据权利要求2所述装置,其特征是安全阀4、收水器3、风机2设置在金属腔体的顶部,并与腔体连通;高位水箱5设置在金属腔体外侧与腔体内部的雾化喷头相连;热风管7、溢流管8、泄水管9依次设置在雾化喷头的下侧;排污管10设置在金属腔体的底部;人孔11设置在腔体的一侧。
说明书
节能环保型负压含重金属废水蒸发器
技术领域
本发明涉及蒸发处理重金属废水技术领域,尤其涉及一种节能环保型负压含重金属废水蒸发器。
背景技术
水在工业上的用途很多,典型的工业应用有:生产废水、漂洗用水、洗涤和冷却用水。这意味着工业上会有大量的含有各种各样高浓度污染物的废水产生。绝大多数情况下,这些废水需要在内部系统处理后,才能排放到公共排污系统或河流、湖泊及海洋中。一个经济的、对环境友好的废水处理系统应该是一个工厂或车间整体规划中不可或缺的部分。废水蒸发器目前广泛应用于化工行业、金属矿业的冶炼、大型钢厂的酸洗废液、电厂的湿法脱硫废液处理等。
以重金属废水为例,随着我国现代工业的迅速发展,工业废水中的重金属污染问题日益严重。如何有效治理重金属污染,高效处理这些重金属废水,并使之资源化,已经成为人们共同关注的问题。
但是现有的三效蒸发器作为蒸发装置,需要辅助的加热热源,存在能耗大、成本高的缺点。
发明内容
本发明要解决的技术问题是:本发明提供一种用于重金属废水处理的节能环保型负压蒸发器,用于解决现有重金属废水蒸发装置和工艺中,普遍存在的换热效率低、能耗高等技术难题。本发明设置在重金属废水处理的工艺之前,利用负压蒸发的原理将重金属废水进行蒸发浓缩。将重金属废水中的大部分水进行进行回用,降低企业的新水用量。从而达到节能、环保的目的。
本发明技术方案是:一种用于重金属废水处理的节能环保型负压蒸发器,包括金属腔体1、风机2、收水器3、安全阀4、高位水箱5、雾化喷头6、热风管7、溢流管8、泄水管9、排污管10、人孔11。安全阀4、收水器3、风机2设置在金属腔体的顶部,并与腔体连通;高位水箱5设置在金属腔体外侧与腔体内部的雾化喷头6相连;热风管7、溢流管8、泄水管9依次设置在雾化喷头的下侧;排污管10设置在金属腔体的底部;人孔11设置在腔体的一侧。高位水箱中的含重金属废水,通过自流的方式进入雾化器中,由雾化喷头进入蒸发器的金属腔体,雾化状态的在金属腔体的负压加热环境中,废水中的部分水分子变为水蒸汽,水蒸汽通过腔体上端的出口进入管道,并在管道中冷凝为液态水,沿斜管流入收水器进行收集。热风管布置在雾化喷头的下部,因为是负压蒸发,所以热源温度不需要太高,可利用厂内的烟气温度或冷却水温度对空气进行加热。可以大大的降低蒸发器的能源消耗。溢流管和泄水管依次位于热风管的下方,溢流管是用来防止蒸发器下方的高浓度废水的水位过高,对热风管造成影响。泄水管是当下方的高浓度废水达到一定浓度时需要排出蒸发器。排污管是用来排除底部废水由于沉降作用产生的沉淀。蒸发器金属腔体一侧设置人孔,方便维护人员定期对蒸发器进行维修、清理及保养。



