申请日2016.05.26
公开(公告)日2016.07.27
IPC分类号C02F9/10
摘要
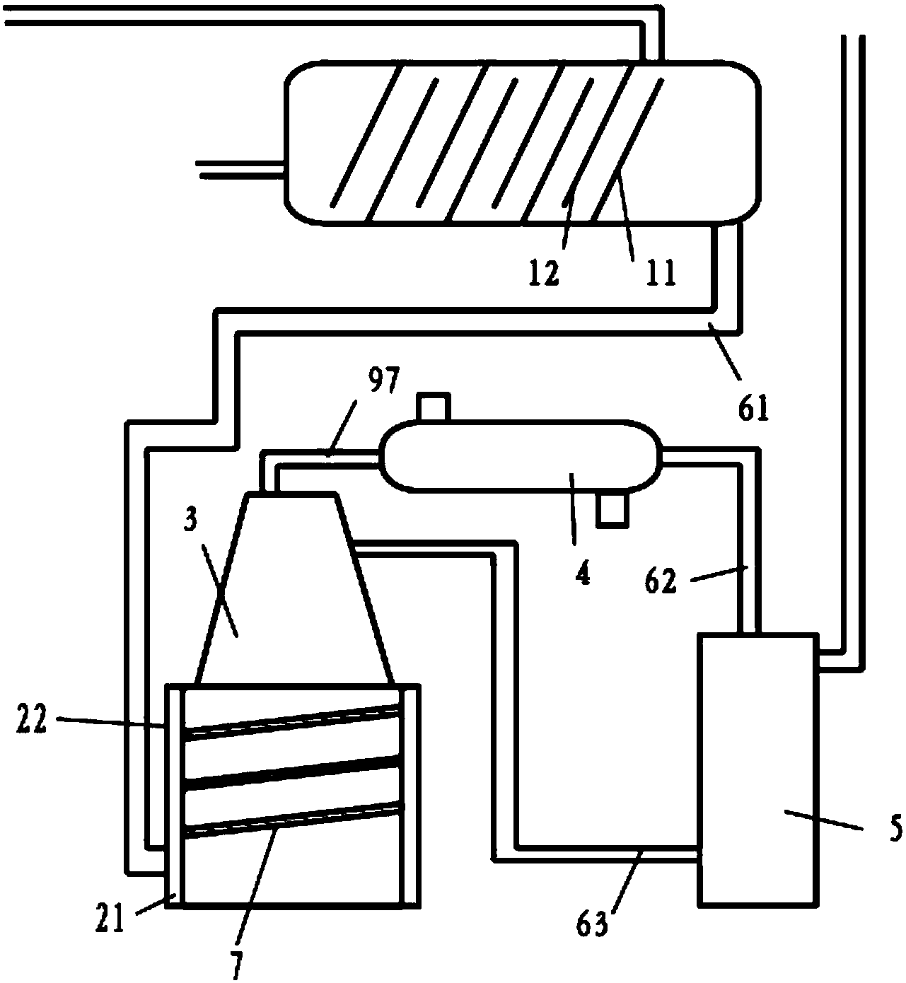
本发明公开一种生产邻苯二甲酸二辛酯用废水提料装置,包括卧式分离罐、加热罐、废水塔、冷凝器、分液罐;所述卧式分离罐的前端设置进料口,所述卧式分离罐后端的顶部设置有回酯口,所述卧式分离罐后端的底部设置有废水排出口;所述废水排出口与加热罐连通,所述加热罐的顶部设置有废水塔,所述废水塔的顶部与所述冷凝器的进气口连通,所述冷凝器的出液口与所述分液罐的上端连通;所述分液罐上开设有出水口、出醇口;所述出水口位于所述出醇口的下方。本发明具有有效回收产物、原料以及减少对环境的污染、降低后期水处理成本的优点。
摘要附图
权利要求书
1.一种生产邻苯二甲酸二辛酯用废水提料装置,其特征在于:包括卧式分离罐、加热罐、废水塔、冷凝器、分液罐;所述卧式分离罐的前端设置进料口,所述卧式分离罐后端的顶部设置有回酯口,所述卧式分离罐后端的底部设置有废水排出口;
所述废水排出口与加热罐连通,所述加热罐的顶部设置有废水塔,所述废水塔的顶部与所述冷凝器的进气口连通,所述冷凝器的出液口与所述分液罐的上端连通;
所述分液罐上开设有出水口、出醇口;所述出水口位于所述出醇口的下方。
2.根据权利要求1所述的一种生产邻苯二甲酸二辛酯用废水提料装置,其特征在于:所述卧式分离罐的内部空腔设置有若干块第一隔板、第二隔板;
其中,所述第一隔板的顶部与所述卧式分离罐内顶壁密封,所述第一隔板的底部与所述卧式分离罐内底壁存在间隙;所述第一隔板的底部与所述卧式分离罐内底壁密封,所述第一隔板的顶部与所述卧式分离罐内顶壁存在间隙;
所述若干块第一隔板、第二隔板沿水平方向从前至后依次间隔错位设置。
3.根据权利要求1所述的一种生产邻苯二甲酸二辛酯用废水提料装置,其特征在于:所述加热罐的外壁设置有外蒸汽管。
4.根据权利要求3所述的一种生产邻苯二甲酸二辛酯用废水提料装置,其特征在于:所述外蒸汽管以所述加热罐为轴心自上而下或自下而上呈螺旋状盘绕在所述加热罐的外壁上。
说明书
一种生产邻苯二甲酸二辛酯用废水提料装置
技术领域
本发明涉及邻苯二甲酸二丁酯生产技术领域,尤其涉及一种生产邻苯二甲酸二辛酯用废水提料装置。
背景技术
邻苯二甲酸二辛酯是通用型增塑剂,主要用于聚氯乙烯脂的加工、还可用于化地树脂、醋酸树脂、ABS树脂及橡胶等高聚物的加工,也可用于造漆、染料、分散剂等、DOP增塑的PVC可用于制造人造革、农用薄膜、包装材料、电缆等。
除了乙酸纤维素、聚乙酸乙烯外,与绝大多数工业上使用的合成树脂和橡胶均有良好的相容性。具有良好的综合性能,混合性能好,增塑效率高,挥发性较低,低温柔软性较好,耐水抽出,电气性能高,耐热性和耐候性良好。
在暖通空调中,用于测试高效过滤器的过滤效率。因为对于高效过滤器,0.3um(微米)是穿透率最大的粒径,因此用DOP来测试高效过滤器的过滤效率。
邻苯二甲酸二丁酯的生产工艺:苯酐与醇在硫酸做催化剂加热反应生产成粗制邻苯二甲酸二丁酯,再经过中和、水洗、脱醇、压滤得到精制邻苯二甲酸二丁酯。
邻苯二甲酸二丁酯在生产过程中会生产大量的废水,废水中含有部分醇、酯,如若不及时回收处理,一方面造成原料的浪费,另一方面污染环境。
发明内容
本发明针对现有技术的不足,提供一种有效回收产物、原料以及减少对环境的污染、降低后期水处理成本的邻苯二甲酸二丁酯生产系统的废水分离装置。
本发明采用以下技术手段解决上述技术问题:一种生产邻苯二甲酸二辛酯用废水提料装置,其特征在于:包括卧式分离罐、加热罐、废水塔、冷凝器、分液罐;所述卧式分离罐的前端设置进料口,所述卧式分离罐后端的顶部设置有回酯口,所述卧式分离罐后端的底部设置有废水排出口;
所述废水排出口与加热罐连通,所述加热罐的顶部设置有废水塔,所述废水塔的顶部与所述冷凝器的进气口连通,所述冷凝器的出液口与所述分液罐的上端连通;
所述分液罐上开设有出水口、出醇口;所述出水口位于所述出醇口的下方。
优选地:所述卧式分离罐的内部空腔设置有若干块第一隔板、第二隔板;
其中,所述第一隔板的顶部与所述卧式分离罐内顶壁密封,所述第一隔板的底部与所述卧式分离罐内底壁存在间隙;所述第一隔板的底部与所述卧式分离罐内底壁密封,所述第一隔板的顶部与所述卧式分离罐内顶壁存在间隙;
所述若干块第一隔板、第二隔板沿水平方向从前至后依次间隔错位设置。
优选地:所述加热罐的外壁设置有外蒸汽管。
优选地:所述外蒸汽管以所述加热罐为轴心自上而下或自下而上呈螺旋状盘绕在所述加热罐的外壁上。
本发明的优点在于:
(1)将生产中产生的废水通过卧式分离罐的进料口流入卧式分离罐中,进行水、酯的分离,将分层后位于上层的酯通过提料泵的作用从回酯口抽出,供系统二次使用;下层的水从卧式分离罐后端底部的废水排出口排出至加热罐中。此时,水中含有一定浓度的醇,对加热罐加热至100度,醇、水溶液由液态变为气态,通过废水塔流入至冷凝器,在冷凝器的冷凝作用,气态醇、水液化,流入至分液罐中;由于水的密度大于醇,水沉于下层,醇位于上层,由于水醇溶解需要一定的时间,当醇尚且溶或少量溶于水中时,对上层的醇抽出,供系统二次使用,从而实现有效回收产物、原料以及减少对环境的污染、降低后期水处理成本的技术效果。
(2)通过在卧式分离罐的内部空腔设置本发明的第一隔板、第二隔板,使得废水呈蛇形状在卧式分离罐流动,提高分层时间,实现动态分离、回收。
(3)第一隔板、第二隔板呈倾斜状,进一步增加废水在分离罐内的流动路径,提高分层时间。
(4)在所述加热罐的外壁设置有外蒸汽管且以釜体为轴心自上而下或自下而上呈螺旋状盘绕在釜体的外壁上,通过向外蒸汽管注入热蒸汽,利用热传导效应,更进一步提高釜体内部的温度,提高热化效果,提高醇水气化效率。


