申请日2015.08.20
公开(公告)日2015.12.16
IPC分类号E03F5/22
摘要
本实用新型公开了一种全自动智能污水提升装置,油水分离器通过进水管路分别与第一进水管路止回阀、第二进水管路止回阀连接,第一进水管路止回阀与第一污物分离反冲装置连接,第二进水管路止回阀与第二污物分离反冲装置连接,第一污物分离反冲装置、第二污物分离反冲装置均与集水箱连接,集水箱上设有可编辑控制器、水位检测器、与第一污物分离反冲装置连通的第一潜水排污泵、与第二污物分离反冲装置连通的第二潜水排污泵,第一污物分离反冲装置还连接有第一强排管路止回阀,第二污物分离反冲装置通过出水管路还连接有第二强排管路止回阀。本实用新型采用双潜水排污泵,同时运行,互不影响工作,在排污同时可污水分离处理,极大提高处理效率。
权利要求书
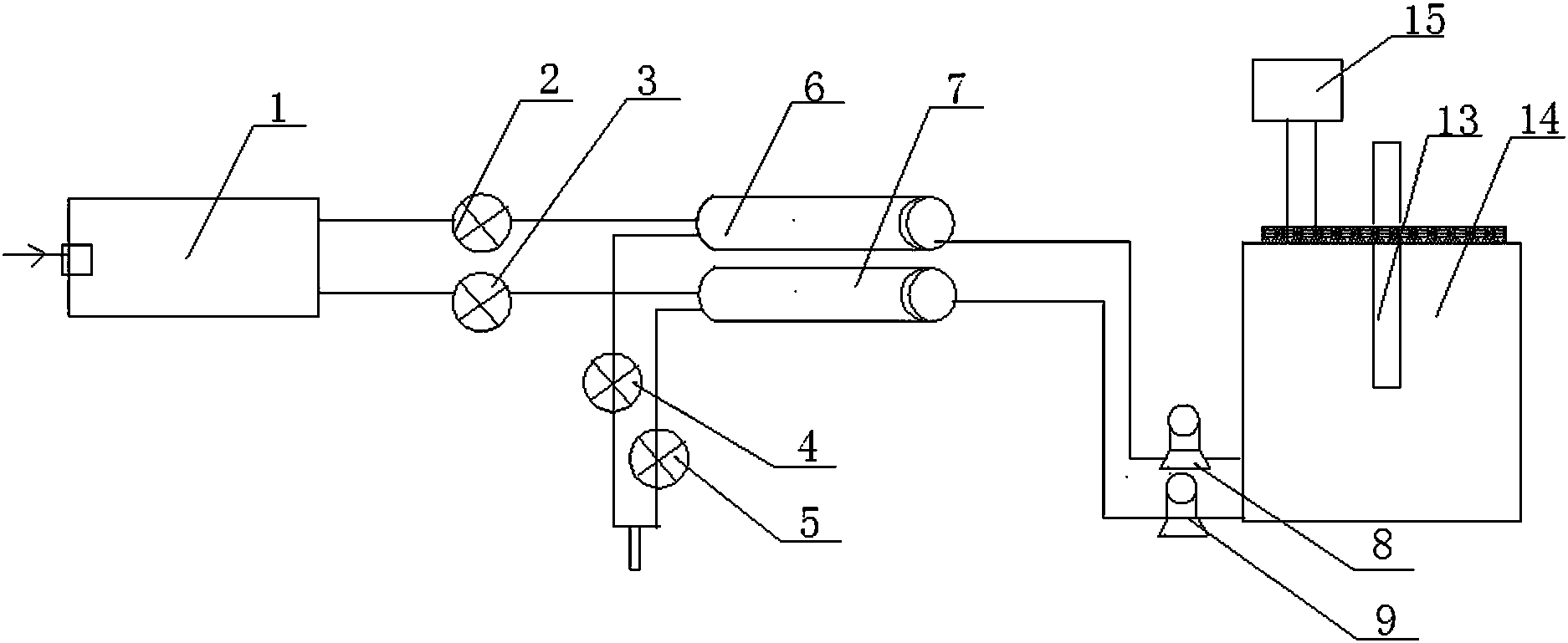
1.一种全自动智能污水提升装置,其特征在于:包括油水分离器(1)、第一进水管路止回阀(2)、第二进水管路止回阀(3)、第一污物分离反冲装置(6)、第二污物分离反冲装置(7)和集水箱(14),所述油水分离器(1)通过进水管路分别与第一进水管路止回阀(2)、第二进水管路止回阀(3)连接,第一进水管路止回阀(2)与第一污物分离反冲装置(6)连接,第二进水管路止回阀(3)与第二污物分离反冲装置(7)连接,第一污物分离反冲装置(6)、第二污物分离反冲装置(7)均与集水箱(14)连接,集水箱(14)上设有可编辑控制器(15)、水位检测器(13)、与第一污物分离反冲装置(6)所在管路连通的第一潜水排污泵(8)、与第二污物分离反冲装置(7)所在管路连通的第二潜水排污泵(9),第一污物分离反冲装置(6)通过出水管路还连接有第一强排管路止回阀(4),第二污物分离反冲装置(7)通过出水管路还连接有第二强排管路止回阀(5)。
2.根据权利要求1所述的一种全自动智能污水提升装置,其特征在于:所述水位检测器(13)固定在集水箱(14)的上部,水位检测器(13)的臂长不少于集水箱(14)长度的一半。
3.根据权利要求2所述的一种全自动智能污水提升装置,其特征在于:所述油水分离器(1)包括分隔腔(10)、油水分离腔(11)、无油污水腔(12),所述分隔腔(10)与油水分离腔(11)之间设有过滤腔隔板(110),油水分离腔(11)与无油污水腔(12)之间设有分离器隔板(120)。
4.根据权利要求3所述的一种全自动智能污水提升装置,其特征在于:所述油水分离器(1)上设有与分隔腔(10)连通的进口端(100),分隔腔(10)内设有滤网框(101)。
5.根据权利要求4所述的一种全自动智能污水提升装置,其特征在于:所述滤网框(101)与油水分离器(1)的进口端连接。
6.根据权利要求4所述的一种全自动智能污水提升装置,其特征在于:所述无油污水腔(12)内设有收油槽(122),收油槽(122)上安装有放油阀(121)。
7.根据权利要求5所述的一种全自动智能污水提升装置,其特征在于:位于进口端(100)的相对端上设有排水装置(123)、排水阀(124)。
8.根据权利要求7所述的一种全自动智能污水提升装置,其特征在于:所述集水箱(14)为不锈钢箱体。
9.根据权利要求8所述的一种全自动智能污水提升装置,其特征在于:所述集水箱(14)为全密封组合式拼装结构。
10.根据权利要求9所述的一种全自动智能污水提升装置,其特征在于:所述水位检测器(13)为液位仪。
说明书
一种全自动智能污水提升装置
技术领域
本实用属于地铁车站排水技术领域,尤其涉及是指一种全自动智能污水提升装置。
背景技术
目前,有关地铁地下污水处理工程没有一个理想的排污装置,以往采取的方式是将污水汇聚到一个地方,比如储水池,在储水池中设置两台水泵,这样处理增加了使用成本,然而面对地铁商铺产生的污水、污物,如果采取统一处理,由于地铁车站处于相对封闭的环境容易产生刺鼻的气味,且现有的装置,处理能力有限,无法将统一处理的污水、污物处理干净,同时给环境带来了重度污染。
基于此研究开发并设计了一种全自动智能污水提升装置。
实用内容
本实用的目的在于:克服现有技术中的上述缺陷,提供一种全自动智能污水提升装置,通过油水分离器的设置,能很好的处理地铁商铺所产生的污水,并将污水经过分离反冲装置进行处理,能很好的降低污水中污泥,污物,提高处理效率,降低污水处理成本。
本实用通过下述技术方案实现的:一种全自动智能污水提升装置,包括油水分离器、第一进水管路止回阀、第二进水管路止回阀、第一污物分离反冲装置、第二污物分离反冲装置和集水箱,所述油水分离器通过进水管路分别与第一进水管路止回阀、第二进水管路止回阀连接,第一进水管路止回阀与第一污物分离反冲装置连接,第二进水管路止回阀与第二污物分离反冲装置连接,第一污物分离反冲装置、第二污物分离反冲装置均与集水箱连接,集水箱上设有可编辑控制器、水位检测器、与第一污物分离反冲装置所在管路连通的第一潜水排污泵、与第二污物分离反冲装置所在管路连通的第二潜水排污泵,第一污物分离反冲装置通过出水管路还连接有第一强排管路止回阀,第二污物分离反冲装置通过出水管路还连接有第二强排管路止回阀。
进一步地,为了更好的实现本实用新型,还包括以下技术特征,所述水位检测器固定在集水箱的上部,水位检测检测器的臂长不少于集水箱长度的一半。
进一步地,为了更好的实现本实用新型,还包括以下技术特征,所述油水分离器包括分隔腔、油水分离腔、无油污水腔,所述分隔腔与油水分离腔之间设有过滤腔隔板,油水分离腔与无油污水腔之间设有分离器隔板。
进一步地,为了更好的实现本实用新型,还包括以下技术特征,所述油水分离器上设有与分隔腔连通的进口端,分隔腔内设有滤网框。
进一步地,为了更好的实现本实用新型,还包括以下技术特征,所述滤网框与油水分离器的进口端连接。
进一步地,为了更好的实现本实用新型,还包括以下技术特征,所述无油污水腔内设有收油槽,收油槽上安装有放油阀。
进一步地,为了更好的实现本实用新型,还包括以下技术特征,所述位于进口端的相对端上设有排水装置,排水阀。
进一步地,为了更好的实现本实用新型,还包括以下技术特征,所述集水箱为不锈钢箱体。
进一步地,为了更好的实现本实用新型,还包括以下技术特征,所述集水箱为全密封组合式拼装结构。
进一步地,为了更好的实现本实用新型,还包括以下技术特征,所述水位检测器为液位仪。
本实用新型与现有技术相比,具有以下优点及有益效果:
(1)本实用新型通过油水分离器的设置能够实现初步对地铁商铺产生的污水、污物进行分离,降低后续处理的工作量,同时对污物中的固液分离,油水分离,降低污水对处理装置的污染。
(2)本实用新型采用双潜水排污泵,同时运行,互不影响工作,在排污的同时可进行污水分离处理,极大的提高了处理效率。







