公布日:2023.10.24
申请日:2022.03.30
分类号:C02F9/00(2023.01)I;C02F7/00(2006.01)N;C02F1/04(2023.01)N;C02F1/40(2023.01)N
摘要
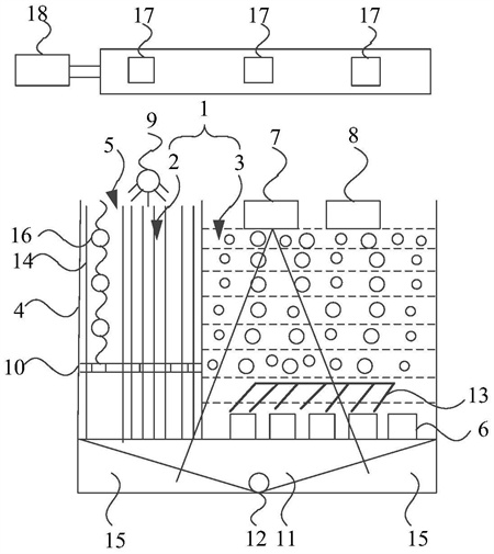
本发明提供一种含油污泥处理装置及系统。所述含油污泥处理装置包括处理腔,所述处理腔内设置包括过滤腔的过滤单元,所述处理腔中除过滤单元之外的腔体为曝气洗涤单元,所述过滤单元的入口用于接收待处理的含油污泥,所述过滤单元的M个第一出口与所述曝气洗涤单元连通;所述曝气洗涤单元内设置N个曝气输出头、油相收集单元以及水相收集单元;其中,M≥1,N>1。本发明的含油污泥处理装置,采用一体化结构设计完成对含油污泥的处理,具有成本低、能耗低、除油效果好的优势。

权利要求书
1.一种含油污泥处理装置,其特征在于,包括处理腔,所述处理腔内设置包括过滤腔的过滤单元,所述处理腔中除过滤单元之外的腔体为曝气洗涤单元,所述过滤单元的入口用于接收待处理的含油污泥,所述过滤单元的M个第一出口与所述曝气洗涤单元连通;所述曝气洗涤单元内设置N个曝气输出头、油相收集单元以及水相收集单元;其中,M≥1,N>1。
2.根据权利要求1所述的处理装置,其特征在于,所述曝气洗涤单元中盛装有来自于所述过滤单元的滤后含油污泥,所述油相收集单元位于所述曝气洗涤单元的液面处;所述油相收集单元为浮动收油器。
3.根据权利要求1或2所述的处理装置,其特征在于,包括蒸汽喷射单元,所述蒸汽喷射单元的喷射方向朝向所述过滤单元的入口。
4.根据权利要求1-3任一项所述的处理装置,其特征在于,所述过滤腔内包括可移动的过滤件。
5.根据权利要求1-4任一项所述的处理装置,其特征在于,所述过滤腔内包括筛分孔板,所述筛分孔板覆盖在至少一个所述过滤单元的出口。
6.根据权利要求1-5任一项所述的处理装置,其特征在于,所述曝气洗涤单元内设置有加热单元。
7.根据权利要求1-6任一项所述的处理装置,其特征在于,还包括沉降腔,所述沉降腔设置于所述处理腔的底部,且所述沉降腔分别与过滤腔和曝气洗涤单元连通。
8.根据权利要求7任一项所述的处理装置,其特征在于,所述沉降腔具有锥形结构。
9.根据权利要求1-8任一项所述的处理装置,其特征在于,还包括空气冷凝单元和/或气体净化单元;所述空气冷凝单元的入口与所述气体净化单元的入口均朝向所述曝气洗涤单元。
10.一种含油污泥处理系统,其特征在于,包括X个串联和/或并联的权利要求1-9任一项所述的含油污泥处理装置,其中,X≥2。
发明内容
本发明提供一种含油污泥处理装置,该处理装置采用一体化结构设计完成对含油污泥的处理,具有成本低、能耗低、分离效果好的优势。
本发明还提供一种含油污泥处理系统,该处理系统由于包括上述含油污泥处理装置,因此同样具有成本低、能耗低、分离效果好的优势。
本发明第一方面提供一种含油污泥处理装置,包括处理腔,所述处理腔内设置包括过滤腔的过滤单元,所述处理腔中除过滤单元之外的腔体为曝气洗涤单元,所述过滤单元的入口用于接收待处理的含油污泥,所述过滤单元的M个第一出口与所述曝气洗涤单元连通;
所述曝气洗涤单元内设置N个曝气头、油相收集单元以及水相收集单元;
其中,M≥1,N>1。
如上所述的处理装置,其中,所述曝气洗涤单元中盛装有来自于所述过滤单元的滤后含油污泥,所述油相收集单元位于所述曝气洗涤单元的液面处;
所述油相收集单元为浮动收油器。
如上所述的处理装置,其中,包括蒸汽喷射单元,所述蒸汽喷射单元的喷射方向朝向所述过滤单元的入口。
如上所述的处理装置,其中,所述过滤腔内包括可移动的过滤件。
如上所述的处理装置,其中,所述过滤腔内包括筛分孔板,所述筛分孔板覆盖在至少一个所述过滤单元的出口。
如上所述的处理装置,其中,所述曝气洗涤单元内设置有加热单元。
如上所述的处理装置,其中,还包括沉降腔,所述沉降腔设置于所述处理腔的底部,且所述沉降腔分别与过滤腔和曝气洗涤单元连通。
如上所述的处理装置,其中,所述沉降腔具有锥形结构。
如上所述的处理装置,其中,还包括空气冷凝单元和/或气体净化单元;
所述空气冷凝单元的入口与所述气体净化单元的入口均朝向所述曝气洗涤单元。
本发明第二方面提供一种含油污泥处理系统,其中,包括X个串联和/或并联的如上所述的含油污泥处理装置,其中,X≥2。
本发明的含油污泥处理装置,该处理装置采用一体化结构设置,将过滤单元、曝气洗涤单元、油相收集单元以及水相收集单元集成于一个装置内,在一个装置内实现了水、油、泥三相的分离与收集,降低了含油污泥的处理成本和能耗,具有极大的工业应用价值。
本发明的含油污泥处理系统,可根据含油污泥的处理复杂程度与处理指标的不同,采用多个串联和/或并联的含油污泥处理装置对含油污泥进行处理,从而满足含油污泥处理的不同需求。
(发明人:王庆吉;邵志国;李兴春;张晓飞;刘光全;裴明东)






