公布日:2023.11.07
申请日:2023.08.02
分类号:C02F1/04(2023.01)I;C02F101/30(2006.01)N
摘要
本发明公开了一种高盐有机废水连续处理蒸发塔,塔体设有多个并排布置的蒸发室,每个蒸发室包括顺流蒸发区、逆流蒸发区、底部导风区,每个导风区底部设有排液口;每个顺流蒸发区设有第一喷淋头和第一蒸发管,每个逆流蒸发区内设有第二喷淋头和第二蒸发管。通过上述优化设计的高盐有机废水连续处理蒸发塔,在线清洗蒸发盘管,清洗时无需停机,利用废水清洗,不会产生额外的清洗废水,从而实现蒸发塔连续处理废水,大大延长系统的有效运行时间以及提升系统的废水处理能力;通过对蒸发室设置顺流蒸发区和逆流蒸发区,能够提高换热效率,且能最大限度利用风道空间,尽量缩减了蒸发室清洗用水容积,减少清洗前期蓄水时长。

权利要求书
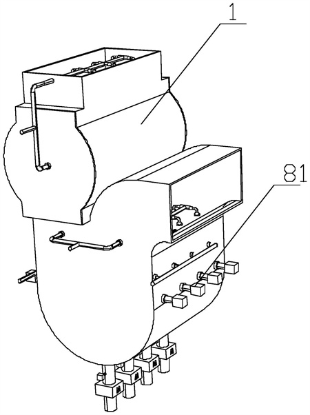
1.一种高盐有机废水连续处理蒸发塔,其特征在于,包括:塔体(1)、捕沫器(4)、蒸发管组、废水喷淋机构、多个第一超声波发生装置和多个第二超声波发生装置;塔体(1)内设有进风腔、导风腔和出风腔,进风腔和出风腔并排布置且二者底部通过导风腔连通,进风腔顶部设有进风口,出风腔顶部设有出风口;塔体(1)内还设有多个并排布置的隔板,隔板从所述进风腔经过所述导风腔沿进风方向伸入所述出风腔,在所述进风腔内形成并排布置的多个顺流蒸发区,在所述导风腔内形成多个并排布置的导风区,在所述出风腔内形成多个并排布置的逆流蒸发区;每个顺流蒸发区分别与一个导风区和一个逆流蒸发区依次连通形成一个蒸发室,每个导风区底部设有排液口,所述排液口处设有排液阀;废水喷淋机构包括多个第一喷淋头(51)和多个第二喷淋头(52),每个第一喷淋头和第一蒸发管(31)位于一个顺流蒸发区内且第一喷淋头(51)位于第一蒸发管(31)上方,每个第二喷淋头和第二蒸发管(32)位于一个逆流蒸发区内且第二喷淋头(52)位于第二蒸发管(32)上方;每个第一超声波发生装置用于对一个顺流蒸发区内的第一蒸发管进行超声波清洗,每个第二超声波发生装置用于对一个逆流蒸发区内的第二蒸发管进行超声波清洗;捕沫器(4)位于所述出风腔内且位于所述逆流蒸发区上方;第一超声波发生装置包括第一超声波发生器和与第一超声波发生器连接的第一超声振动棒(81);第二超声波发生装置包括第二超声波发生器和与第二超声波发生器连接的第二超声振动棒(82);第一超声振动棒(81)位于第一蒸发管(31)下方,第二超声振动棒(82)位于第二蒸发管(32)下方;在蒸发管的清洗工况下,关闭一个蒸发室底部排液阀,当蒸发室内的液位淹没第一蒸发管(31)、第二蒸发管(32)及其相应的超声波发生器时,启动超声波发生器;清洗结束后,打开所述蒸发室底部的排液阀,将液体排出;重复上述步骤,启动下一个蒸发室的蒸发管的清洗,直至完成所有蒸发室的清洗。
2.根据权利要求1所述的高盐有机废水连续处理蒸发塔,其特征在于,隔板包括依次连接的进风部(11)、隔液部(12)和出风部(13),所述进风部(11)位于进风腔内,所述隔液部(12)位于导风腔内,所述出风部(13)位于出风腔内,所述进风部(11)与所述出风部(13)的高度不等。
3.根据权利要求2所述的高盐有机废水连续处理蒸发塔,其特征在于,所述进风部(11)的高度大于所述出风部(13)的高度。
4.根据权利要求2所述的高盐有机废水连续处理蒸发塔,其特征在于,所述隔液部(12)上设有的导风板(2),导风板(2)具有从顺流蒸发区向逆流蒸发区方向延伸的弧形结构。
5.根据权利要求1所述的高盐有机废水连续处理蒸发塔,其特征在于,第一蒸发管(31)包括多个第一盘管部,所述多个第一盘管部依次连通且沿进风方向平行布置;和/或,第二蒸发管(32)包括多个第二盘管部。
6.根据权利要求1所述的高盐有机废水连续处理蒸发塔,其特征在于,每个排液口处设有压力传感器(9),根据压力传感器的检测结果启动超声波发生器。
发明内容
为解决背景技术中存在的技术问题,本发明提出一种高盐有机废水连续处理蒸发塔。
本发明提出的一种高盐有机废水连续处理蒸发塔,包括:塔体、捕沫器、蒸发管组、废水喷淋机构、多个第一超声波发生装置和多个第二超声波发生装置;
塔体内设有进风腔、导风腔和出风腔,进风腔和出风腔并排布置且二者底部通过导风腔连通,进风腔顶部设有进风口,出风腔顶部设有出风口;
塔体内还设有多个并排布置的隔板,隔板从所述进风腔经过所述导风腔沿进风方向伸入所述出风腔,在所述进风腔内形成并排布置的多个顺流蒸发区,在所述导风腔内形成多个并排布置的导风区,在所述出风腔内形成多个并排布置的逆流蒸发区;每个顺流蒸发区分别与一个导风区和一个逆流蒸发区依次连通形成一个蒸发室,每个导风区底部设有排液口,所述排液口处设有排液阀;
废水喷淋机构包括多个第一喷淋头和多个第二喷淋头,每个第一喷淋头和第一蒸发管位于一个顺流蒸发区内且第一喷淋头位于第一蒸发管上方,每个第二喷淋头和第二蒸发管位于一个逆流蒸发区内且第二喷淋头位于第二蒸发管上方;
每个第一超声波发生装置用于对一个每个顺流蒸发区内的第一蒸发管进行超声波清洗,每个第二超声波发生装置用于对一个逆流蒸发区内的第二蒸发管进行超声波清洗;
捕沫器位于所述出风腔内且位于所述逆流蒸发区上方。
优选地,隔板包括依次连接的进风部、隔液部和出风部,所述进风部位于进风腔内,所述隔液部位于导风腔内,所述出风部位于出风腔内,所述进风部与所述出风部的高度不等。
优选地,所述进风部的高度大于所述出风部的高度。
优选地,所述隔液部上设有的导风板,导风板具有从顺流蒸发区向逆流蒸发区方向延伸的弧形结构。
优选地,第一蒸发管包括多个第一盘管部,所述多个第一盘管部依次连通且沿进风方向平行布置;
和/或,第二蒸发管包括多个第二盘管部,所述多个盘管部依次连通且沿进风方向平行布置。
优选地,第一超声波发生装置包括第一超声波发生器和与第一超声波发生器连接的第一超声振动棒,第一超声振动棒沿垂直于所述盘管部的方向延伸;
和/或第二超声波发生装置包括第二超声波发生器和与第二超声波发生器连接的第二超声振动棒,第二超声振动棒沿垂直于所述盘管部的方向延伸。
优选地,第一超声振动棒位于第一蒸发管下方,第二超声振动棒位于第二蒸发管下方。优选地,在蒸发管的清洗工况下,关闭一个蒸发室底部排液阀,当蒸发室内的液位淹没第一蒸发管、第二蒸发管及其相应的超声波发生器时,启动超声波发生器;清洗结束后,打开所述蒸发室底部的排液阀,将液体排出;重复上述步骤,启动下一个蒸发室的蒸发管的清洗,直至完成所有蒸发室的清洗。
优选地,每个排液口处设有压力传感器,根据压力传感器的检测结果启动超声波发生器。
本发明中,所提出的高盐有机废水连续处理蒸发塔,塔体设有多个并排布置的蒸发室,每个蒸发室包括顺流蒸发区、逆流蒸发区、底部导风区,每个导风区底部设有排液口;每个顺流蒸发区设有第一喷淋头和第一蒸发管,每个逆流蒸发区内设有第二喷淋头和第二蒸发管。通过上述优化设计的高盐有机废水连续处理蒸发塔,在线清洗蒸发盘管,清洗时无需停机,利用废水清洗,不会产生额外的清洗废水,从而实现蒸发塔连续处理废水,大大延长系统的有效运行时间以及提升系统的废水处理能力;通过对蒸发室设置顺流蒸发区和逆流蒸发区,能够提高换热效率,且能最大限度利用风道空间,尽量缩减了蒸发室清洗用水容积,减少清洗前期蓄水时长。
(发明人:孙勇;余三江;李迪)






