公布日:2023.10.10
申请日:2023.07.11
分类号:C02F11/00(2006.01)I;C02F11/18(2006.01)I;C02F11/121(2019.01)I
摘要
本发明公开了一种污泥资源化用污泥压块设备,属于污泥处理设备技术领域,包括第一箱体,以及对称安装在第一箱体两侧的第二箱体和第三箱体,第一箱体的顶部安装有与其内部相互连通的进料管。本发明通过进料管和弹力连接机构的设置,能够在使用的过程中通过弹力连接机构与污泥运输车的排污管进行密封连接,防止在排放污泥的过程中导致污泥中的细菌或病毒泄露,同时在污泥通过进料管进入第一箱体的内部的过程中加热套管还能够对污泥进行加热对细菌和病毒进行初步灭杀,通过第一箱体、排料机构、第一挤压机构和第二挤压机构的设置,能够在密封的环境下对污泥进行压块处理,防止在压块的过程中导致污泥中的细菌或病毒泄露。

权利要求书
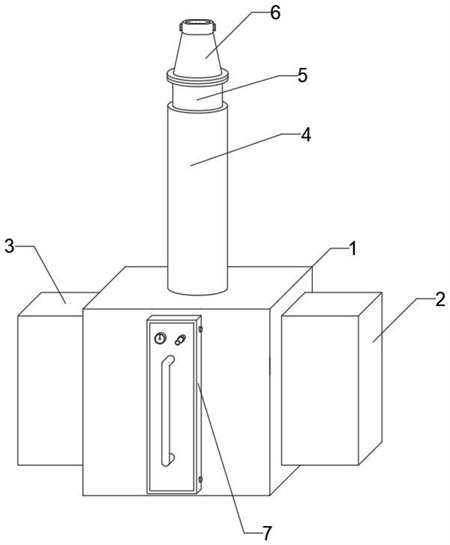
1.一种污泥资源化用污泥压块设备,其特征在于,包括第一箱体(1),以及对称安装在所述第一箱体(1)两侧的第二箱体(2)和第三箱体(3),所述第一箱体(1)的顶部安装有与其内部相互连通的进料管(5),所述第二箱体(2)和所述第三箱体(3)的内部分别安装有第一挤压机构(8)和第二挤压机构(9),所述第一挤压机构(8)和所述第二挤压机构(9)的一端均延伸至所述第一箱体(1)的内部,且与所述第一箱体(1)内的内壁滑动连接,所述第一箱体(1)的正面安装有排料机构(7),所述进料管(5)的外侧安装有加热套管(4),所述进料管(5)的顶端固定连接有弹力连接机构(6)。
2.如权利要求1所述的一种污泥资源化用污泥压块设备,其特征在于,所述加热套管(4)包括固定安装在所述进料管(5)外侧的保温套(401)。
3.如权利要求2所述的一种污泥资源化用污泥压块设备,其特征在于,所述保温套(401)的内壁上安装有螺旋环绕在所述进料管(5)外侧的电加热管(402)。
4.如权利要求1所述的一种污泥资源化用污泥压块设备,其特征在于,所述弹力连接机构(6)包括弹力套管(601),所述弹力套管(601)的底端固定连接有与所述进料管(5)顶端相互连接的安装座(602)。
5.如权利要求4所述的一种污泥资源化用污泥压块设备,其特征在于,所述弹力套管(601)的顶端固定连接有弹性卡箍(603),所述弹性卡箍(603)的外侧固定安装有多个均匀分布的C形的拉手(604)。
6.如权利要求1所述的一种污泥资源化用污泥压块设备,其特征在于,所述排料机构(7)包括安装在所述第一箱体(1)正面的排料管(701),所述排料管(701)的内侧滑动安装有密封块(702)。
7.如权利要求,6所述的一种污泥资源化用污泥压块设备,其特征在于,所述排料管(701)的正面安装有把手(706),所述把手(706)的上方设有安装在所述密封块(702)正面的压力表(704),所述压力表(704)的一侧设有贯穿安装在所述密封块(702)上的排气管(705),所述排气管(705)的中部安装有阀门。
8.如权利要求7所述的一种污泥资源化用污泥压块设备,其特征在于,所述排料管(701)的两侧均螺纹连接有多个用于固定所述密封块(702)的锁紧螺柱(703)。
9.如权利要求1所述的一种污泥资源化用污泥压块设备,其特征在于,所述第一挤压机构(8)和所述第二挤压机构(9)均包括L形的挤压板(801),所述挤压板(801)的一侧安装有多个均匀分布的液压缸(802)。
10.如权利要求9所述的一种污泥资源化用污泥压块设备,其特征在于,所述挤压板(801)的内部设有空腔,所述空腔的内部安装有电加热板(803)。
发明内容
本发明的主要目的是为了解决现有技术不足,而提供的一种污泥资源化用污泥压块设备。
本发明的目的可以通过采用如下技术方案达到:
一种污泥资源化用污泥压块设备,包括第一箱体,以及对称安装在所述第一箱体两侧的第二箱体和第三箱体,所述第一箱体的顶部安装有与其内部相互连通的进料管,所述第二箱体和所述第三箱体的内部分别安装有第一挤压机构和第二挤压机构,所述第一挤压机构和所述第二挤压机构的一端均延伸至所述第一箱体的内部,且与所述第一箱体内的内壁滑动连接,所述第一箱体的正面安装有排料机构,所述进料管的外侧安装有加热套管,所述进料管的顶端固定连接有弹力连接机构。
优选的,所述加热套管包括固定安装在所述进料管外侧的保温套。
优选的,所述保温套的内壁上安装有螺旋环绕在所述进料管外侧的电加热管。
优选的,所述弹力连接机构包括弹力套管,所述弹力套管的底端固定连接有与所述进料管顶端相互连接的安装座。
优选的,所述弹力套管的顶端固定连接有弹性卡箍,所述弹性卡箍的外侧固定安装有多个均匀分布的C形的拉手。
优选的,所述排料机构包括安装在所述第一箱体正面的排料管,所述排料管的内侧滑动安装有密封块。
优选的,所述排料管的正面安装有把手,所述把手的上方设有安装在所述密封块正面的压力表,所述压力表的一侧设有贯穿安装在所述密封块上的排气管,所述排气管的中部安装有阀门。
优选的,所述排料管的两侧均螺纹连接有多个用于固定所述密封块的锁紧螺柱。
优选的,所述第一挤压机构和所述第二挤压机构均包括L形的挤压板,所述挤压板的一侧安装有多个均匀分布的液压缸。
优选的,所述挤压板的内部设有空腔,所述空腔的内部安装有电加热板。
本发明的有益技术效果:按照本发明的污泥资源化用污泥压块设备,通过进料管和弹力连接机构的设置,能够在使用的过程中通过弹力连接机构与污泥运输车的排污管进行密封连接,防止在排放污泥的过程中导致污泥中的细菌或病毒泄露,同时在污泥通过进料管进入第一箱体的内部的过程中加热套管还能够对污泥进行加热对细菌和病毒进行初步灭杀,通过第一箱体、排料机构、第一挤压机构和第二挤压机构的设置,能够在密封的环境下对污泥进行压块处理,防止在压块的过程中导致污泥中的细菌或病毒泄露。
(发明人:孙理想)






