公布日:2024.04.19
申请日:2024.02.22
分类号:B01D29/35(2006.01)I;B01D29/64(2006.01)I;C02F1/00(2023.01)I
摘要
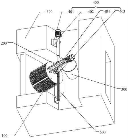
本发明公开了一种转鼓格栅除污机和污水处理系统。该转鼓格栅除污机包括转鼓组件,转鼓组件包括固定设置于待净化流道中的鼓筒、设置于鼓筒内的转轴和设置于转轴上的抓钩,抓钩包括多个沿转轴的轴向依次等分排列设置的抓条,相邻的抓条之间形成分隔间隙,鼓筒的外圆周方向设置有多个栅条,多个栅条沿鼓筒的轴向依次等分排列,每个栅条均插入其所对应的分隔间隙中;螺旋输送机构,螺旋输送机构的落料部分位于鼓筒内,其余部分位于鼓筒的外侧,且螺旋输送机构的出口端位于鼓筒的外侧;收纳件,设有用于收纳被收集杂物的容纳空间,收纳件位于螺旋输送机构的出口端的下方;以及驱动机构,用于驱动转轴绕其自身轴线作往复回转运动。

权利要求书
1.一种转鼓格栅除污机,其特征在于,包括:转鼓组件,所述转鼓组件包括固定设置于待净化流道中的鼓筒、设置于所述鼓筒内的转轴和设置于所述转轴上的抓钩,所述抓钩包括多个沿所述转轴的轴向依次等分排列设置的抓条,相邻的所述抓条之间形成分隔间隙,所述鼓筒的外圆周方向设置有多个栅条,多个所述栅条沿所述鼓筒的轴向依次等分排列,每个所述栅条均插入其所对应的分隔间隙中;螺旋输送机构,所述螺旋输送机构的落料部分位于所述鼓筒内,其余部分位于所述鼓筒的外侧,且所述螺旋输送机构的出口端位于所述鼓筒的外侧;收纳件,设有用于收纳被收集杂物的容纳空间,所述收纳件位于所述螺旋输送机构的出口端的下方;以及驱动机构,用于驱动所述转轴绕其自身轴线作往复回转运动。
2.根据权利要求1所述的转鼓格栅除污机,其特征在于,所述驱动机构包括:支座,设置于待净化流道上;电液推杆,设置于所述支座上;推拉齿条,与所述电液推杆的伸缩端连接;转动齿轮,设置于所述转轴上,且所述转动齿轮与所述推拉齿条啮合。
3.根据权利要求2所述的转鼓格栅除污机,其特征在于,所述待净化流道上还设置有齿条支撑槽,所述推拉齿条滑动设置于所述齿条支撑槽内,且所述齿条支撑槽的内壁涂覆润滑介质。
4.根据权利要求1所述的转鼓格栅除污机,其特征在于,所述螺旋输送机构位于所述鼓筒的中心轴线的上半部;其中,所述螺旋输送机构包括壳体、设置于所述壳体内的螺旋输送轴和设置于所述螺旋输送轴上的螺旋输送叶片,所述壳体的两侧外缘分别设有第一导向板和第二导向板,在第一方向上所述第一导向板和所述第二导向板之间的距离逐渐增大,所述第一方向为所述自所述螺旋输送轴的轴心朝向所述壳体开口的方向,且所述第一导向板和所述第二导向板上设置有刮板。
5.根据权利要求1所述的转鼓格栅除污机,其特征在于,所述抓条包括第一抓取牙和第二抓取牙,所述第一抓取牙和所述第二抓取牙沿所述抓条的中心线对称设置,所述第一抓取牙和所述第二抓取牙之间通过圆弧板连接,所述圆弧板的直径大于所述栅条的外缘直径。
6.根据权利要求5所述的转鼓格栅除污机,其特征在于,所述抓条上设置挡板,所述挡板在平行于所述转轴的轴向上延伸形成,且所述挡板位于所述第一抓取牙和所述第二抓取牙靠近所述转轴的一侧。
7.根据权利要求1所述的转鼓格栅除污机,其特征在于,所述鼓筒还包括与所述鼓筒的轴向平行延伸的连接板,自所述栅条的外壁沿所述鼓筒的外法线方向向外延伸形成凸起部,每个所述栅条的凸起部均与所述连接板焊接在一起。
8.根据权利要求7所述的转鼓格栅除污机,其特征在于,所述连接板与所述鼓筒的中心线之间的距离大于所述抓条的最大半径。
9.根据权利要求1所述的转鼓格栅除污机,其特征在于,所述鼓筒的轴线倾斜于水流方向设置,使所述螺旋输送机构的出口端高于所述鼓筒的水流入口端。
10.一种污水处理系统,其特征在于,包括如权利要求1至9任意一项所述的转鼓格栅除污机。
发明内容
有鉴于此,本发明的目的在于提供一种转鼓格栅除污机,以提高转鼓格栅除污机的污水处理效果和平衡性。
为了实现上述目的,本发明提供了如下技术方案:
一种转鼓格栅除污机,包括:
转鼓组件,所述转鼓组件包括固定设置于待净化流道中的鼓筒、设置于所述鼓筒内的转轴和设置于所述转轴上的抓钩,所述抓钩包括多个沿所述转轴的轴向依次等分排列设置的抓条,相邻的所述抓条之间形成分隔间隙,所述鼓筒的外圆周方向设置有多个栅条,多个所述栅条沿所述鼓筒的轴向依次等分排列,每个所述栅条均插入其所对应的分隔间隙中;
螺旋输送机构,所述螺旋输送机构的落料部分位于所述鼓筒内,其余部分位于所述鼓筒的外侧,且所述螺旋输送机构的出口端位于所述鼓筒的外侧;
收纳件,设有用于收纳被收集杂物的容纳空间,所述收纳件位于所述螺旋输送机构的出口端的下方;以及
驱动机构,用于驱动所述转轴绕其自身轴线作往复回转运动。
可选地,在上述转鼓格栅除污机中,所述驱动机构包括:
支座,设置于待净化流道上;
电液推杆,设置于所述支座上;
推拉齿条,与所述电液推杆的伸缩端连接;
转动齿轮,设置于所述转轴上,且所述转动齿轮与所述推拉齿条啮合。
可选地,在上述转鼓格栅除污机中,所述待净化流道上还设置有齿条支撑槽,所述推拉齿条滑动设置于所述齿条支撑槽内,且所述齿条支撑槽的内壁涂覆润滑介质。
可选地,在上述转鼓格栅除污机中,所述螺旋输送机构位于所述鼓筒的中心轴线的上半部;
其中,所述螺旋输送机构包括壳体、设置于所述壳体内的螺旋输送轴和设置于所述螺旋输送轴上的螺旋输送叶片,所述壳体的两侧外缘分别设有第一导向板和第二导向板,在第一方向上所述第一导向板和所述第二导向板之间的距离逐渐增大,所述第一方向为所述自所述螺旋输送轴的轴心朝向所述壳体开口的方向,且所述第一导向板和所述第二导向板上设置有刮板。
可选地,在上述转鼓格栅除污机中,所述抓条包括第一抓取牙和第二抓取牙,所述第一抓取牙和所述第二抓取牙沿所述抓条的中心线对称设置,所述第一抓取牙和所述第二抓取牙之间通过圆弧板连接,所述圆弧板的直径大于所述栅条的外缘直径。
可选地,在上述转鼓格栅除污机中,所述抓条上设置挡板,所述挡板在平行于所述转轴的轴向上延伸形成,且所述挡板位于所述第一抓取牙和所述第二抓取牙靠近所述转轴的一侧。
可选地,在上述转鼓格栅除污机中,所述鼓筒还包括与所述鼓筒的轴向平行延伸的连接板,自所述栅条的外壁沿所述鼓筒的外法线方向向外延伸形成凸起部,每个所述栅条的凸起部均与所述连接板焊接在一起。
可选地,在上述转鼓格栅除污机中,所述连接板与所述鼓筒的中心线之间的距离大于所述抓条的最大半径。
可选地,在上述转鼓格栅除污机中,所述鼓筒的轴线倾斜于水流方向设置,使所述螺旋输送机构的出口端高于所述鼓筒的水流入口端。
一种污水处理系统,包括如上所述的转鼓格栅除污机。
使用本发明所提供的转鼓格栅除污机时,将鼓筒固定设置在待净化流道中,来水从鼓筒轴向的一侧进入鼓筒内部,并从鼓筒栅条之间的分隔间隙处流出,被收集杂物被挡在鼓筒的内壁上,从而实现对来水的过滤;通过驱动机构驱动转轴绕其自身轴线作往复回转运动,由于转轴上设置抓钩,抓钩包括多个沿转轴的轴向依次排列设置的抓条,相邻的抓条之间形成分隔间隙,鼓筒的外圆周方向设置有多个栅条,多个栅条沿鼓筒的轴向依次排列,每个栅条均插入其所对应的分隔间隙中,也就是说,相邻的两个抓条之间的间距与鼓筒上相邻两个栅条之间的间距相等,从而使得抓钩上若干等分的抓条能够交错镶嵌于鼓筒内若干等分的栅条之间,基于转轴的往复回转运动,抓条将鼓筒内的被收集杂物带走,待抓钩转动至鼓筒内的上方区域时,抓条所抓取的被收集杂物在自重作用下跌落至螺旋输送机构中,通过螺旋输送机构将被收集杂物输送至鼓筒外侧的螺旋输送机构出口端,由于收纳件位于螺旋输送机构的出口端的下方,因此,被收集杂物从螺旋输送机构出口端排出后在自重作用下进入收纳件的容纳空间中,实现对被收集杂物的收集。
由此可见,本发明所提供的转鼓格栅除污机结构新颖,颠覆了传统转鼓格栅除污机的工作方式,将鼓筒设置为固定不动的结构,通过抓钩的往复回转运动去清理固定不动的鼓筒内壁中的被收集杂物,不仅减小了因水流冲击鼓筒和鼓筒持续转动所造成的不平衡性,使得整个装置的平衡性得到提升,而且基于这样的设置,使得整个装置在结构上简单了很多,从而降低了产品的制造成本和运行过程中的电耗;同时,基于抓钩的往复回转运动,使抓条主动的将鼓筒内的固体杂物带走,从而保证了较高的固体杂物的去除率,提高了转鼓格栅除污机的污水处理效果。
(发明人:刘腾飞;刘昀;王磊;范勇;王晨;徐新兴)






