公布日:2024.04.16
申请日:2024.01.23
分类号:F25B30/06(2006.01)I;B01D36/04(2006.01)I;B01D21/04(2006.01)I;B01D21/24(2006.01)I;C02F1/00(2023.01)I;C02F1/52(2023.01)I;B02C4/08(2006.01)I;B02C4/
30(2006.01)I;F25B30/02(2006.01)I;F25B49/02(2006.01)I
摘要
本发明公开了一种应用于污水厂的水源热泵装置,安装在用于沉砂池向沉淀池通入水流的沉砂管道上,包括:除污器,用于截流选取沉砂管道部分水流进行除污除杂处理并将处理后水流送入换热器;换热器,通过水流输送管道将水流送回沉砂管道;热泵机组,通过中介水管道与换热器连接,用于通过冷热水管道向供热设备供热;供热设备,部分热能通过热量传输管道与除污器连接用于加快除污器除污除杂处理的效率。本发明能够循环进行污水处理,代替污水厂除污流程中的一级沉淀池节省污水厂除污步骤,提高污水处理效果,同时本发明数量设置多个,可以大大提高热泵供热效果,进而在提高污水厂供能效果的同时进一步提升除污器污水处理效率。

权利要求书
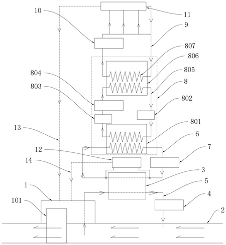
1.一种应用于污水厂的水源热泵装置,安装在用于沉砂池向沉淀池通入水流的沉砂管道(2)上,设置有多个且分别设置在沉砂管道(2)的不同段,其特征在于,包括:除污器(1),设置在沉砂管道(2)上,用于截流选取沉砂管道(2)部分水流进行除污除杂处理并将处理后水流送入换热器(3);换热器(3),与除污器(1)连接,且通过安装有污水循环泵(4)的水流输送管道(5)将水流送回沉砂管道(2);热泵机组(8),通过安装有中介水循环泵(7)的中介水管道(6)与换热器(3)连接,用于通过安装有冷热水循环泵(10)的冷热水管道(9)向供热设备(11)供热;供热设备(11),一部分热能用于污水厂,一部分热能通过热量传输管道(13)与除污器(1)连接用于加快除污器(1)除污除杂处理的效率;水流通过除污器(1)截流进行除污除杂处理后,依次经过换热器(3)和水流输送管道(5)重新回到沉砂管道(2),且沿流动方向重新回到除污器(1)截流水流部分;所述除污器(1)内部设置有空腔(106)和数据处理器(110),所述空腔(106)内安装有用于污水除污除杂处理的污水净化结构(107)、与热量传输管道(13)连接用于提高污水净化结构(107)除污除杂效率的净化辅助结构(108)、一端与沉砂管道(2)连通的输送管路(102)和安装在输送管路(102)另一端用于将沉砂管道(2)内水流通过输送管路(102)送入污水净化结构(107)的抽水泵(103);所述污水净化结构(107)通过连接管道(109)将水流送入换热器(3);所述输送管路(102)底部设置有用于截流水流的拦截栅格网(101),所述输送管路(102)内部设置有过滤栅格网(104);所述污水净化结构(107)包括除污沉淀池(1072)、设置在抽水泵(103)送水端下方的初步沉淀池(1071)、位于初步沉淀池(1071)顶端用于向初步沉淀池(1071)内投入药剂的投药仓(1075)和用于除污沉淀池(1072)底部稳定安装在空腔(106)内的支撑底座(1078);所述除污沉淀池(1072)一边通过向上延伸设置的漫水挡板(1079)安装固定有初步沉淀池(1071),所述初步沉淀池(1071)和除污沉淀池(1072)底部均设置有沉淀挤出组件(1076)和用于将沉淀物送入沉淀挤出组件(1076)的倾斜部(1073),所述除污沉淀池(1072)的倾斜部(1073)上还滑动设置有刮刀组件(1074);所述连接管道(109)底端位于除污沉淀池(1072)内且内侧设置有滤网(1091),所述连接管道(109)顶端位于换热器(3)内且与水流输送管道(5)连接;所述刮刀组件(1074)包括沿倾斜部(1073)倾斜方向开设在除污沉淀池(1072)上的刮刀滑动通孔(10741)、穿过且沿倾斜部(1073)倾斜方向滑动在刮刀滑动通孔(10741)内的安装轴(10743)、设置在刮刀滑动通孔(10741)内侧且与安装轴(10743)连接的刮刀防水橡胶膜(10742)、安装在安装轴(10743)一端的连接滑块(10744)、开设在连接滑块(10744)内部的压块滑槽(10747)、滑动在压块滑槽(10747)内的滑动压块(10746)、设置在滑动压块(10746)底端用于滑动穿过连接滑块(10744)的滑动杆(10745)、位于压块滑槽(10747)内用于挤压滑动压块(10746)向下受力的挤压弹簧(10748)和安装在滑动杆(10745)底端用于贴合在倾斜部(1073)内侧壁的刮刀主体(10749);所述净化辅助结构(108)包括位于空腔(106)内用于连接热量传输管道(13)底部的安装壳体(1081)、开设在安装壳体(1081)内用于存放蒸发液体的蒸汽腔体(1083)、设置在热量传输管道(13)底部且位于蒸汽腔体(1083)底端用于加热蒸发液体的热量集中部(1082)、转动设置在蒸汽腔体(1083)顶部的蒸汽转轮(1085)、安装在蒸汽转轮(1085)上用于液体蒸发上升带动蒸汽转轮(1085)转动的多个转轮挡板(1086)、安装在安装壳体(1081)外部的同步带轮(1088)和安装在蒸汽转轮(1085)上用于同轴驱动同步带轮(1088)运转的连接转轴(1087);所述同步带轮(1088)一端带轮上铰接设置有轴架(1089)的一端,所述轴架(1089)的另一端铰接设置在安装轴(10743)上,用于同步带轮(1088)驱动运转过程中带动安装轴(10743)在刮刀滑动通孔(10741)内往复滑动;所述热量传输管道(13)上还分支设置有螺旋套合在除污沉淀池(1072)上的缠绕导热管(1084),用于加快除污沉淀池(1072)沉淀除污效率。
2.如权利要求1所述的应用于污水厂的水源热泵装置,其特征在于,所述沉淀挤出组件(1076)包括位于倾斜部(1073)底端用于向上倾斜延伸至除污器(1)外部的挤出管道(10761)、安装在挤出管道(10761)位于除污器(1)外部一端的驱动电机(10762)、设置在驱动电机(10762)驱动端上且转动在挤出管道(10761)内部的驱动转轴(10763)、安装在驱动转轴(10763)上且贴合滑动在挤出管道(10761)内壁的螺旋叶片板(10764)、设置在挤出管道(10761)位于除污器(1)外部一端的开口(10765);所述除污器(1)外部还设置有位于开口(10765)底部用于收集沉淀物的倾斜收集槽(1077)。
3.如权利要求1所述的应用于污水厂的水源热泵装置,其特征在于,所述投药仓(1075)底部设置有用于药剂向下投放的电磁喷头(10752),所述投药仓(1075)顶部设置在除污器(1)顶端且铰接有盖板(10751)。
4.如权利要求3所述的应用于污水厂的水源热泵装置,其特征在于,所述输送管路(102)上还设置有用于过滤栅格网(104)网孔疏通的疏通结构(105),所述疏通结构(105)包括开设在空腔(106)侧壁的凹槽(1056)、用于移动至过滤栅格网(104)处疏通网孔的移动破碎组件(1052)、用于安装移动破碎组件(1052)的驱动安装块(1053)、设置在凹槽(1056)内用于控制沿输送管路(102)长度方向滑动的电动导轨(1054)和设置在凹槽(1056)内用于移动破碎组件(1052)移动至过滤栅格网(104)状态下按压触发的触压按钮(1055),所述触压按钮(1055)触发状态下电性控制电磁喷头(10752)驱动。
5.如权利要求4所述的应用于污水厂的水源热泵装置,其特征在于,所述移动破碎组件(1052)包括安装在驱动安装块(1053)上的安装连轴(10526)、两组转动安装在安装连轴(10526)上且相互啮合的齿轮主体(10523)、沿长度方向开设在输送管路(102)上的两组管道滑动通孔(10528)、穿过且沿输送管路(102)长度方向滑动在管道滑动通孔(10528)内用于转动套设在齿轮主体(10523)转轴上的齿轮轴套筒(10524)、设置在管道滑动通孔(10528)内侧且与齿轮轴套筒(10524)连接的管道防水橡胶膜(10529)、用于齿轮主体(10523)转轴转动穿过的两组连接支架(10521)、位于两组连接支架(10521)中间用于齿轮主体(10523)同轴转动的两组圆形锯柱(10522)、设置在输送管路(102)侧壁上的限位凸起(10527)和开设在限位凸起(10527)内用于限位连接支架(10521)一端沿输送管路(102)长度方向滑动的限位滑槽(10525);所述输送管路(102)内部位于过滤栅格网(104)下方还设置有集水凸块(1051),用于移动破碎组件(1052)移动至过滤栅格网(104)状态下控制水流集中通过两组圆形锯柱(10522)之间间隙。
6.如权利要求4所述的应用于污水厂的水源热泵装置,其特征在于,所述换热器(3)内管道两端均设置有温度传感器(12)的探头,所述温度传感器(12)感应换热器(3)内管道两端温度差且用于通过信号传输线路(14)和数据处理器(110)控制电动导轨(1054)运转。
发明内容
本发明的主要目的在于提供一种应用于污水厂的水源热泵装置,能够利用热水水泵产生的热能供污水处理结构运转,以实现再生水源在水源热泵内循环时提高污水处理效果,同时还能够进一步作为污水净化装置使用,并在污水循环进行热泵供能过程中将污水内杂质进行沉淀净化排除。
本发明采用以下技术方案解决上述技术问题:
一种应用于污水厂的水源热泵装置,安装在用于沉砂池向沉淀池通入水流的沉砂管道上,设置有多个且分别设置在沉砂管道的不同段,包括:
除污器,设置在沉砂管道上,用于截流选取沉砂管道部分水流进行除污除杂处理并将处理后水流送入换热器;
换热器,与除污器连接,且通过安装有污水循环泵的水流输送管道将水流送回沉砂管道;
热泵机组,通过安装有中介水循环泵的中介水管道与换热器连接,用于通过安装有冷热水循环泵的冷热水管道向供热设备供热;
供热设备,一部分热能用于污水厂,一部分热能通过热量传输管道与除污器连接用于加快除污器除污除杂处理的效率;
水流通过除污器截流进行除污除杂处理后,依次经过换热器和水流输送管道重新回到沉砂管道,且沿流动方向重新回到除污器截流水流部分。
优选的,所述除污器内部设置有空腔和数据处理器,所述空腔内安装有用于污水除污除杂处理的污水净化结构、与热量传输管道连接用于提高污水净化结构除污除杂效率的净化辅助结构、一端与沉砂管道连通的输送管路和安装在输送管路另一端用于将沉砂管道内水流通过输送管路送入污水净化结构的抽水泵;
所述污水净化结构通过连接管道将水流送入换热器;
所述输送管路底部设置有用于截流水流的拦截栅格网,所述输送管路内部设置有过滤栅格网。
优选的,所述污水净化结构包括除污沉淀池、设置在抽水泵送水端下方的初步沉淀池、位于初步沉淀池顶端用于向初步沉淀池内投入药剂的投药仓和用于除污沉淀池底部稳定安装在空腔内的支撑底座;
所述除污沉淀池一边通过向上延伸设置的漫水挡板安装固定有初步沉淀池,所述初步沉淀池和除污沉淀池底部均设置有沉淀挤出组件和用于将沉淀物送入沉淀挤出组件的倾斜部,所述除污沉淀池的倾斜部上还滑动设置有刮刀组件;
所述连接管道底端位于除污沉淀池内且内侧设置有滤网,所述连接管道顶端位于换热器内且与水流输送管道连接。
优选的,所述刮刀组件包括沿倾斜部倾斜方向开设在除污沉淀池上的刮刀滑动通孔、穿过且沿倾斜部倾斜方向滑动在刮刀滑动通孔内的安装轴、设置在刮刀滑动通孔内侧且与安装轴连接的刮刀防水橡胶膜、安装在安装轴一端的连接滑块、开设在连接滑块内部的压块滑槽、滑动在压块滑槽内的滑动压块、设置在滑动压块底端用于滑动穿过连接滑块的滑动杆、位于压块滑槽内用于挤压滑动压块向下受力的挤压弹簧和安装在滑动杆底端用于贴合在倾斜部内侧壁的刮刀主体。
优选的,所述净化辅助结构包括位于空腔内用于连接热量传输管道底部的安装壳体、开设在安装壳体内用于存放蒸发液体的蒸汽腔体、设置在热量传输管道底部且位于蒸汽腔体底端用于加热蒸发液体的热量集中部、转动设置在蒸汽腔体顶部的蒸汽转轮、安装在蒸汽转轮上用于液体蒸发上升带动蒸汽转轮转动的多个转轮挡板、安装在安装壳体外部的同步带轮和安装在蒸汽转轮上用于同轴驱动同步带轮运转的连接转轴;
所述同步带轮一端带轮上铰接设置有轴架的一端,所述轴架的另一端铰接设置在安装轴上,用于同步带轮驱动运转过程中带动安装轴在刮刀滑动通孔内往复滑动;
所述热量传输管道上还分支设置有螺旋套合在除污沉淀池上的缠绕导热管,用于加快除污沉淀池沉淀除污效率。
优选的,所述沉淀挤出组件包括位于倾斜部底端用于向上倾斜延伸至除污器外部的挤出管道、安装在挤出管道位于除污器外部一端的驱动电机、设置在驱动电机驱动端上且转动在挤出管道内部的驱动转轴、安装在驱动转轴上且贴合滑动在挤出管道内壁的螺旋叶片板、设置在挤出管道位于除污器外部一端的开口;
所述除污器外部还设置有位于开口底部用于收集沉淀物的倾斜收集槽。
优选的,所述投药仓底部设置有用于药剂向下投放的电磁喷头,所述投药仓顶部设置在除污器顶端且铰接有盖板。
优选的,所述输送管路上还设置有用于过滤栅格网网孔疏通的疏通结构,所述疏通结构包括开设在空腔侧壁的凹槽、用于移动至过滤栅格网处疏通网孔的移动破碎组件、用于安装移动破碎组件的驱动安装块、设置在凹槽内用于控制沿输送管路长度方向滑动的电动导轨和设置在凹槽内用于移动破碎组件移动至过滤栅格网状态下按压触发的触压按钮,所述触压按钮触发状态下电性控制电磁喷头驱动。
优选的,所述移动破碎组件包括安装在驱动安装块上的安装连轴、两组转动安装在安装连轴上且相互啮合的齿轮主体、沿长度方向开设在输送管路上的两组管道滑动通孔、穿过且沿输送管路长度方向滑动在管道滑动通孔内用于转动套设在齿轮主体转轴上的齿轮轴套筒、设置在管道滑动通孔内侧且与齿轮轴套筒连接的管道防水橡胶膜、用于齿轮主体转轴转动穿过的两组连接支架、位于两组连接支架中间用于齿轮主体同轴转动的两组圆形锯柱、设置在输送管路侧壁上的限位凸起和开设在限位凸起内用于限位连接支架一端沿输送管路长度方向滑动的限位滑槽;
所述输送管路内部位于过滤栅格网下方还设置有集水凸块,用于移动破碎组件移动至过滤栅格网状态下控制水流集中通过两组圆形锯柱之间间隙。
优选的,所述圆形锯柱由转动安装在齿轮主体转轴上的柱块和多组安装在柱块上的圆形锯片组成,水流通过锯片两组圆形锯柱之间间隙时能够利用圆形锯片的锯齿带动圆形锯柱整体转动,进而控制两组圆形锯柱反向转动完成过滤栅格网网孔的堵塞物破碎操作。
优选的,所述换热器内管道两端均设置有温度传感器的探头,所述温度传感器感应换热器内管道两端温度差且用于通过信号传输线路和数据处理器控制电动导轨运转。
优选的,所述热泵机组由环形闭合的热泵水管道、位于热泵水管道一端用于与中介水管道连接的蒸发器、位于热泵水管道另一端用于与冷热水管道连接的冷凝器和安装在热泵水管道上的压缩机、膨胀阀、热泵水循环泵组成,且所述蒸发器和冷凝器内部管道均设置有螺旋连接部用于提高换热效率。
本发明提供了一种应用于污水厂的水源热泵装置。与现有技术相比本发明的有益效果体现在:
1.由于水流通过除污器截流进行除污除杂处理后重新回到沉砂管道,且沿流动方向重新回到除污器截流水流部分,因此本发明在沉砂管道上设置为多个且分别设置在不同段上,能够循环进行污水处理,代替污水厂除污流程中的一级沉淀池节省污水厂除污步骤,提高污水处理效果,同时本发明数量设置多个,可以大大提高热泵供热效果,进而在提高污水厂供能效果的同时进一步提升除污器污水处理效率。
2.本发明通过在水流输送管道与热泵机组之间设置换热器和中介水管道,能够防止沉砂管道内部污水直接进入热泵机组内造成热泵机组管道出现沉淀淤积的现象,避免热泵机组的管道结构堵塞出现堵塞情况,从而确保热泵机组的结构运转安全性,保证热泵机组的正常运转,延长热泵机组的使用寿命。
3.本发明使用热泵机组加热后供热设备的部分热量作为能源驱动除污器内的刮刀组件活动运转,既能够节省驱动资源控制沉淀物进入沉淀挤出组件排出,又能够控制加热除污沉淀池进行水体升温操作,在省力的同时提高除污沉淀池的沉淀效果,从而进一步提高污水厂的除污过滤效率。
4.本发明通过在过滤栅格网下方设置集水凸块能够在移动破碎组件移动至过滤栅格网状态下控制水流集中通过两组圆形锯柱之间间隙,进而控制两组圆形锯柱反向转动完成过滤栅格网网孔的堵塞物破碎操作,因此能够通过水流流动控制过滤栅格网网孔进行堵塞物破碎疏通,结构简单,方便实用,大大节省了过滤栅格网网孔的堵塞物破碎时的驱动源。
5.本发明通过在换热器两端设置温度传感器,利用温度差能够有效监控换热器是否正常工作,进而有效监控除污器或污水循环泵管道是否发生堵塞,并控制电动导轨运转让移动破碎组件移动至过滤栅格网进行快速疏通,从而保证该水源热泵装置的正常使用效果。
6.本发明通过在凹槽内设置触压按钮,能够在过滤栅格网网孔堵塞状态下控制移动破碎组件移动至过滤栅格网时按压触发触压按钮,从而电性控制电磁喷头驱动,将投药仓内例如絮凝剂一类用于提高沉淀效果或质量的化学药剂投加送入初步沉淀池内完成初步沉淀操作,保证堵塞物能够在污水净化结构内正常沉淀排出。
(发明人:阮祥;周露;史勤恺;赵小峰;许剑波;冒海文;王潇)






