公布日:2023.09.12
申请日:2023.06.26
分类号:C02F11/14(2019.01)I;C02F11/13(2019.01)I;C02F11/121(2019.01)I;B01D53/04(2006.01)I;B01D53/28(2006.01)I;C02F103/20(2006.01)N
摘要
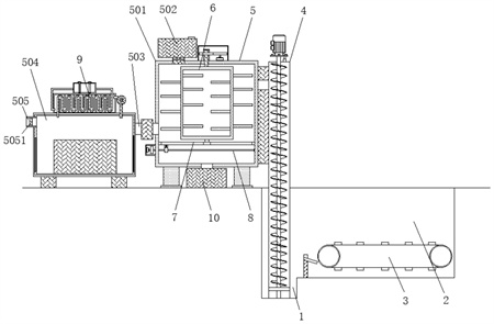
本发明公开了一种水产养殖自动排污装置,所述排污烘干装置包括滤水筒,且滤水筒顶部通过第一连接管与投药筒相连接,滤水筒内部设置有搅拌机构,所述搅拌机构一端在滤布机构内转动,滤水筒内部安装有与滤布机构配合使用的清洁刷机构,滤水筒一侧通过第二连接管与烘干筒相连接,第二连接管上安装有泥污泵,烘干筒顶部安装有循环加热机构,烘干筒一侧开设有排气口,且排气口内部安装有气体吸附棉。该水产养殖自动排污装置,本装置为解决水产养殖自动排污装置无法对排出的污泥以及排泄物进行烘干的问题,通过将垂直输送装置与排污烘干装置相连接,污泥以及排泄物进入滤水筒内进行搅拌初步滤水,滤水完成通过第二连接管进入烘干筒内部进行加热烘干。

权利要求书
1.一种水产养殖自动排污装置,包括沉砂池(1),所述沉砂池(1)设置在养殖池(2)的底部的一侧,且养殖池(2)底部安装有水平输送装置(3),所述沉砂池(1)内部设置有垂直输送装置(4),且垂直输送装置(4)与排污烘干装置(5)相连接,其特征在于:所述排污烘干装置(5)包括滤水筒(501),且滤水筒(501)顶部通过第一连接管与投药筒(502)相连接,所述滤水筒(501)内部设置有搅拌机构(6),所述搅拌机构(6)一端在滤布机构(7)内转动,所述滤水筒(501)内部安装有与滤布机构(7)配合使用的清洁刷机构(8),所述滤水筒(501)一侧通过第二连接管(503)与烘干筒(504)相连接,且第二连接管(503)上安装有泥污泵,所述烘干筒(504)顶部安装有循环加热机构(9),所述烘干筒(504)一侧开设有排气口(505),且排气口(505)内部安装有气体吸附棉(5051)。
2.根据权利要求1所述的一种水产养殖自动排污装置,其特征在于:所述滤水筒(501)进污口与垂直输送装置(4)排污口相连通。
3.根据权利要求1所述的一种水产养殖自动排污装置,其特征在于:所述搅拌机构(6)包括第一电机(601),且第一电机(601)位于滤水筒(501)外侧顶部,所述第一电机(601)输出端安装有第一齿轮(602),且第一齿轮(602)外侧与第二齿轮(603)相啮合,所述第二齿轮(603)内侧连接有转杆(604),且转杆(604)一端贯穿至滤水筒(501)内部与矩形搅拌杆(605)相连接,所述矩形搅拌杆(605)外侧安装有若干组搅拌叶(606),且矩形搅拌杆(605)一端在滤布机构(7)内部转动。
4.根据权利要求1所述的一种水产养殖自动排污装置,其特征在于:所述滤布机构(7)包括安装框(701),且安装框(701)安装有滤布(7011),所述安装框(701)内侧通过对称设置的安装杆(702)与安装块(703)相连接,所述安装块(703)内部设置有轴承,且矩形搅拌杆(605)一端在安装块(703)内部设置的轴承内转动。
5.根据权利要求1所述的一种水产养殖自动排污装置,其特征在于:所述清洁刷机构(8)包括第二电机(801),且第二电机(801)位于滤水筒(501)外侧设置的防护槽内侧,所述第二电机(801)输出端安装有双槽主动轮(802),且双槽主动轮(802)通过传动带(803)与两侧设置的从动轮(804)相连接,所述从动轮(804)内侧与对称设置的螺纹杆机构(805)相连接,且螺纹杆机构(805)一端贯穿至滤水筒(501)内部,所述螺纹杆机构(805)之间通过清洁杆刷(806)相连接,且清洁杆刷(806)与滤水筒(501)内侧滑动连接。
6.根据权利要求1所述的一种水产养殖自动排污装置,其特征在于:所述滤水筒(501)底部开设有排水口,且排水口与集水箱(10)相连接。
7.根据权利要求1所述的一种水产养殖自动排污装置,其特征在于:所述烘干筒(504)包括筒体(5041),且筒体(5041)内部开设有安装槽,所述安装槽内部设置有加热丝(5042),且加热丝(5042)外侧安装有导热板(5043),所述筒体(5041)外侧设置有隔热层(5044)。
8.根据权利要求1所述的一种水产养殖自动排污装置,其特征在于:所述循环加热机构(9)包括集气箱(901),且集气箱(901)一侧安装有风机(902),所述风机(902)进气端通过进气管与烘干筒(504)内部相连接,且风机(902)出气端通过出气管与集气箱(901)内部相连接,所述集气箱(901)内部设置有S型输送管(903),且S型输送管(903)一端与烘干筒(504)内部相连接,另一端贯穿至集气箱(901)外侧与其顶部设置的净化箱(904)相连接,所述净化箱(904)另一端通过输送管(905)与集气箱(901)内部相连通,所述集气箱(901)内部安装有若干组与S型输送管(903)相匹配的折流板(906)。9.根据权利要求8所述的一种水产养殖自动排污装置,其特征在于:所述净化箱(904)包括箱体(9041),所述箱体(9041)内部设置有若干组活性炭吸附层(9042)以及吸水棉层(9043),且箱体(9041)顶部安装有与活性炭吸附层(9042)以及吸水棉层(9043)相匹配的更换口。
发明内容
本发明的目的在于提供一种水产养殖自动排污装置,以解决上述背景技术中提出的水产养殖自动排污装置无法对排出的污泥以及排泄物进行烘干的问题。
为实现上述目的,本发明提供如下技术方案:一种水产养殖自动排污装置,包括沉砂池,所述沉砂池设置在养殖池的底部的一侧,且养殖池底部安装有水平输送装置,所述沉砂池内部设置有垂直输送装置,且垂直输送装置与排污烘干装置相连接,所述排污烘干装置包括滤水筒,且滤水筒顶部通过第一连接管与投药筒相连接,所述滤水筒内部设置有搅拌机构,所述搅拌机构一端在滤布机构内转动,所述滤水筒内部安装有与滤布机构配合使用的清洁刷机构,所述滤水筒一侧通过第二连接管与烘干筒相连接,且第二连接管上安装有泥污泵,所述烘干筒顶部安装有循环加热机构,所述烘干筒一侧开设有排气口,且排气口内部安装有气体吸附棉。
优选的,所述滤水筒进污口与垂直输送装置排污口相连通。
通过上述技术方案:便于污泥以及排泄物进入滤水筒内部。
优选的,所述搅拌机构包括第一电机,且第一电机位于滤水筒外侧顶部,所述第一电机输出端安装有第一齿轮,且第一齿轮外侧与第二齿轮相啮合,所述第二齿轮内侧连接有转杆,且转杆一端贯穿至滤水筒内部与矩形搅拌杆相连接,所述矩形搅拌杆外侧安装有若干组搅拌叶,且矩形搅拌杆一端在滤布机构内部转动。
通过上述技术方案:便于对污泥以及排泄物进行搅拌。
优选的,所述滤布机构包括安装框,且安装框安装有滤布,所述安装框内侧通过对称设置的安装杆与安装块相连接,所述安装块内部设置有轴承,且矩形搅拌杆一端在安装块内部设置的轴承内转动。
通过上述技术方案:便于对污泥以及排泄物中的水进行过滤。
优选的,所述清洁刷机构包括第二电机,且第二电机位于滤水筒外侧设置的防护槽内侧,所述第二电机输出端安装有双槽主动轮,且双槽主动轮通过传动带与两侧设置的从动轮相连接,所述从动轮内侧与对称设置的螺纹杆机构相连接,且螺纹杆机构一端贯穿至滤水筒内部,所述螺纹杆机构之间通过清洁杆刷相连接,且清洁杆刷与滤水筒内侧滑动连接。
通过上述技术方案:便于对滤布进行清洁。
优选的,所述滤水筒底部开设有排水口,且排水口与集水箱相连接。
通过上述技术方案:便于对过滤水进行收集。
优选的,所述烘干筒包括筒体,且筒体内部开设有安装槽,所述安装槽内部设置有加热丝,且加热丝外侧安装有导热板,所述筒体外侧设置有隔热层。
通过上述技术方案:便于对烘干筒内部进行加热。
优选的,所述循环加热机构包括集气箱,且集气箱一侧安装有风机,所述风机进气端通过进气管与烘干筒内部相连接,且风机出气端通过出气管与集气箱内部相连接,所述集气箱内部设置有S型输送管,且S型输送管一端与烘干筒内部相连接,另一端贯穿至集气箱外侧与其顶部设置的净化箱相连接,所述净化箱另一端通过输送管与集气箱内部相连通,所述集气箱内部安装有若干组与S型输送管相匹配的折流板。
通过上述技术方案:便于进行循环加热。
优选的,所述净化箱包括箱体,所述箱体内部设置有若干组活性炭吸附层以及吸水棉层,且箱体顶部安装有与活性炭吸附层以及吸水棉层相匹配的更换口。
通过上述技术方案:便于进行净化吸湿。
与现有技术相比,本发明的有益效果是:该水产养殖自动排污装置,
(1)本装置为解决水产养殖自动排污装置无法对排出的污泥以及排泄物进行烘干的问题,通过将垂直输送装置与排污烘干装置相连接,垂直输送装置从排污口排出的污泥以及排泄物进入滤水筒内部进行搅拌初步滤水,滤水完成的污泥以及排泄物通过第二连接管进入烘干筒内部进行加热烘干。
(2)本装置为解决滤布机构在使用过程中容易被污泥以及排泄物堵塞的问题,通过在滤水筒内部安装有与滤布机构配合使用的清洁刷机构,当滤布堵塞时,可通过清洁杆刷的移动对滤布机构进行清洁。
(3)本装置为解决烘干筒烘干效率较低的问题,通过在烘干筒顶部安装有循环加热机构,风机可以将烘干筒内的热废气和水蒸气输送至集气箱内部,从而通过输送管进入净化箱内部进行净化吸湿,净化吸湿后的气体通过S型输送管再次进入烘干筒内部对污泥以及排泄物进行烘干。
(4)本装置为解决烘干筒在烘干过程中容易排出有害气体对外界环境造成影响的问题,通过在烘干筒顶部安装有循环加热机构,循环加热机构可以对烘干筒内部产生的废气进行一定程度的净化,同时在烘干筒一侧开设有排气口,且排气口内部安装有气体吸附棉。
(发明人:夏正东)






