公布日:2023.09.08
申请日:2023.06.29
分类号:C02F11/125(2019.01)I;B01D29/64(2006.01)I;B01D29/68(2006.01)I
摘要
本发明公开了一种叠螺污泥脱水机及其使用方法,涉及叠螺污泥脱水机技术领域,包括叠螺污泥脱水机壳体,所述叠螺污泥脱水机壳体的一端安装有第一驱动电机,所述第一驱动电机的输出端连接有螺杆,所述叠螺污泥脱水机壳体的进料口处固定连接有进料管,滤板,喷气冲料机构;的排渣辅助器;提升回流件。本发明通过设置提升回流件,当污泥落入到排料仓内部时,在第二斜槽的作用下划入到排料仓的底部,通过第二驱动电机输出端驱动螺旋送料杆旋转,将污泥提升到第一连接壳内部,通过第一斜槽的作用下排入到叠螺污泥脱水机壳体内部进行重复脱水,无需工作人员进行手动操作,进而提高了装置整体的实用性。

权利要求书
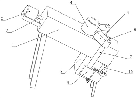
1.一种叠螺污泥脱水机,包括叠螺污泥脱水机壳体(1),其特征在于,所述叠螺污泥脱水机壳体(1)的一端安装有第一驱动电机(2),所述第一驱动电机(2)的输出端连接有螺杆(3),所述叠螺污泥脱水机壳体(1)的进料口处固定连接有进料管(4),所述叠螺污泥脱水机壳体(1)排水口处固定连接有第二连接壳(8),所述第二连接壳(8)的内侧安装有倾斜设置的滤板(17),所述滤板(17)的底端位于所述第二连接壳(8)的内侧设置有喷气冲料机构;所述第二连接壳(8)的两侧固定连接有第三连接壳(10),所述第三连接壳(10)的内侧设置有延伸至所述第二连接壳(8)内部的排渣辅助器;所述第三连接壳(10)的底端固定连接有排料仓(9),所述排料仓(9)的内部设置有贯穿至所述叠螺污泥脱水机壳体(1)顶端的提升回流件;所述排渣辅助器包括设置在所述滤板(17)顶端的清理块(13),所述第三连接壳(10)的内侧滑动连接有挡板(15),所述挡板(15)的内侧设置有贯穿至所述第三连接壳(10)内部的卡接组件;所述排渣辅助器还包括固定连接在所述第三连接壳(10)一端的连座(40),所述连座(40)的一侧安装有第三驱动电机(41),所述第三驱动电机(41)的输出端连接有收卷辊(39),所述收卷辊(39)的外壁收卷有第一拉扯绳(16),所述第一拉扯绳(16)的一端与所述清理块(13)固定连接排料仓(9)的顶端开设有与所述第三连接壳(10)相通的导料槽(47),所述第三连接壳(10)的内侧固定连接有第一矩形套块(44),所述第一矩形套块(44)的内侧滑动连接有矩形块(43),所述矩形块(43)的一端固定与所述挡板(15)固定连接,所述矩形块(43)的另一端固定连接有牵引弹簧(45),所述牵引弹簧(45)的一端与所述第三连接壳(10)固定连接,所述导料槽(47)的内侧与所述挡板(15)的底端设置有搅动疏通组件;所述喷气冲料机构包括开设在所述第二连接壳(8)内侧的引导槽(20),所述引导槽(20)的内侧滑动连接有T形滑座(18),所述T形滑座(18)的两侧均固定连接有第二拉扯绳(19),所述第二拉扯绳(19)的一端贯穿至所述第二连接壳(8)的外部与所述收卷辊(39)固定连接,所述第二连接壳(8)的两侧外壁均固定连接有一个固定架(36),所述固定架(36)的内侧转动连接有导轮(38),所述第二拉扯绳(19)贴合在所述导轮(38)的外壁,所述T形滑座(18)的内侧固定连接有导气管(21),所述T形滑座(18)的一侧外壁安装有抽气泵(25),所述抽气泵(25)的输出端与所述导气管(21)进气口处连接,所述导气管(21)的排气口处固定连接有波纹管(23),所述波纹管(23)的顶端固定连接有喷气头(22),所述喷气头(22)位于所述滤板(17)的下方。
2.根据权利要求1所述的一种叠螺污泥脱水机,其特征在于,所述清理块(13)的一侧外壁固定连接有引导块(14),所述第二连接壳(8)的内侧开设有与所述引导块(14)相匹配的限位引导槽。
3.根据权利要求2所述的一种叠螺污泥脱水机,其特征在于,所述卡接组件包括滑动连接在所述挡板(15)内侧的卡块(42),所述卡块(42)的内侧开设有第三斜槽(53),所述卡块(42)的顶端贯穿至所述第三连接壳(10)的内部,所述卡块(42)的底端固定连接有第一复位弹簧(51),所述第一复位弹簧(51)的一端与所述挡板(15)固定连接,所述挡板(15)的一侧外壁固定连接有第二矩形套块(49),所述第二矩形套块(49)的内侧滑动连接有L形滑杆(48),所述L形滑杆(48)的一端固定连接有第二复位弹簧(52),所述第二复位弹簧(52)的一端与所述挡板(15)固定连接,所述L形滑杆(48)的内侧固定连接有动力杆(50),所述动力杆(50)的一端贯穿至所述卡块(42)的内侧转动连接有动力轮(54),所述动力轮(54)贴合在所述第三斜槽(53)上。
4.根据权利要求3所述的一种叠螺污泥脱水机,其特征在于,所述提升回流件包括开设在所述排料仓(9)内侧的第二斜槽(35),所述排料仓(9)的顶端固定连接有套筒(7),所述套筒(7)的顶端固定连接有第一连接壳(5),所述第一连接壳(5)的内侧开设有与所述叠螺污泥脱水机壳体(1)进料口相通的第一斜槽(12),所述第一连接壳(5)的顶端安装有第二驱动电机(6),所述第二驱动电机(6)的输出端连接有螺旋送料杆(11),所述螺旋送料杆(11)的一端贯穿至所述排料仓(9)储料口中并位于所述第二斜槽(35)的一侧。
5.根据权利要求4所述的一种叠螺污泥脱水机,其特征在于,所述搅动疏通组件包括设置在所述第二斜槽(35)内侧的梯形搅动杆(37),所述梯形搅动杆(37)的顶端固定连接有动力块(46),所述动力块(46)的一端与所述挡板(15)固定连接。
6.根据权利要求5所述的一种叠螺污泥脱水机,其特征在于,所述喷气冲料机构还包括固定连接在所述喷气头(22)外壁的联动杆(24),所述导气管(21)的内侧位于所述联动杆(24)顶端上方固定连接有连接架(29),所述连接架(29)的内侧转动连接有往复丝杆(28),所述联动杆(24)套接在所述往复丝杆(28)上,所述往复丝杆(28)的一端贯穿至所述T形滑座(18)的外壁固定连接有直齿轮(27),所述第二连接壳(8)的内侧固定连接有第一固定块(26),所述第一固定块(26)的一侧固定连接有第二固定块(31),所述第二固定块(31)的内侧转动连接有转轴(32),所述转轴(32)的一端贯穿至所述第二固定块(31)的内侧固定连接有梯形卡齿(30),且所述梯形卡齿(30)与所述直齿轮(27)相啮合,所述转轴(32)的外壁固定连接有扭簧(33),所述扭簧(33)的一端与所述第二固定块(31)固定连接,所述第一固定块(26)的顶端固定连接有定位板(34),所述定位板(34)贴合在所述梯形卡齿(30)的一侧。
7.根据权利要求6所述的一种叠螺污泥脱水机,其特征在于,所述联动杆(24)的内侧设置有与所述往复丝杆(28)相匹配的月牙销,所述连接架(29)的内侧开设有与所述联动杆(24)相匹配的限位滑槽。
8.一种叠螺污泥脱水机使用方法,其特征在于,采用权利要求7所述的一种叠螺污泥脱水机,包括以下步骤:S1、首先,将所述进料管(4)与外界污泥进料管进行连接,使得所述第一驱动电机(2)输出端驱动所述螺杆(3)旋转对含水污泥进行挤压输送,通过所述滤板(17)将进入到所述叠螺污泥脱水机壳体(1)内部过滤的污水排出;S2、启动两个所述第三驱动电机(41),一个所述第三驱动电机(41)输出端正转驱动所述收卷辊(39)旋转对所述第一拉扯绳(16)进行收卷,另一个所述第三驱动电机(41)输出端反转驱动另一个所述收卷辊(39)对另一个所述第一拉扯绳(16)进行释放,从而拉动所述清理块(13)在所述引导块(14)的作用下进行横向移动,当所述清理块(13)将堆积在所述滤板(17)底端的含水污泥推入向所述挡板(15),当所述清理块(13)移动到位于所述挡板(15)一侧的排料口处时,所述清理块(13)继续移动与所述L形滑杆(48)接触时,推动所述L形滑杆(48)通过所述动力杆(50)带动所述动力轮(54)向所述第三斜槽(53)方向进行移动,通过所述第三斜槽(53)的作用下推动所述卡块(42)向下移动收缩到所述挡板(15)内部,使得所述挡板(15)不再被固定,从而使得所述清理块(13)继续移动时推动所述挡板(15)向所述第三连接壳(10)内部移动,当所述清理块(13)与所述挡板(15)内侧污泥位于所述导料槽(47)的上方时,污泥在重力的作用下落入到所述排料仓(9)内部,以此实现了堆积在所述滤板(17)上的污泥自动排料的功能,当所述挡板(15)移动到最大位置时,上述两个所述第三驱动电机(41)输出端进行相反操作,从而能够驱动所述清理块(13)进行反向移动,从而实现了所述清理块(13)进行往复移动的功能;S3、当污泥落入到所述排料仓(9)内部时,在所述第二斜槽(35)的作用下划入到所述排料仓(9)的底部,通过所述第二驱动电机(6)输出端驱动所述螺旋送料杆(11)旋转,将污泥提升到所述第一连接壳(5)内部,通过所述第一斜槽(12)的作用下排入到所述叠螺污泥脱水机壳体(1)内部进行重复脱水,无需工作人员进行手动操作,进而提高了装置整体的实用性;S4、当所述挡板(15)向所述第三连接壳(10)内侧进行移动的同时通过所述动力块(46)带动所述梯形搅动杆(37)在所述第二斜槽(35)内侧进行横向移动,以此通过所述梯形搅动杆(37)对所述第二斜槽(35)内侧的污泥进行搅动,从而避免污泥堆积在所述第二斜槽(35)内侧造成堵塞;S5、两个所述第三驱动电机(41)启动时,一个所述第三驱动电机(41)输出端正转驱动所述收卷辊(39)旋转对所述第一拉扯绳(16)进行收卷,另一个所述第三驱动电机(41)输出端反转驱动另一个所述收卷辊(39)对另一个所述第一拉扯绳(16)进行释放的同时对一个所述第二拉扯绳(19)进行收卷对另一个所述第二拉扯绳(19)进行释放,从而拉动所述T形滑座(18)进行横向移动,通过所述抽气泵(25)将空气输送到所述导气管(21)内部,随后通过所述喷气头(22)喷出高压气体冲击到所述滤板(17)网孔中,以此避免所述滤板(17)网孔中发生堵塞;S6、所述T形滑座(18)进行横向移动的同时带动所述直齿轮(27)进行移动,当所述直齿轮(27)与所述梯形卡齿(30)一侧斜面接触时在所述梯形卡齿(30)一侧斜面的作用下推动所述梯形卡齿(30)通过所述转轴(32)带动所述扭簧(33)进行转动,当所述直齿轮(27)与所述梯形卡齿(30)分离时,所述扭簧(33)不再手动外界的力通过所述转轴(32)带动所述梯形卡齿(30)进行复位,当所述T形滑座(18)进行反向移动时,所述直齿轮(27)与所述梯形卡齿(30)一侧平面接触,由于所述定位板(34)位于所述梯形卡齿(30)的一侧,从而使得所述梯形卡齿(30)受到阻力固定不动,通过所述梯形卡齿(30)驱动所述直齿轮(27)带动所述往复丝杆(28)进行转动,通过以上多个零件的配合实现了驱动所述往复丝杆(28)进行间歇式转动的通过,从而使得所述往复丝杆(28)能够驱动所述联动杆(24)进行间歇式移动,以此使得所述喷气头(22)能够进行间歇式横向往复移动,从而扩大了所述喷气头(22)喷气的范围,使得所述滤板(17)网孔中能够全面的被清理。
发明内容
本发明的目的在于:为了解决滤网网孔容易被堵塞和滤网顶端堆积的污泥无法重复进行脱水的问题,提供一种叠螺污泥脱水机及其使用方法。
为实现上述目的,本发明提供如下技术方案:一种叠螺污泥脱水机,包括叠螺污泥脱水机壳体,所述叠螺污泥脱水机壳体的一端安装有第一驱动电机,所述第一驱动电机的输出端连接有螺杆,所述叠螺污泥脱水机壳体的进料口处固定连接有进料管,所述叠螺污泥脱水机壳体排水口处固定连接有第二连接壳,所述第二连接壳的内侧安装有倾斜设置的滤板,所述滤板的顶端位于所述第二连接壳的内侧设置有喷气冲料机构;所述第二连接壳的两侧固定连接有第三连接壳,所述第三连接壳的内侧设置有延伸至所述第二连接壳内部的排渣辅助器;所述第三连接壳的底端固定连接有排料仓,所述排料仓的内部设置有贯穿至所述叠螺污泥脱水机壳体顶端的提升回流件;所述排渣辅助器包括设置在所述滤板顶端的清理块,所述第三连接壳的内侧滑动连接有挡板,所述挡板的内侧设置有贯穿至所述第三连接壳内部的卡接组件。
作为本发明再进一步的方案:所述排渣辅助器还包括固定连接在所述第三连接壳一端的连座,所述连座的一侧安装有第三驱动电机,所述第三驱动电机的输出端连接有收卷辊,所述收卷辊的外壁收卷有第一拉扯绳,所述第一拉扯绳的一端与所述清理块固定连接排料仓的顶端开设有与所述第三连接壳相通的导料槽,所述第三连接壳的内侧固定连接有第一矩形套块,所述第一矩形套块的内侧滑动连接有矩形块,所述矩形块的一端固定与所述挡板固定连接,所述矩形块的另一端固定连接有牵引弹簧,所述牵引弹簧的一端与所述第三连接壳固定连接,所述导料槽的内侧与所述挡板的底端设置有搅动疏通组件。
作为本发明再进一步的方案:所述清理块的一侧外壁固定连接有引导块,所述第二连接壳的内侧开设有与所述引导块相匹配的限位引导槽。
作为本发明再进一步的方案:所述卡接组件包括滑动连接在所述挡板内侧的卡块,所述卡块的内侧开设有第三斜槽,所述卡块的顶端贯穿至所述第三连接壳的内部,所述卡块的底端固定连接有第一复位弹簧,所述第一复位弹簧的一端与所述挡板固定连接,所述挡板的一侧外壁固定连接有第二矩形套块,所述第二矩形套块的内侧滑动连接有L形滑杆,所述L形滑杆的一端固定连接有第二复位弹簧,所述第二复位弹簧的一端与所述挡板固定连接,所述L形滑杆的内侧固定连接有动力杆,所述动力杆的一端贯穿至所述卡块的内侧转动连接有动力轮,所述动力轮贴合在所述第三斜槽上。
作为本发明再进一步的方案:所述提升回流件包括开设在所述排料仓内侧的第二斜槽,所述排料仓的顶端固定连接有套筒,所述套筒的顶端固定连接有第一连接壳,所述第一连接壳的内侧开设有与所述叠螺污泥脱水机壳体进料口相通的第一斜槽,所述第一连接壳的顶端安装有第二驱动电机,所述第二驱动电机的输出端连接有螺旋送料杆,所述螺旋送料杆的一端贯穿至所述排料仓储料口中并位于所述第二斜槽的一侧。
作为本发明再进一步的方案:所述搅动疏通组件包括设置在所述第二斜槽内侧的梯形搅动杆,所述梯形搅动杆的顶端固定连接有动力块,所述动力块的一端与所述挡板固定连接。
作为本发明再进一步的方案:所述喷气冲料机构包括开设在所述第二连接壳内侧的引导槽,所述引导槽的内侧滑动连接有T形滑座,所述T形滑座的两侧均固定连接有第二拉扯绳,所述第二拉扯绳的一端贯穿至所述第二连接壳的外部与所述收卷辊固定连接,所述第二连接壳的两侧外壁均固定连接有一个固定架,所述固定架的内侧转动连接有导轮,所述第二拉扯绳贴合在所述导轮的外壁,所述T形滑座的内侧固定连接有导气管,所述T形滑座的一侧外壁安装有抽气泵,所述抽气泵的输出端与所述导气管进气口处连接,所述导气管的排气口处固定连接有波纹管,所述波纹管的顶端固定连接有喷气头,所述喷气头位于所述滤板的下方。
作为本发明再进一步的方案:所述喷气冲料机构还包括固定连接在所述喷气头外壁的联动杆,所述导气管的内侧位于所述联动杆顶端上方固定连接有连接架,所述连接架的内侧转动连接有往复丝杆,所述联动杆套接在所述往复丝杆上,所述往复丝杆的一端贯穿至所述T形滑座的外壁固定连接有直齿轮,所述第二连接壳的内侧固定连接有第一固定块,所述第一固定块的一侧固定连接有第二固定块,所述第二固定块的内侧转动连接有转轴,所述转轴的一端贯穿至所述第二固定块的内侧固定连接有梯形卡齿,且所述梯形卡齿与所述直齿轮相啮合,所述转轴的外壁固定连接有扭簧,所述扭簧的一端与所述第二固定块固定连接,所述第一固定块的顶端固定连接有定位板,所述定位板贴合在所述梯形卡齿的一侧。
作为本发明再进一步的方案:所述联动杆的内侧设置有与所述往复丝杆相匹配的月牙销,所述连接架的内侧开设有与所述联动杆相匹配的限位滑槽。
本发明还公开了一种叠螺污泥脱水机使用方法,采用上述一种叠螺污泥脱水机,包括以下步骤:
S1、首先,将所述进料管与外界污泥进料管进行连接,使得所述第一驱动电机输出端驱动所述螺杆旋转对含水污泥进行挤压输送,通过所述滤板将进入到所述叠螺污泥脱水机壳体内部过滤的污水排出;
S2、启动两个所述第三驱动电机,一个所述第三驱动电机输出端正转驱动所述收卷辊旋转对所述第一拉扯绳进行收卷,另一个所述第三驱动电机输出端反转驱动另一个所述收卷辊对另一个所述第一拉扯绳进行释放,从而拉动所述清理块在所述引导块的作用下进行横向移动,当所述清理块将堆积在所述滤板底端的含水污泥推入向所述挡板,当所述清理块移动到位于所述挡板一侧的排料口处时,所述清理块继续移动与所述L形滑杆接触时,推动所述L形滑杆通过所述动力杆带动所述动力轮向所述第三斜槽方向进行移动,通过所述第三斜槽的作用下推动所述卡块向下移动收缩到所述挡板内部,使得所述挡板不再被固定,从而使得所述清理块继续移动时推动所述挡板向所述第三连接壳内部移动,当所述清理块与所述挡板内侧污泥位于所述导料槽的上方时,污泥在重力的作用下落入到所述排料仓内部,以此实现了堆积在所述滤板上的污泥自动排料的功能,当所述挡板移动到最大位置时,上述两个所述第三驱动电机输出端进行相反操作,从而能够驱动所述清理块进行反向移动,从而实现了所述清理块进行往复移动的功能;
S3、当污泥落入到所述排料仓内部时,在所述第二斜槽的作用下划入到所述排料仓的底部,通过所述第二驱动电机输出端驱动所述螺旋送料杆旋转,将污泥提升到所述第一连接壳内部,通过所述第一斜槽的作用下排入到所述叠螺污泥脱水机壳体内部进行重复脱水,无需工作人员进行手动操作,进而提高了装置整体的实用性;
S4、当所述挡板向所述第三连接壳内侧进行移动的同时通过所述动力块带动所述梯形搅动杆在所述第二斜槽内侧进行横向移动,以此通过所述梯形搅动杆对所述第二斜槽内侧的污泥进行搅动,从而避免污泥堆积在所述第二斜槽内侧造成堵塞;
S5、两个所述第三驱动电机启动时,一个所述第三驱动电机输出端正转驱动所述收卷辊旋转对所述第一拉扯绳进行收卷,另一个所述第三驱动电机输出端反转驱动另一个所述收卷辊对另一个所述第一拉扯绳进行释放的同时对一个所述第二拉扯绳进行收卷对另一个所述第二拉扯绳进行释放,从而拉动所述T形滑座进行横向移动,通过所述抽气泵将空气输送到所述导气管内部,随后通过所述喷气头喷出高压气体冲击到所述滤板网孔中,以此避免所述滤板网孔中发生堵塞;
S6、所述T形滑座进行横向移动的同时带动所述直齿轮进行移动,当所述直齿轮与所述梯形卡齿一侧斜面接触时在所述梯形卡齿一侧斜面的作用下推动所述梯形卡齿通过所述转轴带动所述扭簧进行转动,当所述直齿轮与所述梯形卡齿分离时,所述扭簧不再手动外界的力通过所述转轴带动所述梯形卡齿进行复位,当所述T形滑座进行反向移动时,所述直齿轮与所述梯形卡齿一侧平面接触,由于所述定位板位于所述梯形卡齿的一侧,从而使得所述梯形卡齿受到阻力固定不动,通过所述梯形卡齿驱动所述直齿轮带动所述往复丝杆进行转动,通过以上多个零件的配合实现了驱动所述往复丝杆进行间歇式转动的通过,从而使得所述往复丝杆能够驱动所述联动杆进行间歇式移动,以此使得所述喷气头能够进行间歇式横向往复移动,从而扩大了所述喷气头喷气的范围,使得所述滤板网孔中能够全面的被清理。
与现有技术相比,本发明的有益效果是:
1、通过设置排渣辅助器,启动两个第三驱动电机,一个第三驱动电机输出端正转驱动收卷辊旋转对第一拉扯绳进行收卷,另一个第三驱动电机输出端反转驱动另一个收卷辊对另一个第一拉扯绳进行释放,从而拉动清理块在引导块的作用下进行横向移动,当清理块将堆积在滤板底端的含水污泥推入向挡板,当清理块移动到位于挡板一侧的排料口处时,清理块继续移动与L形滑杆接触时,推动L形滑杆通过动力杆带动动力轮向第三斜槽方向进行移动,通过第三斜槽的作用下推动卡块向下移动收缩到挡板内部,使得挡板不再被固定,从而使得清理块继续移动时推动挡板向第三连接壳内部移动,当清理块与挡板内侧污泥位于导料槽的上方时,污泥在重力的作用下落入到排料仓内部,以此实现了堆积在滤板上的污泥自动排料的功能;
2、通过设置提升回流件,当污泥落入到排料仓内部时,在第二斜槽的作用下划入到排料仓的底部,通过第二驱动电机输出端驱动螺旋送料杆旋转,将污泥提升到第一连接壳内部,通过第一斜槽的作用下排入到叠螺污泥脱水机壳体内部进行重复脱水,无需工作人员进行手动操作,进而提高了装置整体的实用性;
3、通过设置搅动疏通组件,当挡板向第三连接壳内侧进行移动的同时通过动力块带动梯形搅动杆在第二斜槽内侧进行横向移动,以此通过梯形搅动杆对第二斜槽内侧的污泥进行搅动,从而避免污泥堆积在第二斜槽内侧造成堵塞;
4、通过设置喷气冲料机构,两个第三驱动电机启动时,一个第三驱动电机输出端正转驱动收卷辊旋转对第一拉扯绳进行收卷,另一个第三驱动电机输出端反转驱动另一个收卷辊对另一个第一拉扯绳进行释放的同时对一个第二拉扯绳进行收卷对另一个第二拉扯绳进行释放,从而拉动T形滑座进行横向移动,通过抽气泵将空气输送到导气管内部,随后通过喷气头喷出高压气体冲击到滤板网孔中,以此避免滤板网孔中发生堵塞;
5、通过设置直齿轮与往复丝杆等零件的配合,T形滑座进行横向移动的同时带动直齿轮进行移动,当直齿轮与梯形卡齿一侧斜面接触时在梯形卡齿一侧斜面的作用下推动梯形卡齿通过转轴带动扭簧进行转动,当直齿轮与梯形卡齿分离时,扭簧不再手动外界的力通过转轴带动梯形卡齿进行复位,当T形滑座进行反向移动时,直齿轮与梯形卡齿一侧平面接触,由于定位板位于梯形卡齿的一侧,从而使得梯形卡齿受到阻力固定不动,通过梯形卡齿驱动直齿轮带动往复丝杆进行转动,通过以上多个零件的配合实现了驱动往复丝杆进行间歇式转动的通过,从而使得往复丝杆能够驱动联动杆进行间歇式移动,以此使得喷气头能够进行间歇式横向往复移动,从而扩大了喷气头喷气的范围,使得滤板网孔中能够全面的被清理。
(发明人:周安)






