公布日:2024.12.31
申请日:2024.11.11
分类号:C02F1/04(2023.01)I
摘要
本发明涉及高盐废水处理技术领域,且公开了一种高盐废水蒸发结晶零排放设备,包括水箱、罐体和外管,罐体的上端通过圆口固定连接有壳体,罐体的上端固定连接有罗茨风机,罗茨风机的出风端固定连接有风管,风管与壳体的上端固定连接,壳体的侧壁设置有预热机构,预热机构通过针织布管进行布水,且利用微压的热风对废水中的水分进行蒸发处理提高废水的浓度,罐体的下端固定连接有导流管,导流管的一端与外管的管壁固定连接,外管内固定连接有内管。该高盐废水蒸发结晶零排放设备,可以有效的利用热源对高盐废水进行蒸发结晶,而且结晶的有机盐不会在设备中结垢影响热量传递,提高了处理高盐废水的效率。

权利要求书
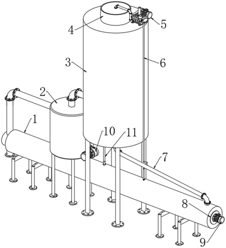
1.一种高盐废水蒸发结晶零排放设备,包括水箱(2)、罐体(3)和外管(1),其特征在于:所述罐体(3)的上端通过圆口固定连接有壳体(4),所述罐体(3)的上端固定连接有罗茨风机(5),所述罗茨风机(5)的出风端固定连接有风管,所述风管与壳体(4)的上端固定连接,所述壳体(4)的侧壁设置有预热机构,所述预热机构通过针织布管(21)进行布水,且利用微压的热风对废水中的水分进行蒸发处理提高废水的浓度;所述罐体(3)的下端固定连接有导流管(7),所述导流管(7)的一端与外管(1)的管壁固定连接,所述外管(1)内固定连接有内管(8),所述内管(8)的管壁与导流管(7)的一端固定连接,所述内管(8)中安装有蒸发机构,所述蒸发机构高温组件对废水中的水分进一步蒸发,直至废水中的组份结晶;所述罐体(3)的侧壁固定连接有排风管和进水管,所述进水管的管口处安装有换热机构,所述换热机构通过导管连接有连接部(24),所述换热机构利用预热机构排出的热蒸汽对废水进行预热,提高废水进入预热机构的温度;所述新风管的管壁上固定连接有引风管(6),所述引风管(6)一端与外管(1)的管壁固定连接,所述内管(8)的一端延伸至外管(1)的外部并固定连接有尾风管和排污管。
2.根据权利要求1所述的一种高盐废水蒸发结晶零排放设备,其特征在于:所述预热机构包括圆环(14),所述连接部(24)的上端与圆环(14)固定连接,所述针织布管(21)的上端与连接部(24)固定连接,所述圆环(14)的内侧固定连接有滑套(29),所述滑套(29)套接在壳体(4)的侧壁,所述圆环(14)的上端固定连接有多个拉力弹簧(13),多个所述拉力弹簧(13)的上端均固定在罐体(3)的上端内壁,所述针织布管(21)的下端管口处内外两侧分别固定连接有第一固定环和第二固定环,所述第一固定环和第二固定环的上端均设置有折边(37),所述第一圆环(14)和第二圆环(14)的侧壁共同固定连接有环形板(15),所述环形板(15)固定在罐体(3)内并开设有多个渗水孔(39),所述渗水孔(39)位于第一固定环和第二固定环之间;所述壳体(4)内固定连接有两个电加热器(25),所述电加热器(25)位于新风管的管口处下方,所述新风管的一端延伸至壳体(4)内并固定连接有配气盒(22),所述配气盒(22)的侧壁固定连接有多个喷气嘴(28),所述第二固定环内固定连接有端帽(36)。
3.根据权利要求2所述的一种高盐废水蒸发结晶零排放设备,其特征在于:所述端帽(36)的侧壁固定连接有螺旋管(11),所述螺旋管(11)的管壁套接有套管(38),所述套管(38)的上端固定连接有喇叭管(16),所述喇叭管(16)固定在罐体(3)内,所述螺旋管(11)的一端延伸至端帽(36)内,所述螺旋管(11)的另一端贯穿罐体(3)的下端并与外管(1)的管壁固定连接。
4.根据权利要求2所述的一种高盐废水蒸发结晶零排放设备,其特征在于:所述配气盒(22)的下端通过滚动轴承转动连接有立轴(30),所述立轴(30)的通过轴套与电加热器(25)的支撑架转动连接,所述壳体(4)的下端开设有多个切口,多个所述切口内共同套接有传动架(26),所述传动架(26)穿过切口并与滑套(29)的内侧固定连接,所述传动架(26)的上端设置有箱体(34),所述箱体(34)固定在下方电加热器(25)支架的侧壁上,所述立轴(30)的侧壁固定连接有扇叶(23),所述立轴(30)的下端延伸至箱体(34)内并固定连接有第一锥齿轮(35),所述第一锥齿轮(35)的一侧啮合有第二锥齿轮(31),所述第二锥齿轮(31)的侧壁固定连接有横轴,所述横轴的两端通过滚珠轴承转动连接在箱体(34)内,所述横轴的轴壁上固定连接有两个偏心轮(32),所述箱体(34)的下端通过方孔套接有两个矩形杆(33),两个所述矩形杆(33)的下端均与传动架(26)的上端固定连接,所述矩形杆(33)的上端与偏心轮(32)的侧壁接触。
5.根据权利要求1所述的一种高盐废水蒸发结晶零排放设备,其特征在于:所述换热机构包括两个环形管(27),两个所述环形管(27)之间共同固定连接有多个换热盘管(12),多个所述换热盘管(12)均套接在针织布管(21)的侧壁,其中一个所述环形管(27)的管壁固定连接有导管,所述导管的一端与连接部(24)固定连接,另一个所述环形管(27)的管壁固定连接有连接管,所述连接管的一端延伸至罐体(3)的外部,所述水箱(2)的一侧固定连接有磁力泵(10),所述磁力泵(10)的进水端与水箱(2)的出水口固定连接,所述磁力泵(10)的出水端与连接管一端固定连接。
6.根据权利要求1所述的一种高盐废水蒸发结晶零排放设备,其特征在于:所述尾风管的一端通过弯管与水箱(2)的一侧固定连接,所述水箱(2)的上端通过管道与排风管的一端固定连接,所述水箱(2)的底部设置有内凹部,所述内凹部上开设有排风口,所述水箱(2)内固定连接有两个隔板(20),两个所述隔板(20)之间固定连接有多个换热直管(19),所述水箱(2)的侧壁固定连接有原水管,且原水管的一端位于两个隔板(20)之间。
7.根据权利要求1所述的一种高盐废水蒸发结晶零排放设备,其特征在于:所述蒸发机构包括铁芯(47),所述铁芯(47)的侧壁固定连接有多个环片(48),所述内管(8)中设置有矩形框(17),所述矩形框(17)相对的两侧均与内管(8)的内侧接触,所述矩形框(17)的侧壁固定连接有多个螺旋条(42),且螺旋条(42)与内管(8)的内壁接触,所述矩形框(17)相对的两侧内壁均固定连接有多个U形片,多个所述U形片分别卡接在环片(48)的侧壁上,其中相邻的两个所述U形片之间均固定连接有刮片(49),且刮片(49)的一侧与铁芯(47)的侧壁接触,所述内管(8)的一端固定连接有电机(9),所述电机(9)的一端固定连接有主轴,所述主轴的一端与铁芯(47)的一端同轴心固定连接,所述铁芯(47)的另一端固定连接有中轴,所述中轴通过轴承座转动连接在内管(8)中,所述内管(8)的侧壁套接有多个高频感应线圈(41)。
8.根据权利要求7所述的一种高盐废水蒸发结晶零排放设备,其特征在于:所述主轴的轴壁上固定连接有齿轮(46),所述齿轮(46)的一侧啮合有齿轮轴(50),所述齿轮轴(50)通过滚动轴承转动连接在内管(8)的一端,所述齿轮轴(50)啮合有内齿环(43),所述内齿环(43)的中心处固定连接有套筒(45),所述内管(8)中固定连接有密封板(44),所述密封板(44)通过滚针轴承与套筒(45)的侧壁转动连接,所述套筒(45)的内侧通过滚子轴承与主轴的轴壁转动连接,所述矩形框(17)的一端中心处通过圆孔与套筒(45)的一端同轴心固定连接。
9.根据权利要求7所述的一种高盐废水蒸发结晶零排放设备,其特征在于:所述内管(8)和外管(1)的夹层内固定连接有环形块(40),所述内管(8)为铁管,且在其管壁上开设有多个均匀分布的进风孔,所述矩形框(17)、环片(48)、U形片和刮片(49)均为铁质,且表面均涂覆耐高温材料,所述外管(1)为绝缘管。
10.根据权利要求7所述的一种高盐废水蒸发结晶零排放设备,其特征在于:所述中轴的一端通过滚针轴承与内管(8)的一端转动连接,所述中轴的轴壁上通过支撑架固定连接有两个刮板(18),两个所述刮板(18)均与内管(8)的内壁接触。
发明内容
(一)解决的技术问题
针对现有技术的不足,本发明提供了一种高盐废水蒸发结晶零排放设备,解决了无机盐结晶后往往会粘连在设备内形成结垢,结垢不易清理也会阻碍热量传递降低蒸发水分的效率,降低了热源的利用率的问题。
(二)技术方案
为实现上述的目的,本发明提供如下技术方案:一种高盐废水蒸发结晶零排放设备,包括水箱、罐体和外管,所述罐体的上端通过圆口固定连接有壳体,所述罐体的上端固定连接有罗茨风机,所述罗茨风机的出风端固定连接有风管,所述风管与壳体的上端固定连接,所述壳体的侧壁设置有预热机构,所述预热机构通过针织布管进行布水,且利用微压的热风对废水中的水分进行蒸发处理提高废水的浓度;
所述罐体的下端固定连接有导流管,所述导流管的一端与外管的管壁固定连接,所述外管内固定连接有内管,所述内管的管壁与导流管的一端固定连接,所述内管中安装有蒸发机构,所述蒸发机构高温组件对废水中的水分进一步蒸发,直至废水中的组份结晶;
所述罐体的侧壁固定连接有排风管和进水管,所述进水管的管口处安装有换热机构,所述换热机构通过导管连接有连接部,所述换热机构利用预热机构排出的热蒸汽对废水进行预热,提高废水进入预热机构的温度;
所述新风管的管壁上固定连接有引风管,所述引风管一端与外管的管壁固定连接,所述内管的一端延伸至外管的外部并固定连接有尾风管和排污管。
优选的,所述预热机构包括圆环,所述连接部的上端与圆环固定连接,所述针织布管的上端与连接部固定连接,所述圆环的内侧固定连接有滑套,所述滑套套接在壳体的侧壁,所述圆环的上端固定连接有多个拉力弹簧,多个所述拉力弹簧的上端均固定在罐体的上端内壁,所述针织布管的下端管口处内外两侧分别固定连接有第一固定环和第二固定环,所述第一固定环和第二固定环的上端均设置有折边,所述第一圆环和第二圆环的侧壁共同固定连接有环形板,所述环形板固定在罐体内并开设有多个渗水孔,所述渗水孔位于第一固定环和第二固定环之间;
所述壳体内固定连接有两个电加热器,所述电加热器位于新风管的管口处下方,所述新风管的一端延伸至壳体内并固定连接有配气盒,所述配气盒的侧壁固定连接有多个喷气嘴,所述第二固定环内固定连接有端帽。
优选的,所述端帽的侧壁固定连接有螺旋管,所述螺旋管的管壁套接有套管,所述套管的上端固定连接有喇叭管,所述喇叭管固定在罐体内,所述螺旋管的一端延伸至端帽内,所述螺旋管的另一端贯穿罐体的下端并与外管的管壁固定连接。
优选的,所述配气盒的下端通过滚动轴承转动连接有立轴,所述立轴的通过轴套与电加热器的支撑架转动连接,所述壳体的下端开设有多个切口,多个所述切口内共同套接有传动架,所述传动架穿过切口并与滑套的内侧固定连接,所述传动架的上端设置有箱体,所述箱体固定在下方电加热器支架的侧壁上,所述立轴的侧壁固定连接有扇叶,所述立轴的下端延伸至箱体内并固定连接有第一锥齿轮,所述第一锥齿轮的一侧啮合有第二锥齿轮,所述第二锥齿轮的侧壁固定连接有横轴,所述横轴的两端通过滚珠轴承转动连接在箱体内,所述横轴的轴壁上固定连接有两个偏心轮,所述箱体的下端通过方孔套接有两个矩形杆,两个所述矩形杆的下端均与传动架的上端固定连接,所述矩形杆的上端与偏心轮的侧壁接触。
优选的,所述换热机构包括两个环形管,两个所述环形管之间共同固定连接有多个换热盘管,多个所述换热盘管均套接在针织布管的侧壁,其中一个所述环形管的管壁固定连接有导管,所述导管的一端与连接部固定连接,另一个所述环形管的管壁固定连接有连接管,所述连接管的一端延伸至罐体的外部,所述水箱的一侧固定连接有磁力泵,所述磁力泵的进水端与水箱的出水口固定连接,所述磁力泵的出水端与连接管一端固定连接。
优选的,所述尾风管的一端通过弯管与水箱的一侧固定连接,所述水箱的上端通过管道与排风管的一端固定连接,所述水箱的底部设置有内凹部,所述内凹部上开设有排风口,所述水箱内固定连接有两个隔板,两个所述隔板之间固定连接有多个换热直管,所述水箱的侧壁固定连接有原水管,且原水管的一端位于两个隔板之间。
优选的,所述蒸发机构包括铁芯,所述铁芯的侧壁固定连接有多个环片,所述内管中设置有矩形框,所述矩形框相对的两侧均与内管的内侧接触,所述矩形框的侧壁固定连接有多个螺旋条,且螺旋条与内管的内壁接触,所述矩形框相对的两侧内壁均固定连接有多个U形片,多个所述U形片分别卡接在环片的侧壁上,其中相邻的两个所述U形片之间均固定连接有刮片,且刮片的一侧与铁芯的侧壁接触,所述内管的一端固定连接有电机,所述电机的一端固定连接有主轴,所述主轴的一端与铁芯的一端同轴心固定连接,所述铁芯的另一端固定连接有中轴,所述中轴通过轴承座转动连接在内管中,所述内管的侧壁套接有多个高频感应线圈。
优选的,所述主轴的轴壁上固定连接有齿轮,所述齿轮的一侧啮合有齿轮轴,所述齿轮轴通过滚动轴承转动连接在内管的一端,所述齿轮轴啮合有内齿环,所述内齿环的中心处固定连接有套筒,所述内管中固定连接有密封板,所述密封板通过滚针轴承与套筒的侧壁转动连接,所述套筒的内侧通过滚子轴承与主轴的轴壁转动连接,所述矩形框的一端中心处通过圆孔与套筒的一端同轴心固定连接。
优选的,所述内管和外管的夹层内固定连接有环形块,所述内管为铁管,且在其管壁上开设有多个均匀分布的进风孔,所述矩形框、环片、U形片和刮片均为铁质,且表面均涂覆耐高温材料,所述外管为绝缘管。
优选的,所述中轴的一端通过滚针轴承与内管的一端转动连接,所述中轴的轴壁上通过支撑架固定连接有两个刮板,两个所述刮板均与内管的内壁接触。
(三)有益效果
与现有技术相比,本发明提供了一种高盐废水蒸发结晶零排放设备,具备以下有益效果:
1、本发明在使用的时候,从水箱一侧的原水管送入高盐废水,废水进入到两个隔板之间的空隙中,之后由磁力泵工作将高盐废水经过连接管送入到连接部内,此时连接部与圆环组成一个环形结构的布水腔室,布水腔室中的高盐废水浸入到针织布管中,并缓慢下落至预热机构中,经过预热机构利用微压的热风对高盐废水中的水分进行蒸发处理,水分经过蒸发后高盐废水的浓度和温度均提升,之后浓缩后的高盐废水经过导流管进入到内管中,由内管中蒸发机构进一步对废水进行加热蒸发,直至废水中组份结晶,在此过程中,排出的高温水蒸气经过尾风管进入到水箱中隔板的上方,并与排风管中预热机构蒸发的水蒸气混合,随后高温水蒸气经过换热直管进入到水箱的下部并从排风口处排出,如此即可实现利用预热机构和蒸发机构中排出的水蒸气对高盐废水的原水进行预热,使高盐废水能够快速蒸发结晶。
2、本发明设置有的预热机构,在使用时,两个电加热器工作时发热使针织布管中的温度上升,罗茨风机工作时通过新风管向针织布管中输送带有压力的气体,此时气体穿过发热的电加热器时被加热进一步形成热风,热风在压力作用下穿过针织布管并均匀的与其内部浸入的高盐废水进行接触,使高盐废水的温度进一步提升,此时废水中的水分在热气流的作用下快速挥发,进而起到对高盐废水进步一浓缩的作用,新风管排风时利用配气盒将气体均匀的从多个排气嘴中排出,此时排出的气流吹动扇叶旋转,扇叶旋转时带动立轴使第一锥齿轮旋转,第一锥齿轮旋转时带动第二锥齿轮使横轴旋转,横轴旋转带动偏心轮旋转并挤压矩形杆,矩形杆受力带动传动架使滑套上下移动,并且在拉力弹簧的作用下滑套做往复运动带动针织布管产生抖动,此时抖动的针织布管能够加速高盐废水下移,从而能够使得连续流动的高盐废水能够均匀的与穿过针织布管的高温气流接触,加速水分的蒸发,实现对高盐废水的余热和浓缩。
3、本发明设置有的蒸发机构,在使用时,高频感应线圈工作时产生高频磁场,处于磁场中的内管与铁芯利用其金属材质产生高温,经过导管进入到内管的浓缩高盐废水接触到高温的内管和贴心时被快速加热使其内部的水分蒸发,此时,引风管中的新风经过内管上的进风孔流入到内管中,之后经过尾风管排出,如此即可使蒸发的水蒸气快速从内管中排出,在工作时启动电机带动主轴旋转,主轴旋转时带动齿轮使齿轮轴旋转,齿轮轴旋转时带动内齿环使套筒旋转,套筒旋转带动矩形框旋转,矩形框旋转时带动螺旋条低速的搅动内管中高盐废水,使高盐废水与滑过内管的内侧,使高温的内管对高盐废水进行加热蒸发,同时,矩形框内的U形片滑过环片,避免盐分结晶粘连在环片上,同时刮片与铁芯接触刮落其表面粘连的结晶体,使得内管、铁芯和环片均能够对废水进行加热,且结晶体不会粘连在蒸发机构内,并且矩形框的侧边具有一定的厚度,在其旋转时能够将处于内管底部的废水带动至高处后滑落在铁芯和环片表面,如此即可实现废水在内管与多个发热体接触加速水分的蒸发,同时在主轴旋转时能够带动贴心和环片快速的旋转,使高盐废水蒸发后形成的晶体不易粘连,且能够更好的散发热量,同时在矩形框旋转时,矩形框带动中轴和支撑架使刮板做圆周运动,刮板做圆周运动时能够逐渐搅动结晶体,使其与高温的内管均匀接触进一步蒸发出水分。
(发明人:王非;裘碧英)






