公布日:2024.01.23
申请日:2023.11.29
分类号:B01D33/11(2006.01)I;B01D33/80(2006.01)I;C02F1/00(2023.01)I;B01D53/78(2006.01)I;C02F3/34(2023.01)I
摘要
本发明涉及污水除臭技术领域,具体的说是一种污水处理除臭装置及除臭方法,包括处理罐,用于储存对污水除臭的除臭剂;输水机构,安装在处理罐内部并且两端伸出,包括进水管、弧形管和出水管,进水管固定在处理罐上端左侧;除渣机构,转动安装在处理罐内部且位于输水机构的下端;滤筒转动过程中,带动固定套转动使弧形块经竖管下端挤压后活动头下移打开进料口,而弧形块脱离竖管下端后,活动头移动复位堵住进料口,使得污水和废渣间断进入滤筒,并且在粉碎滤筒内部废渣过程中,废渣不会从豁口、进料口流出,从而保证进入滤筒内部的废渣粉碎时间,直至废渣粉碎溶于水流出滤筒与除臭剂接触除臭,保证除臭效果,处理废渣。

权利要求书
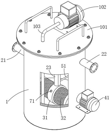
1.一种污水处理除臭装置,其特征在于,包括:处理罐(1),用于储存对污水除臭的除臭剂;输水机构(2),安装在处理罐(1)内部并且两端伸出,包括进水管(21)、弧形管(24)和出水管(22),进水管(21)固定在处理罐(1)上端左侧,出水管(22)固定在处理罐(1)上端右侧,弧形管(24)固定在进水管(21)和出水管(22)之间呈U形结构,弧形管(24)下端固定有竖管(23);除渣机构(3),转动安装在处理罐(1)内部且位于输水机构(2)的下端,污水水内部废渣球磨破碎;进料机构(7),安装在除渣机构(3)外壁,用于控制污水从输水机构(2)进入除渣机构(3)内部;驱动机构(4),安装在处理罐(1)外侧与除渣机构(3)连接,用于驱动除渣机构(3)转动;补气机构(6),安装在处理罐(1)一侧且与驱动机构(4)连接,用于处理罐(1)内部补气增氧;搅拌机构(8),安装在除渣机构(3)一侧,用于处理罐(1)内部污水搅拌与除臭剂混合;压味机构(9),转动安装在处理罐(1)靠近下端位置,并且与搅拌机构(8)连接,用于处理罐(1)内部喷水压味;排液机构(5),安装在处理罐(1)内且与弧形管(24)连接,用于排出处理罐(1)内部污水。
2.根据权利要求1所述的一种污水处理除臭装置,其特征在于:所述输水机构(2)还包括隔板(25),L形结构的所述隔板(25)竖向固定在竖管(23)以及弧形管(24)内壁,将所述弧形管(24)两侧分隔成进液孔(241)和排液孔(242),所述竖管(23)左侧水平滑动连接有防堵针(28),所述防堵针(28)与竖管(23)外壁之间固定有第一弹簧(27),所述防堵针(28)左侧固定有呈Z字形结构的活动杆(26),所述进水管(21)左端伸出处理罐(1),所述出水管(22)右端伸出处理罐(1),所述处理罐(1)上端安装有罐盖(101),所述罐盖(101)上表面固定有除臭剂输送泵(102),所述除臭剂输送泵(102)的出口连接有输送管(103),所述输送管(103)下端伸入处理罐(1)内部。
3.根据权利要求2所述的一种污水处理除臭装置,其特征在于:所述驱动机构(4)包括电机(41),所述电机(41)安装在处理罐(1)外侧靠近下端位置,所述电机(41)的输出轴固定有第一齿轮(42),所述处理罐(1)转动连接有曲轴(44),所述曲轴(44)的一端固定有第二齿轮(43),所述第二齿轮(43)与第一齿轮(42)啮合连接。
4.根据权利要求3所述的一种污水处理除臭装置,其特征在于:所述除渣机构(3)包括滤筒(32),所述滤筒(32)右端与曲轴(44)一端固定连接,所述滤筒(32)左端与处理罐(1)内壁转动连接,所述滤网(67)外表面中心部位固定有固定套(31),所述竖管(23)的下端与固定套(31)上端外表面滚动连接,所述滤筒(32)内部储存若干个铁球(33),所述滤筒(32)的左端水平滑动连接有滑套(36),所述滤筒(32)左侧外壁设有活动槽(37),所述滑套(36)内壁水平滑动连接在活动槽(37)内部,所述滑套(36)外表面固定有四个搅叶(34),所述滑套(36)左侧外表面开设有呈环状结构的环形槽(35),所述活动杆(26)的左端滚动连接在环形槽(35)内部。
5.根据权利要求4所述的一种污水处理除臭装置,其特征在于:所述进料机构(7)包括弧形块(72),所述弧形块(72)滑动连接在固定套(31)外壁,所述弧形块(72)与固定套(31)之间固定有第三弹簧(73),所述固定套(31)贯穿设有截面呈梯形结构的进料口(75),所述进料口(75)内部滑动插入有上窄下宽的活动头(71),所述活动头(71)与弧形块(72)之间固定有活动柱(77),所述活动柱(77)滑动设置在固定套(31)内壁,所述滤筒(32)贯穿设有豁口(76),所述豁口(76)内部固定有弧形结构的格网(74),所述格网(74)的口径小于铁球(33)的直径。
6.根据权利要求5所述的一种污水处理除臭装置及,其特征在于:所述搅拌机构(8)包括往复丝杆(82),所述往复丝杆(82)安装在滤筒(32)左端与处理罐(1)内壁之间,所述往复丝杆(82)与处理罐(1)内壁之间转动连接,所述往复丝杆(82)螺纹连接有滚珠套(83),所述滚珠套(83)上下端固定有竖杆(81),所述竖杆(81)固定有横向设置的滑杆(85),所述滑杆(85)的左端与处理罐(1)内壁之间水平滑动连接,所述滑杆(85)的右端与滑套(36)的左侧外表面滚动连接,位于下方的所述滑杆(85)固定有伸入处理罐(1)下端的搅拌叶(84)。
7.根据权利要求(6)所述的一种污水处理除臭装置,其特征在于:所述压味机构(9)包括喷头(93),所述喷头(93)转动连接在处理罐(1)内壁左侧,所述喷头(93)朝向滤筒(32)上表面,所述喷头(93)上端连接有软管(91),所述软管(91)一端伸出处理罐(1),所述喷头(93)固定连接有第三齿轮(92),位于上方的所述滑杆(85)固定有支架(95),所述支架(95)的上端固定有横向设置的齿条(94),所述第三齿轮(92)下端与齿条(94)啮合连接。
8.根据权利要求7所述的一种污水处理除臭装置,其特征在于:所述补气机构(6)包括补气管(62),Z字形结构的所述补气管(62)固定在处理罐(1)内壁右侧,所述补气管(62)左侧伸入处理罐(1)内部且右侧伸出处理罐(1)外部,所述补气管(62)左侧下端竖直滑动连接有活塞(63),所述活塞(63)下端转动连接有连杆(61),所述连杆(61)下端与曲轴(44)转动连接,所述补气管(62)左侧开设有出气口(64),所述补气管(62)的倾斜面内壁转动连接有橡胶封垫(65),所述橡胶封垫(65)转动连接有连接杆(69),所述连接杆(69)上端转动连接有滑块(601),所述补气管(62)开设有滑槽(68),所述滑块(601)滑动连接在滑槽内(68),所述滑块(601)与补气管(62)之间固定有第二弹簧(602),所述补气管(62)的倾斜端内壁固定有滤网(67),所述补气管(62)的倾斜端内壁固定有位于橡胶封垫(65)一侧的挡块(66)。
9.根据权利要求8所述的一种污水处理除臭装置及除臭方法,其特征在于:所述排液机构(5)包括防护壳(53),所述防护壳(53)固定在处理罐(1)内壁,所述防护壳(53)内部安装有水泵(52),所述水泵(52)的进口连接有伸入处理罐(1)下端的抽水管(54),所述水泵(52)的出口连接有横向设置的排水管(51),所述排水管(51)与弧形管(24)固定连接,所述排水管(51)与排液孔(242)内部连通。
10.根据权利要求1-9任一项所述的一种污水处理除臭方法,其特征在于:它包括以下步骤:步骤1):将待除臭的污水从进水管(21)左端输入,然后污水从进水管(21)进入弧形管(24)内部,经隔板(25)阻挡,污水下流进入竖管(23),从竖管(23)下端流出;步骤2):打开电机(41)电源开关,使电机(41)通电工作,带动第一齿轮(42)转动,使第二齿轮(43)转动驱动曲轴(44)、滤筒(32)、固定套(31)以及往复丝杆(82)转动;步骤3):固定套(31)转动带动弧形块(72)经竖管(23)下端挤压后活动头(71)下移打开进料口(75),使得竖管(23)内的污水和废渣进入滤筒(32),在滤筒(32)转动过程中,带动内部的铁球(33)滚动发生摩擦,挤压进入滤筒(32)内部的废渣成粉状,废渣在滤筒(32)内部破损研磨成粉状,使废渣不仅可以快速溶于污水中,而且被破碎的废渣可以释放内部储存的臭气;步骤4):废渣在滤筒(32)内部经铁球(33)摩擦粉碎,直至废渣粉碎溶于水流出滤筒(32)进入处理罐(1)与除臭剂接触除臭,保证除臭效果,处理废渣;步骤5):通过水泵(52)通电工作,将除臭后的污水从抽水管(54)抽入排水管(51),再送入竖管(23),然后从弧形管(24)右侧的排液孔(242)送入出水管(22),使除臭的污水从出水管(22)排出。
发明内容
针对现有技术中的问题,本发明提供了一种污水处理除臭装置及除臭方法。
本发明解决其技术问题所采用的技术方案是:一种污水处理除臭装置,包括:
处理罐,用于储存对污水除臭的除臭剂;
输水机构,安装在处理罐内部并且两端伸出,包括进水管、弧形管和出水管,进水管固定在处理罐上端左侧,出水管固定在处理罐上端右侧,弧形管固定在进水管和出水管之间呈U形结构,弧形管下端固定有竖管;
除渣机构,转动安装在处理罐内部且位于输水机构的下端,污水水内部废渣球磨破碎;
进料机构,安装在除渣机构外壁,用于控制污水从输水机构进入除渣机构内部;
驱动机构,安装在处理罐外侧与除渣机构连接,用于驱动除渣机构转动;
补气机构,安装在处理罐一侧且与驱动机构连接,用于处理罐内部补气增氧;
搅拌机构,安装在除渣机构一侧,用于处理罐内部污水搅拌与除臭剂混合;
压味机构,转动安装在处理罐靠近下端位置,并且与搅拌机构连接,用于处理罐内部喷水压味;
排液机构,安装在处理罐内且与弧形管连接,用于排出处理罐内部污水。
具体的,所述输水机构还包括隔板,L形结构的所述隔板竖向固定在竖管以及弧形管内壁,将所述弧形管两侧分隔成进液孔和排液孔,所述竖管左侧水平滑动连接有防堵针,所述防堵针与竖管外壁之间固定有第一弹簧,所述防堵针左侧固定有呈Z字形结构的活动杆,所述进水管左端伸出处理罐,所述出水管右端伸出处理罐,所述处理罐上端安装有罐盖,所述罐盖上表面固定有除臭剂输送泵,所述除臭剂输送泵的出口连接有输送管,所述输送管下端伸入处理罐内部。
具体的,所述驱动机构包括电机,所述电机安装在处理罐外侧靠近下端位置,所述电机的输出轴固定有第一齿轮,所述处理罐转动连接有曲轴,所述曲轴的一端固定有第二齿轮,所述第二齿轮与第一齿轮啮合连接。
具体的,所述除渣机构包括滤筒,所述滤筒右端与曲轴一端固定连接,所述滤筒左端与处理罐内壁转动连接,所述滤网外表面中心部位固定有固定套,所述竖管的下端与固定套上端外表面滚动连接,所述滤筒内部储存若干个铁球,所述滤筒的左端水平滑动连接有滑套,所述滤筒左侧外壁设有活动槽,所述滑套内壁水平滑动连接在活动槽内部,所述滑套外表面固定有四个搅叶,所述滑套左侧外表面开设有呈环状结构的环形槽,所述活动杆的左端滚动连接在环形槽内部。
具体的,所述进料机构包括弧形块,所述弧形块滑动连接在固定套外壁,所述弧形块与固定套之间固定有第三弹簧,所述固定套贯穿设有截面呈梯形结构的进料口,所述进料口内部滑动插入有上窄下宽的活动头,所述活动头与弧形块之间固定有活动柱,所述活动柱滑动设置在固定套内壁,所述滤筒贯穿设有豁口,所述豁口内部固定有弧形结构的格网,所述格网的口径小于铁球的直径。
具体的,所述搅拌机构包括往复丝杆,所述往复丝杆安装在滤筒左端与处理罐内壁之间,所述往复丝杆与处理罐内壁之间转动连接,所述往复丝杆螺纹连接有滚珠套,所述滚珠套上下端固定有竖杆,所述竖杆固定有横向设置的滑杆,所述滑杆的左端与处理罐内壁之间水平滑动连接,所述滑杆的右端与滑套的左侧外表面滚动连接,位于下方的所述滑杆固定有伸入处理罐下端的搅拌叶。
具体的,所述压味机构包括喷头,所述喷头转动连接在处理罐内壁左侧,所述喷头朝向滤筒上表面,所述喷头上端连接有软管,所述软管一端伸出处理罐,所述喷头固定连接有第三齿轮,位于上方的所述滑杆固定有支架,所述支架的上端固定有横向设置的齿条,所述第三齿轮下端与齿条啮合连接。
具体的,所述补气机构包括补气管,Z字形结构的所述补气管固定在处理罐内壁右侧,所述补气管左侧伸入处理罐内部且右侧伸出处理罐外部,所述补气管左侧下端竖直滑动连接有活塞,所述活塞下端转动连接有连杆,所述连杆下端与曲轴转动连接,所述补气管左侧开设有出气口,所述补气管的倾斜面内壁转动连接有橡胶封垫,所述橡胶封垫转动连接有连接杆,所述连接杆上端转动连接有滑块,所述补气管开设有滑槽,所述滑块滑动连接在滑槽内,所述滑块与补气管之间固定有第二弹簧,所述补气管的倾斜端内壁固定有滤网,所述补气管的倾斜端内壁固定有位于橡胶封垫一侧的挡块。
具体的,所述排液机构包括防护壳,所述防护壳固定在处理罐内壁,所述防护壳内部安装有水泵,所述水泵的进口连接有伸入处理罐下端的抽水管,所述水泵的出口连接有横向设置的排水管,所述排水管与弧形管固定连接,所述排水管与排液孔内部连通。
本发明还提供的一种污水处理除臭方法,包括以下步骤:
步骤1):将待除臭的污水从进水管左端输入,然后污水从进水管进入弧形管内部,经隔板阻挡,污水下流进入竖管,从竖管下端流出;
步骤2):打开电机电源开关,使电机通电工作,带动第一齿轮转动,使第二齿轮转动驱动曲轴、滤筒、固定套以及往复丝杆转动;
步骤3):固定套转动带动弧形块经竖管下端挤压后活动头下移打开进料口,使得竖管内的污水和废渣进入滤筒,在滤筒转动过程中,带动内部的铁球滚动发生摩擦,挤压进入滤筒内部的废渣成粉状,废渣在滤筒内部破损研磨成粉状,使废渣不仅可以快速溶于污水中,而且被破碎的废渣可以释放内部储存的臭气;
步骤4):废渣在滤筒内部经铁球摩擦粉碎,直至废渣粉碎溶于水流出滤筒进入处理罐与除臭剂接触除臭,保证除臭效果,处理废渣;
步骤5):通过水泵通电工作,将除臭后的污水从抽水管抽入排水管,再送入竖管,然后从弧形管右侧的排液孔送入出水管,使除臭的污水从出水管排出。
本发明的有益效果是:
(1)本发明滤筒转动过程中,带动固定套转动使弧形块经竖管下端挤压后活动头下移打开进料口,而弧形块脱离竖管下端后,活动头移动复位堵住进料口,使得污水和废渣间断进入滤筒,并且在粉碎滤筒内部废渣过程中,废渣不会从豁口、进料口流出,从而保证进入滤筒内部的废渣粉碎时间,直至废渣粉碎溶于水流出滤筒与除臭剂接触除臭,保证除臭效果,处理废渣。
(2)本发明在滤筒转动粉碎废渣过程中,带动往复丝杆转动,驱动滚珠套、竖杆和滑杆往复左右移动,滑杆右移时,推动滑套右滑,挤压活动杆右移,使防堵针在竖管内部右滑,并且压缩第一弹簧,当滑杆左移复位后,在第一弹簧作用下,推动防堵针左滑、活动杆左移以及滑套左移,如此反复,滤筒转动带动滑套、搅叶转动过程中,还在滑杆的作用下,实现滑套左右小幅度移动以及防堵针的往复滑动,能够更好的搅动混合处理罐内部的污水以及除臭剂以及防止竖管内部堵塞,提高除臭效率。
(3)本发明在滑杆往复水平滑动过程中,带动齿条作用移动,从而驱动第三齿轮小幅度往复转动,使喷头往复摆动,使得喷头喷出的水呈波浪状在处理罐内部喷洒,吸收由废渣粉碎喷出的臭气,通过喷出的清水下降将臭气带到处理罐内部下端与除臭剂混合,再次处理污水中的臭味。
(4)本发明在曲轴转动带动滤筒转动过程中,使得连杆移动,在连杆上端的作用下,拉动活塞上下滑动,当活塞下滑后,使补气管右侧上端产生向下的吸力,将空气从补气管上端吸入,经滤网过滤,空气推动橡胶封垫顺时针转动,打开补气管,直至活塞下移露出出气口上端,这时空气从出气口被抽入处理罐,为处理罐内部补气增氧,用于处理罐内部有氧呼吸的微生物补氧,有利于微生物活动溶解水中的恶臭物质进行除臭。
(发明人:黄金标;朱旭佳;彭发龙;黄小龙;吴兰兰)






