公布日:2024.12.31
申请日:2024.12.02
分类号:B02C13/18(2006.01)I;B02C13/26(2006.01)I;B02C13/286(2006.01)I;B02C13/30(2006.01)I;B08B9/087(2006.01)I
摘要
本发明为一种水处理污泥填料破碎设备,破碎桶内设置有转动杆和打散叶和间歇进料机构,破碎桶外壁开设有通孔,破碎桶外侧套设有收集桶,收集桶与破碎桶之间设置有清扫机构和第二传动组件,收集桶底部设置有第一传动组件以及间歇正转动装置和间歇反转动装置,固定环固定连接在收集桶底端,固定环内侧固定连接有环形缺齿圈,第一缺齿轮和第二缺齿轮同一时间只有一个与环形缺齿圈啮合,第一缺齿轮和第二缺齿轮的一侧均设置有弹性缓冲块,弹性缓冲块的一侧面开设有缓冲槽,环形缺齿圈设置有弹性插块,弹性插块可插接进缓冲槽;间歇进料机构可以间歇式的将污泥下料到破碎桶被打散叶打散,打散后污泥穿过通孔被收集桶收集进行后续的处理。

权利要求书
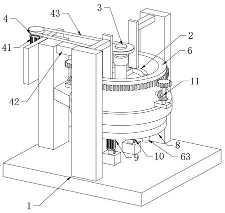
1.一种水处理污泥填料破碎设备,包括机架(1),其特征在于:所述机架(1)内固定连接有破碎桶(2),所述破碎桶(2)内设置有转动杆(3),所述机架(1)顶部设置有驱动所述转动杆(3)转动的驱动组件(4),所述破碎桶(2)从上到下分为进料腔室(21)和破碎腔室(22),所述进料腔室(21)内设置有间歇进料机构(5),所述破碎桶(2)外壁且对应所述破碎腔室(22)开设有若干个通孔(23),所述转动杆(3)底端且在所述破碎腔室(22)内设置有打散叶(31),所述破碎桶(2)外侧套设有收集桶(6),所述收集桶(6)与所述机架(1)转动连接,所述收集桶(6)与破碎桶(2)之间设置有清扫机构(7),所述收集桶(6)底部设置有与所述收集桶(6)传动连接的第一传动组件(8)以及与所述第一传动组件(8)传动连接的间歇正转动装置(9)和间歇反转动装置(10),所述收集桶(6)与所述清扫机构(7)之间设置有第二传动组件(11),所述第二传动组件(11)带动所述清扫机构(7)上下往复运动,所述第一传动组件(8)包括固定环(81),所述固定环(81)固定连接在所述收集桶(6)底端,所述固定环(81)内侧固定连接有环形缺齿圈(82),所述间歇正转动装置(9)包括第一缺齿轮(91)和正转电机,所述间歇反转动装置(10)包括第二缺齿轮(101)和反转电机,所述正转电机和反转电机分别对称设置机架(1)底部两侧且在所述环形缺齿圈(82)正下方,所述正转电机输出轴固定连接有正转轴(92),所述正转轴(92)顶端设置有第一缺齿轮(91),所述反转电机输出轴固定连接有反转轴(102),所述反转轴(102)顶端设置有第二缺齿轮(101),所述第一缺齿轮(91)和第二缺齿轮(101)均可以与所述环形缺齿圈(82)啮合,所述第一缺齿轮(91)和第二缺齿轮(101)同一时间只有一个与所述环形缺齿圈(82)啮合,所述第一缺齿轮(91)和第二缺齿轮(101)先与所述环形缺齿圈(82)啮合的侧面均设置有弹性缓冲块(12),所述弹性缓冲块(12)靠近所述环形缺齿圈(82)的一侧面开设有缓冲槽(121),所述环形缺齿圈(82)对应所述第一缺齿轮(91)和第二缺齿轮(101)的两段齿段的端部均设置有弹性插块(821),所述弹性插块(821)可插接进所述缓冲槽(121),且所述缓冲槽(121)的槽深小于所述弹性插块(821)的长度。
2.根据权利要求1所述的一种水处理污泥填料破碎设备,其特征在于:所述第一缺齿轮(91)和第二缺齿轮(101)的半径大小相同均为所述环形缺齿圈(82)内径的四分之一,所述第一缺齿轮(91)和第二缺齿轮(101)均为小于二分之一圆且不小于四分之一圆的扇形,所述正转电机和所述反转电机分别带动所述正转轴(92)和反转轴(102)的转速大小一致。
3.根据权利要求1所述的一种水处理污泥填料破碎设备,其特征在于:所述环形缺齿圈(82)两段齿段上的若干个齿的齿高均从中间向两侧逐渐均匀的减小。
4.根据权利要求3所述的一种水处理污泥填料破碎设备,其特征在于:所述弹性缓冲块(12)为扇形且半径均小于所述第一缺齿轮(91)和第二缺齿轮(101)的半径,所述弹性插块(821)的厚度小于所述齿段上齿的厚度,且所述弹性插块(821)的长度大于所述齿段上齿的齿高。
5.根据权利要求1所述的一种水处理污泥填料破碎设备,其特征在于:所述驱动组件(4)包括破碎电机(41)、支撑架(42)和皮带(43),所述破碎电机(41)固定在所述机架(1)一侧,所述支撑架(42)一侧与所述机架(1)顶部固定连接,所述支撑架(42)另一侧转动连接所述转动杆(3),所述破碎电机(41)的输出轴上设置有转动轴,所述转动轴与转动杆(3)之间绕有所述皮带(43)。
6.根据权利要求1所述的一种水处理污泥填料破碎设备,其特征在于:所述间歇进料机构(5)包括固定在所述破碎桶(2)内部的挡板(51),所述挡板(51)一侧开设有进料口(511),所述转动杆(3)下端穿过所述挡板设置有转动板(52),所述转动板(52)一侧开设有排料口(521),所述转动杆(3)外壁且在所述挡板上方设置有第一刮板(53),所述第一刮板(53)底端与所述挡板顶端抵接。
7.根据权利要求1所述的一种水处理污泥填料破碎设备,其特征在于:所述清扫机构(7)包括第二刮板(71)和移动板(72),所述第二刮板(71)设置在所述收集桶(6)与破碎桶(2)之间,所述收集桶(6)内壁上方固定连接有固定板(73),所述固定板(73)的内部滑动连接所述移动板(72),所述移动板(72)的底端固定连接在所述第二刮板(71)顶部,所述第二传动组件(11)带动所述移动板(72)上下往复运动。
8.根据权利要求7所述的一种水处理污泥填料破碎设备,其特征在于:所述第二传动组件(11)包括传动齿(111)、连接转轴(112)、传动转轴(113)、第一齿轮(114)和第二齿轮(115),所述收集桶(6)外壁上方设置传动齿(111),所述收集桶(6)外壁且在所述传动齿(111)下方固定连接有连接块(61),所述连接块(61)内部转动连接有连接转轴(112),所述连接转轴(112)顶部固定连接有第一齿轮(114),所述第一齿轮(114)与所述传动齿(111)啮合,所述连接转轴(112)底部外壁固接有第一锥齿轮(1121),所述传动转轴(113)贯穿所述收集桶(6)外壁且与所述收集桶(6)转动连接,所述传动转轴(113)一端外壁固接有第二锥齿轮(1131),且所述第二锥齿轮(1131)与第一锥齿轮(1121)啮合,所述传动转轴(113)另一端且在所述收集桶(6)内部固定连接有第二齿轮(115),所述移动板(72)靠近所述第二齿轮(115)的侧面设置有齿条(721),所述第二齿轮(115)与所述齿条(721)相互啮合匹配。
9.根据权利要求8所述的一种水处理污泥填料破碎设备,其特征在于:所述第二刮板(71)为半圆弧形状,且两侧面分别与所述破碎桶(2)外壁和收集桶(6)内壁抵接,所述清扫机构(7)设置有两个,两个所述清扫机构(7)对称设置在所述收集桶(6)与破碎桶(2)之间,且分别通过所述第二传动组件(11)带动上下往复运动。
10.根据权利要求1所述的一种水处理污泥填料破碎设备,其特征在于:所述收集桶(6)的底端两侧均开设有出料口(62),所述出料口(62)内部固定连接有出料管(63)。
发明内容
针对上述问题点的不足,本发明提供了一种水处理污泥填料破碎设备。
本发明通过以下技术方案来实现上述目的:一种水处理污泥填料破碎设备,包括机架,所述机架内固定连接有破碎桶,所述破碎桶内设置有转动杆,所述机架顶部设置有驱动所述转动杆转动的驱动组件,所述破碎桶从上到下分为进料腔室和破碎腔室,所述进料腔室内设置有间歇进料机构,所述破碎桶外壁且对应所述破碎腔室开设有若干个通孔,所述转动杆底端且在所述破碎腔室内设置有打散叶,所述破碎桶外侧套设有收集桶,所述收集桶与所述机架转动连接,所述收集桶与破碎桶之间设置有清扫机构,所述收集桶底部设置有与所述收集桶传动连接的第一传动组件以及与所述第一传动组件传动连接的间歇正转动装置和间歇反转动装置,所述收集桶与所述清扫机构之间设置有第二传动组件,所述第二传动组件带动所述清扫机构上下往复运动,所述第一传动组件包括固定环,所述固定环固定连接在所述收集桶底端,所述固定环内侧固定连接有环形缺齿圈,所述间歇正转动装置包括第一缺齿轮和正转电机,所述间歇反转动装置包括第二缺齿轮和反转电机,所述正转电机和反转电机分别对称设置机架底部两侧且在所述环形缺齿圈正下方,所述正转电机输出轴固定连接有正转轴,所述正转轴顶端设置有第一缺齿轮,所述反转电机输出轴固定连接有反转轴,所述反转轴顶端设置有第二缺齿轮,所述第一缺齿轮和第二缺齿轮均可以与所述环形缺齿圈啮合,所述第一缺齿轮和第二缺齿轮同一时间只有一个与所述环形缺齿圈啮合,所述第一缺齿轮和第二缺齿轮先与所述环形缺齿圈啮合的侧面均设置有弹性缓冲块,所述弹性缓冲块靠近所述环形缺齿圈的一侧面开设有缓冲槽,所述环形缺齿圈对应所述第一缺齿轮和第二缺齿轮的两段齿段的端部均设置有弹性插块,所述弹性插块可插接进所述缓冲槽,且所述缓冲槽的槽深小于所述弹性插块的长度。
优选的,所述第一缺齿轮和第二缺齿轮的半径大小相同均为所述环形缺齿圈内径的四分之一,所述第一缺齿轮和第二缺齿轮均为小于二分之一圆且不小于四分之一圆的扇形,所述正转电机和反转电机分别带动所述正转轴和反转轴的转速大小一致。
优选的,所述环形缺齿圈两段齿段上的若干个齿的齿高均从中间向两侧逐渐均匀的减小。
优选的,所述弹性缓冲块为扇形且半径均小于所述第一缺齿轮和第二缺齿轮的半径,所述弹性插块的厚度小于所述齿段上齿的厚度,且所述弹性插块的长度大于所述齿段上齿的齿高。
优选的,所述驱动组件包括破碎电机、支撑架和皮带,所述破碎电机固定在所述机架一侧,所述支撑架一侧与所述机架顶部固定连接,所述支撑架另一侧转动连接所述转动杆,所述破碎电机的输出轴上设置有转动轴,所述转动轴与转动杆之间绕有所述皮带。
优选的,所述间歇进料机构包括固定在所述破碎桶内部的挡板,所述挡板一侧开设有进料口,所述转动杆下端穿过所述挡板设置有转动板,所述转动板一侧开设有排料口,所述转动杆外壁且在所述挡板上方设置有第一刮板,所述第一刮板底端与所述挡板顶端抵接。
优选的,所述清扫机构包括第二刮板和移动板,所述第二刮板设置在所述收集桶与破碎桶之间,所述收集桶内壁上方固定连接有固定板,所述固定板的内部滑动连接所述移动板,所述移动板的底端固定连接在所述第二刮板顶部,所述第二传动组件带动所述移动板上下往复运动。
优选的,所述第二传动组件包括传动齿、连接转轴、传动转轴、第一齿轮和第二齿轮,所述收集桶外壁上方设置传动齿,所述收集桶外壁且在所述传动齿下方固定连接有连接块,所述连接块内部转动连接有连接转轴,所述连接转轴顶部固定连接有第一齿轮,所述第一齿轮与所述传动齿啮合,所述连接转轴底部外壁固接有第一锥齿轮,所述传动转轴贯穿所述收集桶外壁且与所述收集桶转动连接,所述传动转轴一端外壁固接有第二锥齿轮,且所述第二锥齿轮与第一锥齿轮啮合,所述传动转轴另一端且在所述收集桶内部固定连接有第二齿轮,所述移动板靠近所述第二齿轮的侧面设置有齿条,所述第二齿轮与所述齿条相互啮合匹配。
优选的,所述第二刮板为半圆弧形状,且两侧面分别与所述破碎桶外壁和收集桶内壁抵接,所述清扫机构设置有两个,两个所述清扫机构对称设置在所述收集桶与破碎桶之间,且分别通过所述第二传动组件带动上下往复运动。
优选的,所述收集桶的底端两侧均开设有出料口,所述出料口内部固定连接有出料管。
本发明的有益效果是:1、通过设置的间歇进料机构,转动板相对挡板转动,进料口和排料口之间间歇式连通,进而使得进料腔室内的物料可以有序性的、间歇式的、一定重量范围内的污泥下料到破碎腔室中去,配合设置的转动杆与打散叶和对应破碎腔室在破碎桶外壁开设有若干个通孔,当污泥间歇式的进料到破碎腔室时,打散叶快速搅拌打散打碎污泥,打碎打散的污泥颗粒在离心力作用下向外运动,小颗粒的污泥穿过通孔到破碎桶外侧被收集起来,大颗粒的污泥有的碰撞到通孔侧壁被切割为小颗粒然后再穿过通孔到破碎桶外侧被收集起来,有的碰撞到破碎桶内壁回弹回去又再次被打散叶快速搅拌打散打碎直至变为小颗粒穿过通孔到破碎桶外侧被收集起来,这样可以有效的防止污泥堆积在一起难以进行破碎,污泥落到破碎腔室的瞬间大部分被打散从通孔外出,这样能够有效的防止污泥粘附在设备上从而造成的粘滞效应,提高污泥被破碎的效果。
2、通过设置的收集桶,间歇正转动装置和间歇反转动装置可以分别带动收集桶顺时针和逆时针进行旋转,当小颗粒的污泥穿过通孔到破碎桶外侧时被收集桶收集起来便于后续的处理,小颗粒的污泥到破碎桶外侧时还具有一定的离心力,碰撞到收集桶内壁时,间歇正转动装置带动收集桶顺时针旋转给小颗粒的污泥反向的作用力,从而使得小颗粒污泥反向运动落回收集桶内部,也有可能一部分的小颗粒的污泥碰撞粘黏在收集桶内壁上,此时,间歇反转动装置带动收集桶逆时针旋转,将小颗粒的污泥从收集桶内壁上甩出落到收集桶内部,一定程度上避免小颗粒的污泥粘黏在收集桶内壁。
3、通过设置的清扫机构和第二传动组件,间歇正转动装置和间歇反转动装置可以分别带动收集桶顺时针和逆时针进行旋转,从而带动收集桶外壁的传动齿顺时针和逆时针进行旋转,传动齿可以带动第一齿轮顺时针和逆时针进行旋转,第一齿轮通过第一锥齿轮和第二锥齿轮带动第二齿轮转动,第二齿轮通过移动板侧面设置有齿条带动移动板上下移动,从而使得移动板带动破碎桶外壁与收集桶内壁之间的第二刮板上下移动,第二刮板可以将破碎桶外壁与收集桶内壁粘黏的污泥进行刮除,避免污泥的粘黏影响到设备的正常运行,还有利于小颗粒的污泥的收集。
(发明人:付立志;庄运辉;张佳鸿;陈庆敏)






