高含油有机化工废水主要来源于石油、化工、焦化、钢铁、煤气发生站及机械加工等工业生产企业。含油废水如果不加以回收处理,不仅会造成浪费,还会在排入河流、湖泊或海湾时污染水体,影响水生生物生存;若用于农业灌溉,则会堵塞土壤空隙,妨碍农作物生长。高油化工废水中含油量过高,不宜直接进行彻底的生化处理。需通过预处理、生化处理和后处理三部分完成,其处理后的水质能够达到国家排放标准。
1、高含油有机化工废水污染物的分类
高含油有机化工废水污染物是按照有毒和难降解特点进行分类的,大致可分为四类:第一类,具有良好的降解性能、无毒的有机物;第二类,降解性能较差、无毒的有机物;第三类,当液体浓度较低的时候,容易被微生物降解,但是当液体浓度高的时候,废水会抑制微生物的活性,是一种无毒的有机物;第四类,当液体浓度较低的时候会对微生物产生抑制且有毒的有机物。废水中不同有机物的耗氧速率示意图如图1所示。

在化工行业排放的废水中不会只有一种有机的污染物,而是含有两种或多种的污染物。如果废水的种类为第四类或者第三类时,需要使用两段串联的厌氧—好氧(A/O)生化处理工艺。在一般情况下,高含油有机化工废水可以视为第四类污染物为主的废水,因此从理论上来看,传统的处理工艺是比较理想的工艺。但是在实际生活中,该处理工艺不能达到预期的效果,且成本预算太高,在这种情况下,使用两段串联的厌氧—好氧(A/O)生化处理工艺能够改善废水预处理的模块,且成本预算较低。
2、生化处理工艺流程
2.1 预处理
预处理能够将油地、调节池、气浮池进行清除污油的处理,并且达到初步去油的效果。一般情况下,将油池与油水进行初步地分离,继分离之后再进行上浮或者混凝分离的步骤,这样就可以预防处理设备被堵塞,又能使各个设备的除油性能达到最佳。利用泵进行提升的时候,可以使用一次性除油机制,进而减少泵被乳化的程度。相对于粒度较大、凝固点较高的废水,首先需要对设备进行加热或者保温的处理来维持温度,从而达到防止油被凝固的问题。
2.2 废水的生化处理
经过除油的预处理使高含油废水中的含油量小于30mg/L,此时可以进行厌氧反应器处理→缺氧池→好氧池→中沉池→氧化处理→二次沉降,经过该系列的处理能够降低含油废水中的污染物、有害物质,并使用生物降解的方式将馏物和悬浮物进行降解。采用厌氧—好氧(A/O)生化处理工艺使生化处理在厌氧和好氧两段式中发挥各自的优势。
首先将废水放在厌氧的分子环境下,通过兼性微生物中的厌氧作用,使废水中的难降解的有机物经过酸化处理转化为易降解的有机物,使长链的有机物被转化为相对链条较短的醇类、醛类、脂肪酸等简单的有机物,进而大大地提高废水中有机物的降解性。利用厌氧菌可以将废水中的化学需氧量(COD)在甲烷菌的作用下,分解成H2、CH4、CO2的能源。然后将处理后的废水放在好氧的环境中,使废水中的醇类、醛类、脂肪酸等简单、短链的有机物经过好氧微生物的分解,得到H2O、CO2的无机物,从而降低化学需氧量(COD)和废水中的含油量。
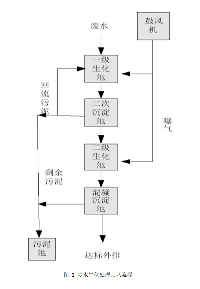
在工艺处理的过程中,可以在生化池和沉淀池中加入一些弹性填料,使池中的生物膜能够均匀地分布,同时大量的污泥悬浮,强化了废水的处理能力,增强了耐负荷的性能,进而大大提高了生物膜在处理过程中发挥的效果。具体的工艺流程如图2所示。

由图2可知:通过鼓风机曝气和生物膜的处理方法进行二次生化处理,将经过处理后的废水通过污水提升泵输送到一级的生化池中,该气浮在进水之前,需要进行二次沉淀,与回流的污泥充分的接触,进而形成活性的污泥。污泥与污水混合后,再从曝气的鼓风机中获取足够的氧(必须是溶解氧),进行硝化反应,使混合液中的可溶性有机物被具有活性的污泥吸附,从而达到微生物降解的目的,此时的化学需氧量(COD)已经被去除75%。
一级生化池中的废水自动流入到二次沉淀池中进行污泥与废水的分离,使用回流提升泵将污泥回送到曝气前,再次流出的水进入二级生化池的选择段。废水在二级生化池的选择段可以通过本文工艺选择有利于生物膜生长的填料,进一步的去除化学需氧量(COD),进而使生物发生硝化脱氮的反应,确保水中的氨氮指标正常。
在厌氧段中将池内设置为具有提升方式的微孔曝气,并进行布气地搅拌,利用自动的电气阀门调整间断性的进气周期,使该段空间始终维持在厌氧的状态下,此时的溶解氧需要被控制在0mg/L~1mg/L浓度之间。而在好氧段中也可采用将池内设置为具有提升方式的微孔曝气方法,并使此时的溶解氧被控制在1mg/L~2mg/L浓度之间。
从二级生化池流出的水自动进入混凝反应池当中,能够与投入的聚丙烯酰胺(PAM)进行混合反应,反应之后获取的水再流入混凝沉淀池当中,使泥与水充分的分离。沉淀池中剩余的污泥可以经过提升泵传送到脱水罐中,此时的化学需氧量(COD)已经被去除80%。
2.3 后处理
后处理是经过包括混合反应池、混凝沉淀池和过滤器的污泥浓缩和污泥脱水的污泥处理。其工艺流程见图3。

污油罐、调节罐罐底油自流至油泥浮渣池,经油泥浮渣泵送至三泥脱水罐浓缩脱水。混凝沉淀池的剩余污泥定期用泵送至三泥脱水罐。浓缩脱水的油泥用离心机进料泵送入离心脱水机脱水,形成泥饼,送到锅炉房做燃料。可加入两种高分子絮凝剂,阴离子型和阳离子型聚丙烯酰氨促进脱水。脱出的污水自流进入含油污水池,用含油污水提升泵送至含油污水调节罐,重新处理。
3、结语
总之生化处理技术能够有效地使难降解性有机物得到处理,且运行稳定、处理效果良好、操作方便,成本较低,适合在化工产业中广泛的应用。因此采用厌氧—好氧生化处理工艺是具有可行性的,设置预曝气能够将废水的混合物变得更加的均匀,容易处理,提高PH值能够有效的去除油性有机污染物,且费用较低、适合在实际生活中的应用。(来源:沈阳泽尔检测服务有限公司)


