濮阳县某化工有限公司主要经营范围是精细化工产品的制造、加工和营销。其中主要产品四氢亚胺生产废水水量为20t/d,废水主要来源于生产过程中的离心母液,离心废水和洗涤废水,废水中COD高达20000mg/L,有机氮浓度高,无机铵根含量高。四氢亚胺生产是以四氢邻苯二甲酸酐与尿素为原料,先将四氢邻苯二甲酸酐加热熔化后,再匀速加入尿素,两者完全反应后的产物加入到去离子水中,进行加热完全溶解,然后进行冷却,冷却析出晶体,然后离心脱水、洗涤并干燥,得到的白色固体为四氢亚胺,废水主要来自于对析出晶体的离心分离出的废水。由上可知,该生产废水成分复杂,含多环芳烃和杂环化合物等生物难降解物质,并且高含盐量、高COD和高氨氮,属于高浓度难处理的有机废水。
何苗研究表明,含氮杂环化合物在经厌氧酸化之后,表现出良好的可生化性。冯义彪研究表明,对于高浓度氨氮污水来说,可采用空气吹脱法、蒸汽汽提法和MAP沉淀法进行预处理,回收氨产品以补偿运行成本;对于中低浓度氨氮污水来说,可采用生物脱氮法、离子交换法和高级氧化法。许一平研究表明,通过阶段性提高氯化钠和氨氮浓度,将生活污水二沉池活性污泥驯化成为耐盐硝化污泥。在进水NaCl含量为30mg/L的条件下,经过24h处理后,耐盐硝化污泥可以将氨氮从100mg/L降解到15mg/L以下。
根据该废水水质特性,采用的工艺方案为:高浓度废水采用MVR蒸发脱盐,降低其废水含盐量;蒸发出水通过氨氮吹脱去除水中的大部分氨氮,再采用Fenton氧化法预处理以降低废水中难降解有机物的生物毒性。经预处理后的循环排污水和冲洗废水、生活污水等低浓度废水一起混合后进入生化系统,生化系统采用“水解酸化+A/O”处理工艺,出水指标均达到《化工行业水污染物间接排放标准》(DB41/1135-2016)表1标准。
1、设计水量及水质
根据濮阳县某化工有限公司提供的废水水量情况,通过物料衡算得出:高浓度离心废水20t/d,COD为20000mg/L;盐分20000mg/L;生活废水2t/d,COD为200mg/L;车间排出冲洗废水3t/d,COD为300mg/L;环保设施排水2.5t/d,COD为4000mg/L;水射真空泵排放废水0.5t/d,COD为1000mg/L;根据生化处理进水水质要求,将高浓度工艺废水进一步毒性削减和稀释进入综合调节池废水,总计排放的废水水量为30t/d。主要特点为高盐分,高COD和高氨氮。高浓度废水含有四氢亚胺产品中间体、产品原料等生物有毒害作用的特征因子,出水指标均达到《化工行业水污染物间接排放标准》(DB41/1135-2016)表1标准,设计进出水水质见下表1。

2、工艺流程及说明
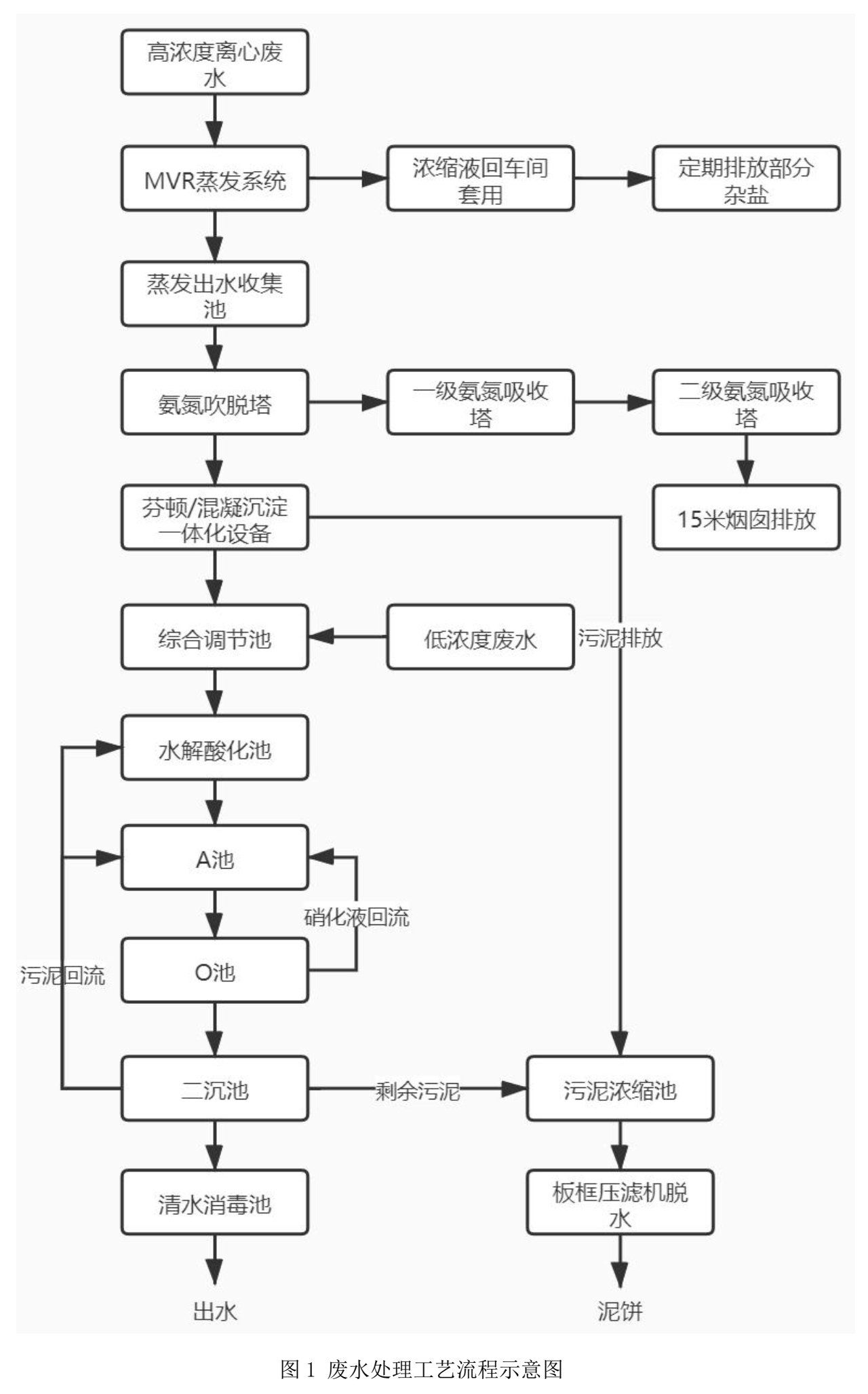
生产综合废水处理工艺如下图1所示。

2.1 预处理
先对四氢亚胺生产过程中产生的高浓度离心废水进行蒸发,蒸发采用较为节能的MVR蒸发器,蒸发器初期时以浓缩为目的,浓缩出的母液可以回用到生产中套用,提高产品回收率,运行到一定程度离心废水中含杂质成分较多是,再通过蒸发析出一定盐分,保证套用母液的品质;蒸发后出来的二次蒸汽通过冷凝形成的蒸发出水进入后续处理,通过蒸发降低了废水中的盐分,同时大部分COD被去除,提高废水的可生化性。为了保证母液回用的品质,废水蒸发过程中不加入任何药剂,使得蒸发出水氨氮含量较高,需要进行氨氮吹脱进一步降低,利用蒸发出水温度较高的特性,直接进行吹脱不仅提高吹脱效率,还可以降低碱的用量,同时降低了水温。经过氨氮吹脱后的废水,进入Fenton氧化/混凝沉淀一体化设备,在芬顿反应区加入H2O2和硫酸,利用亚铁离子作为催化剂产生高氧化能力自由基,以实现对难降解物质的深度氧化,降低生物毒性后进入生化系统。经过Fenton氧化处理后的废水,进入混凝沉淀池,加入烧碱、PAC和PAM,通过对水中胶体粒子的压缩双电层作用、吸附架桥作用及沉淀物卷扫作用,使胶体颗粒脱稳,从而聚集、沉降而分离。
通过室内小试和现场调试,确定了氨氮吹脱的最佳pH在11,气液比为3500:1,进入氨氮吹脱之前废水中氨氮含量为600-800mg/L,氨氮吹脱塔出水氨氮含量为100-150mg/L,氨氮去除率约为80%;Fenton氧化的最佳pH在3,H2O2投加浓度为1‰,硫酸亚铁(5%)投加浓度为1.2%,进入Fenton氧化之前废水中的COD为800-1200mg/L,经过Fenton氧化和混凝沉淀后废水COD为380-620mg/L,COD去除率约为50%。
2.2 生化处理
经Fenton氧化/混凝沉淀一体化设备的出水进入综合调节池,与低浓度废水混合以降低浓水COD,通过生活污水的补充,改善废水中各类物质的平衡,提高废水生化性。经调节的废水进入水解酸化池,利用厌氧的水解、酸化前两个阶段将废水中大分子有机物转化成小分子有机物,提高后续好氧生化系统的去除效率。水解酸化池出水进入缺氧池(A池),缺氧池设置潜水搅拌器,通过潜水搅拌器,将回流的污泥、硝化液和废水混合均匀,在缺氧条件下,反硝化菌利用部分有机物将硝酸盐氮(NO3-)和亚硝酸盐氮(NO2-)作为电子受体还原为氮气,并且为硝化作用提供碱度。缺氧池出水进入好氧池(O池),好氧池内以分子氧为最终电子受体,进行有氧呼吸来氧化有机物,降低废水中COD;同时在好氧环境下,硝化细菌将NH4+转化为NO3-和NO2-,从而降低废水中的氨氮。出水通过二沉池进行泥水分离,剩余污泥一部分回流,一部分进入浓缩池脱水,经压滤机压滤形成泥饼。二沉池出水进入清水消毒池,通过加药装置自动投加消毒药剂,杀灭废水中残留的有害细菌和病毒,最终出水达标排放。
水解酸化池和好氧池内设置有生物填料,可有效提高生化池内的微生物总量;水解酸化池采用泵循环进行水力搅拌,底部设置布水管,保证废水均匀通过生物填料层,提高处理效率;好氧池在充分曝气的条件下,使废水与附着在组合式生物填料上的微生物接触,利用它的吸附、氧化作用来进一步降低COD。
3、设计特点
1)针对该厂废水高盐分的特点,?用MVR蒸发方式,有效降低了盐分和提高了可生化性,为后续单元减轻了负荷。
2)氨氮吹脱塔设置在MVR蒸发之后,有效利用蒸发出水的热量,降低药剂消耗,提高了吹脱效率,吹脱出的氨气通过水吸收后,形成氨水,实现了资源回收。
3)Fenton氧化/混凝沉淀反应池采用一体化设备占地小,其操作简单、反应快速、可产生絮凝,药品用量小,有利于后续生化处理。
4)水解酸化池对COD去除效率低,其主要作用是将大分子有机物转化成小分子有机物,改善废水的可生化性,提高了废水处理系统抗冲击负荷能力。
5)好氧处理采用A/O组合形式,不仅能很好的去除COD、氨氮和总氮,还可以通过反硝化过程中产生的碱度,来补充硝化过程对碱度的需求,减少废水中碱性物质的投加量,降低运行成本对。
6)水解酸化和好氧池中使用组合式纤维填料,该填料具有散热性能高,阻力小,布水、布气性能好,易长膜,机械强度高,又有切割气泡和水流的作用。
4、主要构筑及参数
主要构筑物及参数见表2。

5、运行效果
本项目于2019年12月建设完成并完成了清水联机调试,后因受到疫情影响,2020年5月份开始进厂调试,并投加濮阳市第一污水厂活性污泥,开始进行微生物驯化培养,2020年7月份出水经第三方检测合格后移交业主。
原水COD浓度为20000mg/L、氨氮浓度为800mg/L、总氮浓度为1200mg/L,经过MVR蒸发处理后废水COD浓度为1500mg/L、氨氮浓度为600mg/L、总氮浓度为650mg/L,经过氨氮吹脱后COD浓度为1500mg/L、氨氮浓度为100mg/L、总氮浓度为130mg/L,经过芬顿/混凝沉淀一体化设备处理后COD浓度为800mg/L、氨氮浓度为95mg/L、总氮浓度为130mg/L,经过综合调节后COD浓度为600mg/L、氨氮浓度为80mg/L、总氮浓度为110mg/L,经过水解酸化池处理后COD浓度为490mg/L、氨氮浓度为95mg/L、总氮浓度为100mg/L,经过缺氧池处理后COD浓度为280mg/L、氨氮浓度为38mg/L、总氮浓度为42mg/L,经好氧池处理后COD浓度为100mg/L、氨氮浓度为10mg/L、总氮浓度为37mg/L。
6、投资运行成本
本项目总投资约380万元,其中MVR蒸发设备投资250万元,其他国产农村野外A片性视频部分投资80万元,土建构筑物及车间投资50万元。不含MVR蒸发费用,吨水处理成本为3.7元;包含MVR蒸发费用,吨水处理成本为63.7元。
7、结论
1)采用蒸发-氨氮吹脱-Fenton氧化-水解酸化-A/O组合工艺处理高盐分、高COD和高氨氮精细化工生产废水,COD去除率99.5%,氨氮去除率98.8%总氮去除率97%。出水水质均优于《化工行业水污染物间接排放标准》(DB41/1135-2016)表1标准。
2)废水先经过蒸发处理后,有效降低了废水中的盐分,再配合氨氮吹脱,可大幅去除水中的氨氮、总氮污染物。
3)Fenton氧化可实现了难降解的含氮杂环物质的深度氧化,显著提高了废水的可生化性且为后续单元减轻负荷。
4)通过水解酸和+A/O处理工艺,能进一步去除废水中的COD、氨氮、总氮等污染物,对高氨氮废水要注意监测处理过程中好氧池(O池)中pH的变化规律,在pH低于7.2时要及时补充碱度。(来源:河南海天环境科技有限公司)



