申请日2016.05.05
公开(公告)日2016.11.30
IPC分类号B02C17/18
摘要
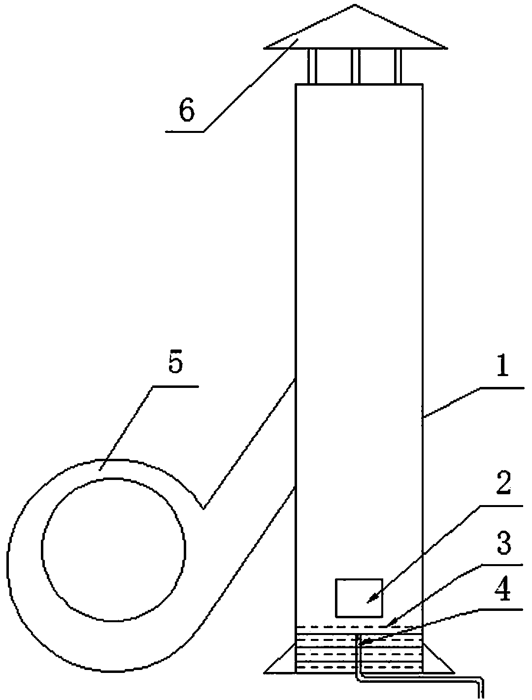
本实用新型提出了一种球磨机收尘管废水收集装置,其包括与球磨机连接的收尘出风管,在收尘出风管的底部设观察门,在收尘出风管内观察门的下部连设排水管,排水管的另一端与磨机循环水池连接。本实用新型收尘风机在运行中,当水份通过收尘管管道排出遇冷空气形成大量水滴时与风帽相撞下落,实现对收尘排水进行收集,再利用排水管管道输送至磨机循环水池,达到了废水再利用、改善现场环境的目的。
权利要求书
1.一种球磨机收尘管废水收集装置,包括与球磨机连接的收尘出风管,其特征是在所述收尘出风管的底部设观察门,在收尘出风管内观察门的下部连设排水管,排水管的另一端与磨机循环水池连接。
说明书
球磨机收尘管废水收集装置
技术领域
本实用新型涉及球磨机,具体涉及一种球磨机收尘管废水收集装置。
背景技术
水泥生产企业粉磨系统大都采用4台Φ3.8m*13mm的球磨机。为了降低水泥配料成本以及废物综合利用,常采购大量脱硫石膏、沸石、钒渣等物料,这些物料含水量一般在10%—25%左右。在使用过程中,经过搭配后的入磨物料水份PO42.5级水泥在0.7%左右,PC32.5级水份在0.9%—1.2%左右,夏季雨水多时水份更大一些。生产过程中,水份通过收尘管道排出后遇冷空气形成大量水滴,散落在收尘附近,造成生产现场一片泥泞、工作环境恶化。
发明内容
本实用新型所要解决的技术问题是设计一种球磨机收尘管废水收集装置,利用该装置能够收集收尘管处的排水,达到废水再利用的目的。
为解决上述技术问题,本实用新型所采取的技术方案是:一种球磨机收尘管废水收集装置,包括与球磨机连接的收尘出风管,在所述收尘出风管的底部设观察门,在收尘出风管内观察门的下部连设排水管,排水管的另一端与磨机循环水池连接。
本实用新型采用上述技术方案所设计的球磨机收尘管废水收集装置,由于在收尘出风管的底部设与磨机循环水池连接的排水管,收尘风机在运行中,当水份通过收尘管管道排出遇冷空气形成大量水滴时与风帽相撞下落,实现对收尘排水进行收集,再利用排水管管道输送至磨机循环水池,达到了废水再利用、改善现场环境的目的。



