申请日2016.05.04
公开(公告)日2016.09.07
IPC分类号C02F9/14; C02F103/28
摘要
本实用新型公开了一种造纸废水可生化处理装置,其包括等离子体发生器、分解池及生化反应器,等离子体发生器通过第一管道与分解池内的盘管连接,在该盘管上分布有若干个小孔,经过等离子体发生器的含氧自由基、含氮自由基等在盘管中小孔的作用下,与造纸废水充分接触,造纸废水中的色素等氧化成易吸收氮化物和硫化物,处理后的液体通过第二管道进入生化反应器,生化反应器中通过菌种生化反应处理其中的有机物,完成废水的深度处理。本实用新型经过二次处理,提高了造纸废水的处理效率。
权利要求书
1.一种造纸废水可生化处理装置,其包括等离子体发生器、分解池及生化反应器,其特征在于:
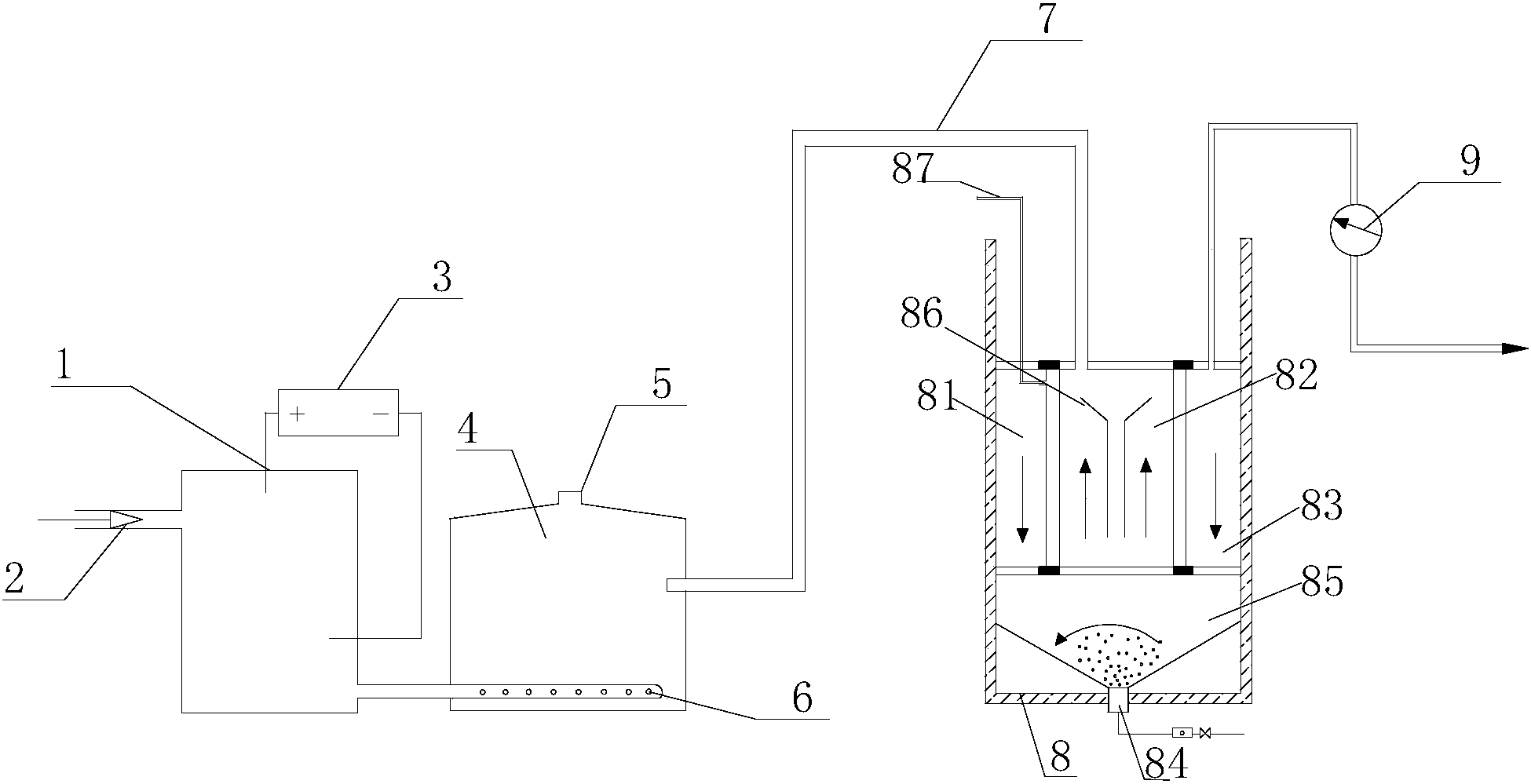
所述等离子体发生器包括腔体,所述腔体的两侧分别设置有进口一和出口一,在所述腔体的顶部连接有用于产生脉冲正负电流的电源;
所述分解池内放置造纸废水,在所述分解池的底部设置有盘管,所述盘管上分布有若干个小孔,所述出口一通过第一管道与所述盘管连接,所述分解池壁设置有出口二和出口三,所述出口二用于气体排出,所述出口三与所述生化反应器的入口通过第二管道连接;
所述生化反应器自下而上分为沉淀区、反应区和顶部区,相邻的两个区通过筛板分隔,反应区内垂向布设有管式膜组件一和管式膜组件二,管式膜组件一和管式膜组件二的顶部和底部分别固定在筛板上,管式膜组件一和管式膜组件二将所述反应区划分为两个降流区和一个升流区。
2.根据权利要求1所述的造纸废水可生化处理装置,其特征在于:所述升流区位于中间,升流区内设置有引流板组,引流板组为“Y”形。
说明书
造纸废水可生化处理装置
技术领域
本实用新型属于造纸废水处理技术领域,具体涉及一种造纸废水可生化处理装置。
背景技术
造纸废水中主要含有半纤维素、木质素、无机酸盐、细小纤维、无机填料、染料等污染物,其中的半纤维素和木质素主要形成废水的COD和BOD5,细小纤维、无机填料等主要形成悬浮物,染料等主要形成色度,对我国水环境造成的严重污染,己成为工业污染防治的焦点、热点和难点问题,要研究造纸工业废水及其污染特性,对症下药,才能取得理想的防治效果。
随着科技的不断发展,废水处理技术日新月异,传统的废水处理技术不断被革新和发展,现在针对纸浆造纸废水的处理方法很对,但是目前一般的造纸厂大多数仍然是还是采用传统的物理处理和化学处理相结合的工艺,工艺路线陈旧,处理效率较低,且易造成二次污染,近年来出现的生物膜超滤技术、反渗透、电渗析、离子交换处理技术,由于其处理成本太高,在工业中实现困难,因此,至今尚没有工业化的成熟处理技术可用。
实用新型内容
针对上述现有技术中造纸废水处理不完全的问题,本实用新型提出了一种造纸废水可生化处理装置,在该处理装置的分解池中利用等离子体中的活泼含氧自由基和含氮自由基对造纸废水中的木质素、半纤维素等大分子物质氧化断链,生成小分子有机物,初步处理后的废水通过生化反应器进行深度处理,提高了造纸废水的处理效率。
其技术解决方案包括:
一种造纸废水可生化处理装置,其包括等离子体发生器、分解池及生化反应器,所述等离子体发生器包括腔体,所述腔体的两侧分别设置有进口一和出口一,在所述腔体的顶部连接有用于产生脉冲正负电流的电源;
所述分解池内放置造纸废水,在所述分解池的底部设置有盘管,所述盘管上分布有若干个小孔,所述出口一通过第一管道与所述盘管连接,所述分解池壁设置有出口二和出口三,所述出口二用于气体排出,所述出口三与所述生化反应器的入口通过第二管道连接;
所述生化反应器自下而上分为沉淀区、反应区和顶部区,相邻的两个区通过筛板分隔,反应区内垂向布设有管式膜组件一和管式膜组件二,管式膜组件一和管式膜组件二的顶部和底部分别固定在筛板上,管式膜组件一和管式膜组件二将所述反应区划分为两个降流区和一个升流区。
作为本实用新型的一个优选方案,所述升流区位于中间,升流区内设置有引流板组,引流板组为“Y”形。
本实用新型带来的有益技术效果是:
通过等离子体发生器与分解池内的盘管相互配合,当装置运行时,等离子体发生器在电源的作用下,将从进口一进入的气体中的含氧自由基、含氮自由基通过第一管道输送至盘管,在盘管中,含氧自由基、含氮自由基等在与造纸废水作用过程中能把其中的木质素和半纤维素等难处理物质分解成小分子有机物,色素等氧化成易吸收氮化物和硫化物,处理后的液体通过第二管道进入生化反应器,生化反应器中通过菌种生化反应处理其中的有机物,完成废水的深度处理。
盘管管体上设置小孔,可以使含氧自由基等与造纸废水充分接触,提高分解效率。



