申请日2015.07.22
公开(公告)日2015.12.09
IPC分类号B01D36/04
CPC分类号
摘要
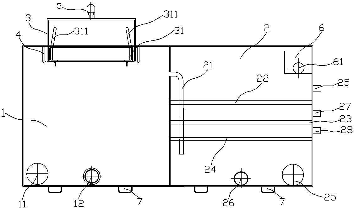
一种雨水处理装置,其通过接篮盒内设有一用于过滤第一进水管中的雨水的接渣篮对雨水进行第一次过滤,可将雨水中大的漂浮物截留,泥沙等沉入过滤水箱的底部,过滤后的雨水通过第二进水管进入沉淀水箱,由于沉淀水箱内从上至下依次设有第一过滤板、第二过滤板及第三过滤板,第二进水管依次穿设于第一过滤板、第二过滤板及第三过滤板并伸入沉淀水箱的底部,这样,可使得经过过滤水箱过滤后的雨水在沉淀水箱内进一步经过第一过滤板、第二过滤板及第三过滤板过滤和沉淀,从而可对进入沉淀水箱的雨水中的泥沙等进一步进行多级过滤和沉淀,可在雨水的不间断流动下实现对其及时的有效过滤处理,从而可提高雨水利用效果。
权利要求书
1.一种雨水处理装置,其特征在于,包括一过滤水箱和一沉淀水箱,所述过滤水箱上设有一接篮盒,所述接篮盒通过一接篮盒托件固定在所述过滤水箱上,所述接篮盒的盒盖上设有一用于将雨水导流到所述过滤水箱的第一进水管,所述接篮盒内设有一用于过滤所述第一进水管中的雨水的接渣篮,所述接渣篮的两侧边分别设有一用于将所述接渣篮放入所述接篮盒内或从所述接篮盒内取出的把手;所述沉淀水箱设有用于将所述过滤水箱中的雨水导流到所述沉淀水箱的第二进水管,所述沉淀水箱内从上至下依次设有第一过滤板、第二过滤板及第三过滤板,所述第二进水管依次穿设于所述第一过滤板、第二过滤板及第三过滤板并伸入所述沉淀水箱的底部,所述沉淀水箱一侧的上部设有一溢流盒,所述溢流盒的底部开设有一用于将溢流到所述溢流盒中的雨水排出的第一排水口,所述沉淀水箱侧壁上设有一用于将所述沉淀水箱中的雨水排到蓄水池中的第二排水口且所述第二排水口位于所述溢流盒和第一过滤板之间。
2.根据权利要求1所述的雨水处理装置,其特征在于,所述过滤水箱的底部和所述沉淀水箱的底部分别设有至少两个呈直线排列的加强筋。
3.根据权利要求1所述的雨水处理装置,其特征在于,所述过滤水箱下部分别设有一用于将所述过滤水箱中的污水排放出去的第三排水口和一用于掏取所述过滤水箱内渣滓的第一掏渣口。
4.根据权利要求1所述的雨水处理装置,其特征在于,所述沉淀水箱下部分别设有一用于将所述沉淀水箱中的污水排放出去的第四排水口和一用于掏取所述沉淀水箱内渣滓的第二掏渣口。
5.根据权利要求1所述的雨水处理装置,其特征在于,所述第一过滤板、第二过滤板及第三过滤板上均设有过滤孔且所述第一过滤板上的过滤孔的孔径小于所述第二过滤板上的过滤孔的孔径,所述第二过滤板上的过滤孔小于所述第三过滤板上的过滤孔的孔径。
6.根据权利要求1所述的雨水处理装置,其特征在于,所述沉淀水箱还设有一第三掏渣口,所述第三掏渣口位于所述第一过滤板与所述第二过滤板之间的所述沉淀水箱的侧壁上。
7.根据权利要求1所述的雨水处理装置,其特征在于,所述沉淀水箱还设有一第四掏渣口,所述第三掏渣口位于所述第二过滤板与所述第三过滤板之间的所述沉淀水箱的侧壁上。
说明书
一种雨水处理装置
技术领域
本实用新型涉及水处理技术领域,尤其涉及一种雨水处理装置。
背景技术
作为地面及地下水源的一种有力补充,雨水不仅可用于植被灌溉等,对其进行汇集利用更是具有很好的经济效益和现实意义。目前人们对雨水的汇集利用,往往是采用储水池先对其进行归集并进行自然沉降处理,然后再添加药剂等以进行进一步的处理。由于雨水在沿地面流动过程中掺杂进大量的悬浮物及污泥,因而采用沉降处理的方式,往往需要经常对储水池进行清淤处理,同时这种处理方式处理效率也很低,不能满足雨水的及时利用,或者是需要建立很大容积的储水池,因而降低了雨水的利用效果。
实用新型内容
本实用新型的目的在于克服上述现有技术的不足,提供一种可及时有效地出来雨水,以提高对雨水的利用效果的雨水处理装置。
本实用新型是这样实现的,一种雨水处理装置,包括一过滤水箱和一沉淀水箱,所述过滤水箱上设有一接篮盒,所述接篮盒通过一接篮盒托件固定在所述过滤水箱上,所述接篮盒的盒盖上设有一用于将雨水导流到所述过滤水箱的第一进水管,所述接篮盒内设有一用于过滤所述第一进水管中的雨水的接渣篮,所述接渣篮的两侧边分别设有一用于将所述接渣篮放入所述接篮盒内或从所述接篮盒内取出的把手;所述沉淀水箱设有用于将所述过滤水箱中的雨水导流到所述沉淀水箱的第二进水管,所述沉淀水箱内从上至下依次设有第一过滤板、第二过滤板及第三过滤板,所述第二进水管依次穿设于所述第一过滤板、第二过滤板及第三过滤板并伸入所述沉淀水箱的底部,所述沉淀水箱一侧的上部设有一溢流盒,所述溢流盒的底部开设有一用于将溢流到所述溢流盒中的雨水排出的第一排水口,所述沉淀水箱侧壁上设有一用于将所述沉淀水箱中的雨水排到蓄水池中的第二排水口且所述第二排水口位于所述溢流盒和第一过滤板之间。
进一步地,所述过滤水箱的底部和所述沉淀水箱的底部分别设有至少两个呈直线排列的加强筋。
进一步地,所述过滤水箱下部分别设有一用于将所述过滤水箱中的污水排放出去的第三排水口和一用于掏取所述过滤水箱内渣滓的第一掏渣口。
进一步地,所述沉淀水箱下部分别设有一用于将所述沉淀水箱中的污水排放出去的第四排水口和一用于掏取所述沉淀水箱内渣滓的第二掏渣口。
进一步地,所述第一过滤板、第二过滤板及第三过滤板上均设有过滤孔且所述第一过滤板上的过滤孔的孔径小于所述第二过滤板上的过滤孔的孔径,所述第二过滤板上的过滤孔小于所述第三过滤板上的过滤孔的孔径。
进一步地,所述沉淀水箱还设有一第三掏渣口,所述第三掏渣口位于所述第一过滤板与所述第二过滤板之间的所述沉淀水箱的侧壁上。
进一步地,所述沉淀水箱还设有一第四掏渣口,所述第三掏渣口位于所述第二过滤板与所述第三过滤板之间的所述沉淀水箱的侧壁上。
本实用新型提供的雨水处理装置,通过接篮盒内设有一用于过滤第一进水管中的雨水的接渣篮对雨水进行第一次过滤,可将雨水中大的漂浮物截留,泥沙等沉入过滤水箱的底部,过滤后的雨水通过第二进水管进入沉淀水箱,由于沉淀水箱内从上至下依次设有第一过滤板、第二过滤板及第三过滤板,第二进水管依次穿设于第一过滤板、第二过滤板及第三过滤板并伸入沉淀水箱的底部,这样,可使得经过过滤水箱过滤后的雨水在沉淀水箱内进一步经过第一过滤板、第二过滤板及第三过滤板过滤和沉淀,从而可对进入沉淀水箱的雨水中的泥沙等进一步进行多级过滤和沉淀,可在雨水的不间断流动下实现对其及时的有效过滤处理,从而可提高雨水利用效果。







