申请日2015.08.20
公开(公告)日2015.12.23
IPC分类号F24F13/22
摘要
一种空调冷凝水处理利用装置,包括与空调内机连接的冷凝集水管,所述冷凝集水管另一端连接有用于收集空调内机上冷凝水的集水箱,所述集水箱安装在空调外机上,所述空调外机外围设有扩散蒸发构件,所述集水箱的内部设有卷帘机构,所述扩散蒸发构件通过卷帘机构浸入冷凝集水箱。与现有技术相比,本实用新型的空调冷凝水处理装置,可以使冷凝水充分蒸发、利用,杜绝滴漏,提高空调的散热制冷效率,同时,还可以降低外排空气温度;扩散蒸发构件不影响通风,避免了冷凝水雾化处理时喷淋到散热器翅片上易导致翅片表面结垢,粘灰堵塞,影响散热等不良后果,同时提高空调的换热效率,是一种新型的节能、环保装置。
权利要求书
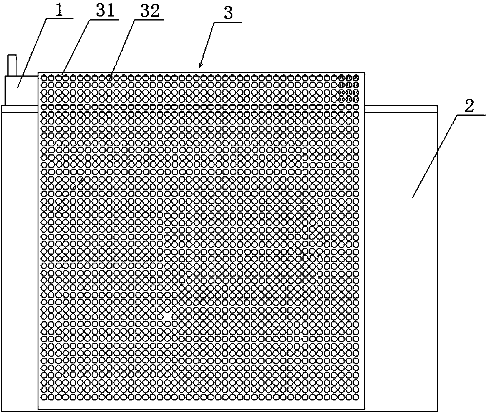
1.一种空调冷凝水处理利用装置,其特征在于,包括与空调内机连接的冷凝集 水管,所述冷凝集水管另一端连接有用于收集空调内机上冷凝水的集水箱,所 述集水箱安装在空调外机上,所述空调外机外围设有扩散蒸发构件,所述集水 箱的内部设有卷帘机构,所述扩散蒸发构件通过卷帘机构浸入冷凝集水箱。
2.如权利要求1所述的空调冷凝水处理利用装置,其特征在于,所述扩散蒸发 构件包括若干相互连通的编织纤维网线,该些编织纤维网线呈阵列状布设在空 调外机外围。
3.如权利要求2所述的空调冷凝水处理利用装置,其特征在于,所述扩散蒸发 构件上设有若干通风网孔,该些通风网孔均匀的布设在扩散蒸发构件表面。
4.如权利要求1或2或3所述的空调冷凝水处理利用装置,其特征在于,所述 扩散蒸发构件通过磁吸固定架可拆卸的安装在空调外机的外围。
5.如权利要求2或3所述的空调冷凝水处理利用装置,其特征在于,所述编织 纤维网线的颜色为易于吸热的黑色。
说明书
一种空调冷凝水处理利用装置
技术领域
本实用新型涉及空调设备技术领域,特别涉及一种空调冷凝水处理利用装 置。
背景技术
关于空调冷凝水利用的现有技术状况,大都是收集来浇花、拖地、清洗, 或者是将其收集后雾化喷淋到散热器上辅助散热,高楼的空调往往还需要斥资 安装专门的冷凝水管道处理,但这些方法往往有处理不方便,不能完全处理, 而雾化处理时喷淋到散热器翅片上易导致翅片表面结垢,粘灰堵塞,影响散热 等不良后果,在日常生活中给使用者带来了一定的不便。
实用新型内容
本实用新型目的在于提供一种空调冷凝水处理利用装置,以解决现有技术 空调内机冷凝水处理不方便,以及雾化处理时喷淋到散热器翅片上易导致翅片 表面结垢,粘灰堵塞,影响散热等不良后果的技术性缺陷。
本实用新型的技术方案是这样实现的:
一种空调冷凝水处理利用装置,包括与空调内机连接的冷凝集水管,所述 冷凝集水管另一端连接有用于收集空调内机上冷凝水的集水箱,所述集水箱安 装在空调外机上,所述空调外机外围设有扩散蒸发构件,所述集水箱的内部设 有卷帘机构,所述扩散蒸发构件通过卷帘机构浸入冷凝集水箱。
优选地,所述扩散蒸发构件包括若干相互连通的编织纤维网线,该些编织 纤维网线呈阵列状布设在空调外机外围。
优选地,所述扩散蒸发构件上设有若干通风网孔,该些通风网孔均匀的布 设在扩散蒸发构件表面。
优选地,所述扩散蒸发构件通过磁吸固定架可拆卸的安装在空调外机的外 围。
优选地,所述编织纤维网线的颜色为易于吸热的黑色。
与现有技术相比,本实用新型有以下有益效果:
1、本实用新型的空调冷凝水处理利用装置,通过冷凝集水箱连接扩散蒸发 构件,将冷凝水在室外蒸发掉,避免了冷凝水雾化处理时喷淋到散热器翅片上 易导致翅片表面结垢,粘灰堵塞,影响散热等不良后果,同时提高了空调的使 用寿命;
2、本实用新型的空调冷凝水处理利用装置,具有无动力消耗、结构简单、 不对室外机做任何改动、长期使用不仅能避免无任何机构结垢、堵塞等不良后 果,同时停机后还可自发将剩余水吸干、自然蒸发,避免了冷凝水留存发臭, 长青苔等弊端。







