公开(公告)日2015.01.21
IPC分类号C02F9/12
摘要
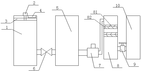
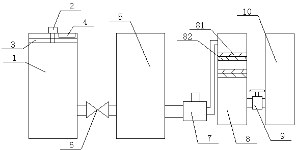
本实用新型涉及废水处理技术领域,特别涉及一种高效率废水处理机构,它包含过滤池、驱动电机、滤网机构、消磁清理器、反应池、输送泵、臭氧泵、电场水处理器、阀门、储水池,过滤池的上端安装有盖板,盖板上设置有进水口,盖板的下侧设置有滤网机构,滤网机构的中部与驱动电机的转轴连接,消磁清理器安装在盖板的底部,且设置在进水口的一侧,过滤池通过管道、输送泵与反应池连接,反应池通过臭氧泵与电场水处理器连接,水处理器内设置有数个活性炭层与吸附层,水处理器通过管道、阀门与储水池连接;它提高了工作效率,节省了时间,延长了使用寿命,操作简便。
权利要求书
1.一种高效率废水处理机构,其特征在于:它包含过滤池(1)、驱动电机(2)、滤网机构(3)、消磁清理器(4)、反应池(5)、输送泵(6)、臭氧泵(7)、电场水处理器(8)、阀门(9)、储水池(10),过滤池(1)的上端安装有盖板,盖板上设置有进水口(1-1),盖板的下侧设置有滤网机构(3),滤网机构(3)的中部与驱动电机(2)的转轴连接,消磁清理器(4)安装在盖板的底部,且设置在进水口(1-1)的一侧,过滤池(1)通过管道、输送泵(6)与反应池(5)连接,反应池(5)通过臭氧泵(7)与电场水处理器(8)连接,水处理器(8)内设置有数个活性炭层(81)与吸附层(82),水处理器(8)通过管道、阀门(9)与储水池(10)连接。
2.根据权利要求1所述的一种高效率废水处理机构,其特征在于:所述的滤网机构(3)上设置有十字架,十字架上安装有带有磁性的滤网。
说明书
一种高效率废水处理机构
技术领域
本实用新型涉及废水处理技术领域,特别涉及一种高效率废水处理机构。
背景技术
废水是指居民活动过程中排出的水及径流雨水的总称。它包括生活污水、工业废水和初雨径流入排水管渠等其它无用水,一般指没有利用或没利用价值的水。
废水处理就是利用物理、化学和生物的方法对废水进行处理,使废水净化,减少污染,以至达到废水回收、复用,充分利用水资源。
按处理程度,废水处理(主要是城市生活污水和某些工业废水)一般可分为三级。
一级处理的任务是从废水中去除呈悬浮状态的固体污染物。为此,多采用物理处理法。一般经过一级处理后,悬浮固体的去除率为70%~80%,而生化需氧量(BOD)的去除率只有25%~40%左右,废水的净化程度不高。
二级处理的任务是大幅度地去除废水中的有机污染物 ,以 BOD 为例 ,一般通过 二级处 理后 ,废水中的 BOD可去除80%~90%,如城市污水处理后水中的 BOD含量可低于30毫克/升。需氧生物处理法的各种处理单元大多能够达到这种要求。
三级处理的任务是进一步去除二级处理未能去除的污染物,其中包括微生物未能降解的有机物、磷、氮和可溶性无机物。
现有的废水处理机构其使用寿命短,而且操作复杂,浪费时间,使用不方便。
实用新型内容
本实用新型的目的在于针对现有技术的缺陷和不足,提供一种结构简单,设计合理、使用方便的一种高效率废水处理机构,它提高了工作效率,节省了时间,延长了使用寿命,操作简便。
为实现上述目的,本实用新型采用的技术方案是:
本实用新型所述的一种高效率废水处理机构,它包含过滤池、驱动电机、滤网机构、消磁清理器、反应池、输送泵、臭氧泵、电场水处理器、阀门、储水池,过滤池的上端安装有盖板,盖板上设置有进水口,盖板的下侧设置有滤网机构,滤网机构的中部与驱动电机的转轴连接,消磁清理器安装在盖板的底部,且设置在进水口的一侧,过滤池通过管道、输送泵与反应池连接,反应池通过臭氧泵与电场水处理器连接,水处理器内设置有数个活性炭层与吸附层,水处理器通过管道、阀门与储水池连接。
所述的滤网机构上设置有十字架,十字架上安装有带有磁性的滤网。
采用上述结构后,本实用新型有益效果为:本实用新型所述的一种高效率废水处理机构,它提高了工作效率,节省了时间,延长了使用寿命,操作简便。







