申请日2013.08.21
公开(公告)日2014.04.09
IPC分类号C02F9/04
摘要
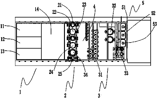
本实用新型公开了一种移动式电力专用水处理装置,包括储水系统、增压系统、过滤系统、检修通道和加药系统,其中,储水系统,包括用于初步过滤的过滤水箱,及用于精密过滤的超滤水箱,及用于储存干净水的一级纯水箱和二级纯水箱;增压系统包括原水增压泵,二级高压泵,一级纯水增压泵,一级高压泵;过滤系统包括叠片式过滤器,精密过滤器,超滤模组,保安过滤器;加药系统包括杀菌剂加药系统,还原剂加药系统,阻垢剂加药系统;所述的杀菌剂加药系统通过管路往过滤水箱加入杀菌剂,还原剂加药系统通过管路往超滤水箱中加入还原剂。本实用新型主要电力设备领域。
权利要求书
1.一种移动式电力专用水处理装置,包括储水系统、增压系统、过滤系统、检修通道和加药系统,其中,
储水系统,包括用于初步过滤的过滤水箱,及用于精密过滤的超滤水箱,及用于储存干净水的一级纯水箱和二级纯水箱;
增压系统包括原水增压泵,二级高压泵,一级纯水增压泵,一级高压泵,供水增压泵直接从二级纯水箱取水后给用水点进行供水;
过滤系统包括叠片式过滤器,精密过滤器,超滤模组,保安过滤器;
加药系统包括杀菌剂加药系统,还原剂加药系统,阻垢剂加药系统;
其特征在于:所述的杀菌剂加药系统通过管路往过滤水箱加入杀菌剂,还原剂加药系统通过管路往超滤水箱中加入还原剂。
2.根据权利要求1所述的一种移动式电力专用水处理装置,其特征在于:所述的增压系统与超滤模组之间,超滤模组与精密过滤器之间均有检修通道。
3.根据权利要求1所述的一种移动式电力专用水处理装置,其特征在于:所述的过滤水箱与超滤水箱之间按水流方向依次安装有原水增压泵、还原剂加药系统、精密过滤器、超滤模组。
4.根据权利要求1所述的一种移动式电力专用水处理装置,其特征在于:所述的超滤水箱与一级纯水箱之间按水流方向依次安装有原水增压泵、阻垢剂加药系统、保安过滤器、一级高压泵。
5.根据权利要求1所述的一种移动式电力专用水处理装置,其特征在于:所述的一级纯水箱和二级纯水箱管路之间安装有二级高压泵。
6.根据权利要求1所述的一种移动式电力专用水处理装置,其特征在于:所述的二级纯水箱的容量大于一级纯水箱的容量。
7.根据权利要求1所述的一种移动式电力专用水处理装置,其特征在于:所述的原水增压泵,二级高压泵,一级纯水增压泵,一级高压泵上均设置有急停开关。
8.根据权利要求1所述的一种移动式电力专用水处理装置,其特征在于:所述的原水增压泵,二级高压泵,一级纯水增压泵,一级高压泵、供水增压泵及过滤水箱,超滤水箱,一级纯水箱、二级纯水箱的进出口均配有软接头。
9.根据权利要求1所述的一种移动式电力专用水处理装置,其特征在于:所述的过滤水箱,超滤水箱,一级纯水箱、二级纯水箱均设置有液位上下限报警装置。
说明书
一种移动式电力专用水处理装置
技术领域
本实用新型涉及电力设备领域,尤其涉及一种移动式电力专用水处理装置。
背景技术
随着我国超高压、大容量输电线路建设快速增长,且对供电可靠性要求越来越高,采用传统的常规的人工冲洗作业方法,不仅作业人员劳动强度大,条件艰苦,在短期内动员大量的人力物力,而且效率较低,难于满足电网长期稳定的要求,所以采用直升机带电水冲洗作业具有极大的市场前景,目前直升机进行注水时,必须要飞到河边或者有水源的地方进行注水,对于地理位置的限制特别高,而且因为户外的水中杂质较多,对于清洗电线效果并不理想,容易对电线造成二次污染,造成直升机野外作业半径小,效率低,能源消耗大。
实用新型内容
本实用新型公开了,用以解决现有技术的不足。
为解决上述问题,本实用新型的技术解决方案是:
一种移动式电力专用水处理装置,包括储水系统、增压系统、过滤系统、检修通道和加药系统,其中,
储水系统,包括用于初步过滤的过滤水箱,及用于精密过滤的超滤水箱,及用于储存干净水的一级纯水箱和二级纯水箱;
增压系统包括原水增压泵,二级高压泵,一级纯水增压泵,一级高压泵,供水增压泵直接从二级纯水箱取水后给用水点进行供水。
过滤系统包括叠片式过滤器,精密过滤器,超滤模组,保安过滤器;
加药系统包括杀菌剂加药系统,还原剂加药系统,阻垢剂加药系统;
所述的杀菌剂加药系统通过管路往过滤水箱加入杀菌剂,还原剂加药系统通过管路往超滤水箱中加入还原剂。
所述的增压系统与超滤模组之间,超滤模组与精密过滤器之间均有检修通道。
所述的过滤水箱与超滤水箱之间按水流方向依次安装有原水增压泵、还原剂加药系统、精密过滤器、超滤模组。
所述的超滤水箱与一级纯水箱之间按水流方向依次安装有原水增压泵、阻垢剂加药系统、保安过滤器、一级高压泵。
所述的一级纯水箱和二级纯水箱管路之间安装有二级高压泵。
所述的二级纯水箱的容量大于一级纯水箱的容量。
所述的原水增压泵,二级高压泵,一级纯水增压泵,一级高压泵上均设置有急停开关。
所述的原水增压泵,二级高压泵,一级纯水增压泵,一级高压泵、供水增压泵及过滤水箱,超滤水箱,一级纯水箱、二级纯水箱的进出口均配有软接头。
所述的过滤水箱,超滤水箱,一级纯水箱、二级纯水箱均设置有液位上下限报警装置。
本实用新型的有益效果是:通过此移动式电力专用水处理装置,可以将户外河流中的水进行净化处理,并可以储存已处理后的干净的水,可提供直升机在野外对电线清洗作业时的清洗用水,保证直升机户外用水的清洁,增大了直升机野外作业半径,提高了直升机野外作业效率高,降低了能源损耗。







