申请日2013.08.20
公开(公告)日2013.12.11
IPC分类号E03C1/182; E03C1/12
摘要
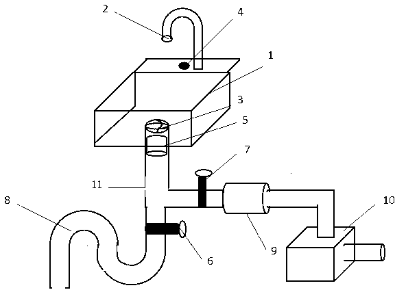
一种废水回收利用洗衣池,其结构包括水池、水龙头、水池阀、水池阀开关、过滤网、排水阻水阀、净水阻水阀、U型下水管、净水过滤器、储水箱、下水管。本发明可以对洗衣池用过的废水进行二次利用,例如,洗衣池的洗衣服水比较干净时,可以通过净水过滤器进行过滤,并储备到储水箱里供浇花、拖地、冲厕所等二次使用,达到废水重新利用的效果,大大的节约地球的淡水资源,同时也减少了污水的排放量,对周围的环境具有一定的环保作用。
权利要求书
1.一种废水回收利用洗衣池,其特征在于:所述洗衣池结构包括水池、水龙头、水池阀、水池阀开关、过滤网、排水阻水阀、净水阻水阀、U型下水管、净水过滤器、储水箱、下水管;
水池可用陶瓷材料制成,水池上部有个小台面,台面上安装有水龙头,水龙头旁边安装水池阀开关,水池的底部中央安装下水管,下水管顶端与水池中央和水池阀连接,水池阀后面连接过滤网,下水管分两路,一路接净化阻水阀,再接净化过滤器后接入储水箱,另一路接排水阻水阀后接U型下水管,污水排出;通过水池阀开关对水池阀进行打开和关闭,过滤网是用来对使用过的水排放时过滤比较大的物件,当水池的水比较混浊或比较脏时,打开排水阻水阀并关闭净水阻水阀,让脏水从U型下水管排出;当水池的水比较清澈或比较干净时,关闭排水阻水阀并打开阻水阀,让水先流入净水过滤器进行过滤,得到更清澈的水,再流入储水箱,储水箱出水口可以接个水龙头也可以接个水管连接便池水箱,进行二次回收利用。
说明书
一种废水回收利用洗衣池
技术领域
本发明涉及一种具有废水利用的洗衣池,可以对该洗衣池使用过的水进行回收利用,以节约水资源。
背景技术
据统计中国家用废水排水量每天要排放10亿吨废水,地球的淡水资源储备量已经日益减少,全球都在倡导节约用水,保护地球,提倡可持续发展。洗衣池数量巨大,如何解决废水利用,意义重大。
发明内容
本发明的目的是针对现有技术的不足,提供一种废水回收利用的环保洗衣池。
本发明的结构包括水池、水龙头、水池阀、水池阀开关、过滤网、排水阻水阀、净水阻水阀、U型下水管、净水过滤器、储水箱、下水管;
水池可用陶瓷材料制成,水池上部有个小台面,台面上安装有水龙头,水龙头旁边安装水池阀开关,水池的底部中央安装下水管,下水管顶端与水池中央和水池阀连接,水池阀后面连接过滤网,下水管分两路,一路接净化阻水阀,再接净化过滤器后接入储水箱,另一路接排水阻水阀后接U型下水管,污水排出;通过水池阀开关对水池阀进行打开和关闭,过滤网是用来对使用过的水排放时过滤比较大的物件,当过滤网上的物件或垃圾较多时,便可以把它取出,当水池的水比较混浊或比较脏时,打开排水阻水阀并关闭净水阻水阀,让脏水从U型下水管排出;当水池的水比较清澈或比较干净时,关闭排水阻水阀并打开阻水阀,让水先流入净水过滤器进行过滤,得到更清澈的水,再流入储水箱,储水箱出水口可以接个水龙头也可以接个水管连接便池水箱,进行二次回收利用。
本发明的有益效果:本发明所述洗衣池可以对洗衣池用过的废水进行二次利用,例如,洗衣池的洗衣服水比较干净时,可以通过净水过滤器进行过滤,并储备到储水箱里供浇花、拖地、冲厕所等二次使用,达到废水重新利用的效果,大大的节约地球的淡水资源,同时也减少了污水的排放量,对周围的环境具有一定的环保作用。







