公布日:2023.10.13
申请日:2023.07.07
分类号:B30B9/20(2006.01)I;C02F11/122(2019.01)I
摘要
本发明公开了一种固废处理装置及处理方法,包括转筒、内部按压机构、压力调节机构以及滚动驱动机构;转筒的两端均嵌装有连接管,连接管的内部固定连接有内筒,内筒上设有按圆周分布的多组出水孔;内部按压机构安装于内筒的内部;本发明使用时,通过启动第二电机利用转动轴上的齿轮与内齿条相互啮合传动,使转轴和杆体转动,杆体上的固定管以及连接板能够带动按压辊对内筒中的固态污泥进行滚动碾压,从而挤压出固态污泥内部污水,使用前后,能够通过转动螺纹杆使内螺纹方管在限位方管内上下移动,并使内螺纹方管顶部的弧形推板推动按压辊移动,进而改变按压辊与内筒内壁之间的距离,实现按压辊对固态污泥的按压压力调节。

权利要求书
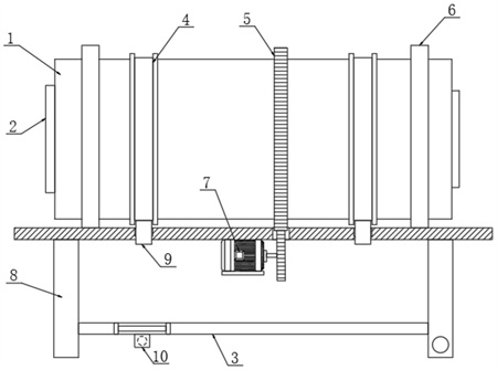
1.一种固废处理装置,包括转筒(1)、内部按压机构、压力调节机构以及滚动驱动机构,其特征在于:所述转筒(1)的两端均嵌装有连接管(14),所述连接管(14)的内部固定连接有内筒(13),所述内筒(13)上设有按圆周分布的多组出水孔(29);所述内部按压机构安装于所述内筒(13)的内部,所述内部按压机构能够对所述内筒(13)内的固废进行挤压,降低含水量;所述压力调节机构安装于所述内部按压机构上,所述压力调节机构用于调节内部按压机构的位置,从而改变压力;所述滚动驱动机构安装于所述转筒(1)的外部,所述滚动驱动机构用于驱动转筒(1)进行转动。
2.根据权利要求1所述的一种固废处理装置,其特征在于:所述内部按压机构包括两个转轴(11),两个所述转轴(11)对称安装在所述内筒(13)的内壁,两个所述转轴(11)的相对一侧均固定连接有十字板(28),其中一个所述转轴(11)远离所述十字板(28)的一侧固定连接有内齿条(24),所述内筒(13)的内壁安装有第二电机(22),所述第二电机(22)的转动轴通过齿轮与所述内齿条(24)啮合,所述十字板(28)的内部固定连接有杆体(16),所述杆体(16)的外部对称安装有两个固定管(15),所述固定管(15)上固定连接有连接板(21),两个所述连接板(21)上均设有滑槽(26),所述滑槽(26)内滑动安装有滑块(25),两个所述滑块(25)的相对一侧转动安装有按压辊(23)。
3.根据权利要求2所述的一种固废处理装置,其特征在于:所述压力调节机构包括两个限位方管(19),两个所述限位方管(19)对称嵌装于所述杆体(16)的内部,所述限位方管(19)的内部滑动安装有内螺纹方管(17),所述内螺纹方管(17)的内部螺纹连接有螺纹杆(20),所述螺纹杆(20)的底部一端贯穿所述限位方管(19),所述内螺纹方管(17)的顶部一端固定连接有弧形推板(18),所述弧形推板(18)包覆在所述按压辊(23)的外部。
4.根据权利要求3所述的一种固废处理装置,其特征在于:所述滚动驱动机构包括外齿条(5),所述外齿条(5)固定连接于所述转筒(1)的外部,所述转筒(1)的外部转动安装有支撑板(6),所述支撑板(6)的底部固定连接有支架(8),所述支架(8)的内顶部安装有第一电机(7)所述第一电机(7)的转动轴通过齿轮与所述外齿条(5)。
5.根据权利要求2所述的一种固废处理装置,其特征在于:所述滑槽(26)的内部固定连接有弹簧(27),所述弹簧(27)的顶部一端固定连接于所述滑块(25)的底部。
6.根据权利要求4所述的一种固废处理装置,其特征在于:所述支架(8)的顶部对称转动安装有两个转轮(9),所述转筒(1)的外部对称安装有两个环形导轨(4),所述转轮(9)贴合所述环形导轨(4)内部转动。
7.根据权利要求1所述的一种固废处理装置,其特征在于:所述连接管(14)的两端内壁均固定连接有输料管(2)。
8.根据权利要求6所述的一种固废处理装置,其特征在于:所述支架(8)的内部固定连接有横板(3),所述横板(3)的底部固定连接有固定杆(10),所述支架(8)的一侧底部设有铰轴。
9.根据权利要求1所述的一种固废处理装置,其特征在于:所述转筒(1)的一侧对称嵌装有两个排水阀(12)。10.一种权利要求1所述的固废处理方法,其特征在于,包括以下步骤:S1、固态污泥通过输料管(2)投入转筒(1)内部的内筒(13)中,利用第一电机(7)转动轴上的齿轮与外齿条(5)相互啮合传动,带动转筒(1)和内筒(13)转动,使内部固态污泥翻滚;S2、通过启动第二电机(22)利用转动轴上的齿轮与内齿条(24)相互啮合传动,使转轴(11)和杆体(16)转动,带动按压辊(23)对内筒(13)中的固态污泥进行滚动碾压,从而挤压出固态污泥内部污水;S3、通过转动螺纹杆(20)使内螺纹方管(17)顶部的弧形推板(18)推动按压辊(23)移动,改变按压辊(23)与内筒(13)内壁之间的距离,实现按压辊(23)对固态污泥的按压压力调节;S4、通过按压辊(23)挤压出的污水通过内筒(13)上的出水孔(29)排入转筒(1)内部,通过外部驱动设备将转筒(1)一侧进行抬升,利用排水阀(12)将内部污水向外排放。
发明内容
本发明的目的在于提供一种固废处理装置及处理方法,以解决上述背景技术中提出的问题。
为实现上述目的,本发明提供如下技术方案:一种固废处理装置,包括转筒、内部按压机构、压力调节机构以及滚动驱动机构;
所述转筒的两端均嵌装有连接管,所述连接管的内部固定连接有内筒,所述内筒上设有按圆周分布的多组出水孔;
所述内部按压机构安装于所述内筒的内部,所述内部按压机构能够对所述内筒内的固废进行挤压,降低含水量;
所述压力调节机构安装于所述内部按压机构上,所述压力调节机构用于调节内部按压机构的位置,从而改变压力;
所述滚动驱动机构安装于所述转筒的外部,所述滚动驱动机构用于驱动转筒进行转动。
优选的,所述内部按压机构包括两个转轴,两个所述转轴对称安装在所述内筒的内壁,两个所述转轴的相对一侧均固定连接有十字板,其中一个所述转轴远离所述十字板的一侧固定连接有内齿条,所述内筒的内壁安装有第二电机,所述第二电机的转动轴通过齿轮与所述内齿条啮合,所述十字板的内部固定连接有杆体,所述杆体的外部对称安装有两个固定管,所述固定管上固定连接有连接板,两个所述连接板上均设有滑槽,所述滑槽内滑动安装有滑块,两个所述滑块的相对一侧转动安装有按压辊。
优选的,所述压力调节机构包括两个限位方管,两个所述限位方管对称嵌装于所述杆体的内部,所述限位方管的内部滑动安装有内螺纹方管,所述内螺纹方管的内部螺纹连接有螺纹杆,所述螺纹杆的底部一端贯穿所述限位方管,所述内螺纹方管的顶部一端固定连接有弧形推板,所述弧形推板包覆在所述按压辊的外部。
优选的,所述滚动驱动机构包括外齿条,所述外齿条固定连接于所述转筒的外部,所述转筒的外部转动安装有支撑板,所述支撑板的底部固定连接有支架,所述支架的内顶部安装有第一电机所述第一电机的转动轴通过齿轮与所述外齿条。
优选的,所述滑槽的内部固定连接有弹簧,所述弹簧的顶部一端固定连接于所述滑块的底部。
优选的,所述支架的顶部对称转动安装有两个转轮,所述转筒的外部对称安装有两个环形导轨,所述转轮贴合所述环形导轨内部转动。
优选的,所述连接管的两端内壁均固定连接有输料管。
优选的,所述支架的内部固定连接有横板,所述横板的底部固定连接有固定杆,所述支架的一侧底部设有铰轴。
优选的,所述转筒的一侧对称嵌装有两个排水阀。
本发明还提供了一种固废处理方法,包括以下步骤:
S1、固态污泥通过输料管投入转筒内部的内筒中,利用第一电机转动轴上的齿轮与外齿条相互啮合传动,带动转筒和内筒转动,使内部固态污泥翻滚;
S2、通过启动第二电机利用转动轴上的齿轮与内齿条相互啮合传动,使转轴和杆体转动,带动按压辊对内筒中的固态污泥进行滚动碾压,从而挤压出固态污泥内部污水;
S3、通过转动螺纹杆使内螺纹方管顶部的弧形推板推动按压辊移动,改变按压辊与内筒内壁之间的距离,实现按压辊对固态污泥的按压压力调节;
S4、通过按压辊挤压出的污水通过内筒上的出水孔排入转筒内部,通过外部驱动设备将转筒一侧进行抬升,利用排水阀将内部污水向外排放。
与现有技术相比,本发明的有益效果是:
1、本发明使用时,通过启动第二电机利用转动轴上的齿轮与内齿条相互啮合传动,使转轴和杆体转动,并带动按压辊对内筒中的固态污泥进行滚动碾压,从而挤压出固态污泥内部污水,并能够利用内筒的转动将固态污泥反复翻滚,增加挤压接触面积,大幅降低固态污泥内含水量;
2、本发明在转筒使用前后,能够通过转动螺纹杆使弧形推板推动按压辊移动,进而改变按压辊与内筒内壁之间的距离,实现按压辊对固态污泥的按压压力调节,使本发明能够根据不同量以及不同固态污泥种类对挤压的压力进行调节,提高了处理灵活性。
3、本发明通过按压辊挤压出的污水通过内筒上的出水孔排入转筒内部,通过外部驱动设备将转筒一侧进行抬升,利用排水阀将内部污水向外排放,由于内筒的外壁与转筒的内壁之间保留间隙,因此挤压出的污水不会返流至固态污泥中,并方便后续污水的排放操作。
(发明人:盖国京;杨红昌;耿留林;徐强;刘鸿文;赵媛媛;武富厚;刘伟丹;段旭东)






