公布日:2023.11.07
申请日:2023.09.20
分类号:C02F9/00(2023.01)I;B01D21/00(2006.01)I;C02F1/00(2023.01)N;C02F1/52(2023.01)N;C02F1/66(2023.01)N;C02F103/18(2006.01)N
摘要
本发明涉及废水处理技术领域,公开了一种脱硫废水处理装置以及系统,该处理装置包括预沉池、阻挡组件以及敲击组件;预沉池具有进液口和盖体,阻挡组件包括阻挡板,敲击组件包括电机、旋转轴和敲击杆;阻挡板设置在预沉池内,且阻挡板位于进液口对应的位置;电机设置在盖体上,旋转轴的第一端连接电机的输出端,旋转轴的第二端穿过盖体并伸入预沉池内,敲击杆设置在旋转轴的第二端;电机驱动旋转轴旋转,旋转轴旋转带动敲击杆旋转,使敲击杆对阻挡板进行敲击。由于可以利用敲击杆对阻挡板进行敲击去除阻挡板上的附着物,避免阻挡板被腐蚀,从而可以延长阻挡板的使用寿命。

权利要求书
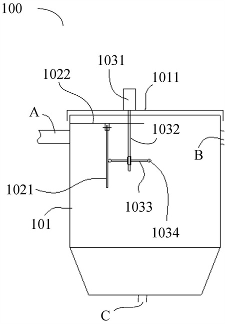
1.一种脱硫废水处理装置,其特征在于,所述处理装置包括预沉池、阻挡组件以及敲击组件;所述预沉池具有进液口和盖体,所述阻挡组件包括阻挡板,所述敲击组件包括电机、旋转轴和敲击杆;所述阻挡板设置在所述预沉池内,且所述阻挡板位于所述进液口对应的位置;所述电机设置在所述盖体上,所述旋转轴的第一端连接所述电机的输出端,所述旋转轴的第二端穿过所述盖体并伸入所述预沉池内,所述敲击杆设置在所述旋转轴的第二端;所述电机驱动所述旋转轴旋转,所述旋转轴旋转带动所述敲击杆旋转,使所述敲击杆对所述阻挡板进行敲击。
2.根据权利要求1所述的脱硫废水处理装置,其特征在于,所述敲击组件包括多根敲击杆,所述多根敲击杆均匀设置在所述旋转轴的第二端。
3.根据权利要求2所述的脱硫废水处理装置,其特征在于,所述敲击组件包括两根敲击杆,所述两根敲击杆以所述旋转轴为对称轴,对称设置在所述旋转轴的第二端。
4.根据权利要求1所述的脱硫废水处理装置,其特征在于,所述敲击组件还包括敲击头;所述敲击杆的第一端与所述旋转轴的第二端连接,所述敲击头套设在所述敲击杆的第二端。
5.根据权利要求1所述的脱硫废水处理装置,其特征在于,所述阻挡组件还包括顶板和安装座;所述顶板位于所述预沉池内,且所述顶板设置在所述预沉池的内壁上,所述顶板沿水平方向延伸;所述安装座设置在所述顶板上,所述阻挡板的一端嵌入所述安装座,所述阻挡板的另一端朝向所述预沉池的底部延伸。
6.根据权利要求1所述的脱硫废水处理装置,其特征在于,所述预沉池还具有清液出口,所述盖体上靠近所述清液出口的位置设置有开口。
7.一种脱硫废水处理系统,其特征在于,所述处理系统包括多个权利要求1-6中任一项所述的脱硫废水处理装置;多个脱硫废水处理装置依次连接,前一个脱硫废水处理装置中的预沉池的清液出口与后一个脱硫废水处理装置中的预沉池的进液口连通。
8.根据权利要求7所述的脱硫废水处理系统,其特征在于,所述处理系统包括三个脱硫废水处理装置,分别为第一脱硫废水处理装置、第二脱硫废水处理装置和第三脱硫废水处理装置;所述处理系统还包括第一排泥管、第二排泥管、第三排泥管以及第一排泥泵;所述第一排泥管的入口与所述第一脱硫废水处理装置中的预沉池的底部连通,所述第二排泥管的入口与所述第二脱硫废水处理装置中的预沉池的底部连通,所述第三排泥管的入口与所述第三脱硫废水处理装置中的预沉池的底部连通;所述第一排泥管的出口、所述第二排泥管的出口以及所述第三排泥管的出口,均与所述第一排泥泵的入口连通。
9.根据权利要求8所述的脱硫废水处理系统,其特征在于,所述处理系统还包括第四排泥管和第二排泥泵;所述第四排泥管的入口与所述第一排泥管的目标位置连通,所述第四排泥管的出口与所述第二排泥泵的入口连通。
10.根据权利要求9所述的脱硫废水处理系统,其特征在于,所述处理系统还包括中和池、沉降池、絮凝池以及澄清池;所述第三脱硫废水处理装置中的预沉池的清液出口与所述中和池的进液口连通,所述中和池的出液口与所述沉降池的进液口连通,所述沉降池的泥渣出口与所述第一排泥泵的入口连通,所述沉降池的清液出口与所述絮凝池的进液口连通,所述絮凝池的出液口与所述澄清池的进液口连通。
发明内容
本发明的目的是为了克服现有技术存在的随着沉降装置的长期使用,挡板上容易形成大量的附着物,进而影响挡板的使用寿命的问题,提供一种脱硫废水处理装置以及系统。
为了实现上述目的,本发明第一方面提供一种脱硫废水处理装置,所述处理装置包括预沉池、阻挡组件以及敲击组件;所述预沉池具有进液口和盖体,所述阻挡组件包括阻挡板,所述敲击组件包括电机、旋转轴和敲击杆;所述阻挡板设置在所述预沉池内,且所述阻挡板位于所述进液口对应的位置;所述电机设置在所述盖体上,所述旋转轴的第一端连接所述电机的输出端,所述旋转轴的第二端穿过所述盖体并伸入所述预沉池内,所述敲击杆设置在所述旋转轴的第二端;所述电机驱动所述旋转轴旋转,所述旋转轴旋转带动所述敲击杆旋转,使所述敲击杆对所述阻挡板进行敲击。
在本申请实施例中,所述敲击组件包括多根敲击杆,所述多根敲击杆均匀设置在所述旋转轴的第二端。
在本申请实施例中,所述敲击组件包括两根敲击杆,所述两根敲击杆以所述旋转轴为对称轴,对称设置在所述旋转轴的第二端。
在本申请实施例中,所述敲击组件还包括敲击头;所述敲击杆的第一端与所述旋转轴的第二端连接,所述敲击头套设在所述敲击杆的第二端。
在本申请实施例中,所述阻挡组件还包括顶板和安装座;所述顶板位于所述预沉池内,且所述顶板设置在所述预沉池的内壁上,所述顶板沿水平方向延伸;所述安装座设置在所述顶板上,所述阻挡板的一端嵌入所述安装座,所述阻挡板的另一端朝向所述预沉池的底部延伸。
在本申请实施例中,所述预沉池还具有清液出口,所述盖体上靠近所述清液出口的位置设置有开口。
本发明第二方面提供一种脱硫废水处理系统,所述处理系统包括多个第一方面提供的脱硫废水处理装置;多个脱硫废水处理装置依次连接,前一个脱硫废水处理装置中的预沉池的清液出口与后一个脱硫废水处理装置中的预沉池的进液口连通。
在本申请实施例中,所述处理系统包括三个脱硫废水处理装置,分别为第一脱硫废水处理装置、第二脱硫废水处理装置和第三脱硫废水处理装置;所述处理系统还包括第一排泥管、第二排泥管、第三排泥管以及第一排泥泵;所述第一排泥管的入口与所述第一脱硫废水处理装置中的预沉池的底部连通,所述第二排泥管的入口与所述第二脱硫废水处理装置中的预沉池的底部连通,所述第三排泥管的入口与所述第三脱硫废水处理装置中的预沉池的底部连通;所述第一排泥管的出口、所述第二排泥管的出口以及所述第三排泥管的出口,均与所述第一排泥泵的入口连通。
在本申请实施例中,所述处理系统还包括第四排泥管和第二排泥泵;所述第四排泥管的入口与所述第一排泥管的目标位置连通,所述第四排泥管的出口与所述第二排泥泵的入口连通。
在本申请实施例中,所述处理系统还包括中和池、沉降池、絮凝池以及澄清池;所述第三脱硫废水处理装置中的预沉池的清液出口与所述中和池的进液口连通,所述中和池的出液口与所述沉降池的进液口连通,所述沉降池的泥渣出口与所述第一排泥泵的入口连通,所述沉降池的清液出口与所述絮凝池的进液口连通,所述絮凝池的出液口与所述澄清池的进液口连通。
通过采用上述脱硫废水处理装置,所述处理装置包括预沉池、阻挡组件以及敲击组件;所述预沉池具有进液口和盖体,所述阻挡组件包括阻挡板,所述敲击组件包括电机、旋转轴和敲击杆;所述阻挡板设置在所述预沉池内,且所述阻挡板位于所述进液口对应的位置;所述电机设置在所述盖体上,所述旋转轴的第一端连接所述电机的输出端,所述旋转轴的第二端穿过所述盖体并伸入所述预沉池内,所述敲击杆设置在所述旋转轴的第二端;所述电机驱动所述旋转轴旋转,所述旋转轴旋转带动所述敲击杆旋转,使所述敲击杆对所述阻挡板进行敲击。由于可以利用敲击杆对阻挡板进行敲击去除阻挡板上的附着物,避免阻挡板被腐蚀,从而可以延长阻挡板的使用寿命。
(发明人:孙江颖)






