公布日:2024.04.26
申请日:2024.03.22
分类号:G01N1/10(2006.01)I;B01D29/09(2006.01)I;B01D29/96(2006.01)I;B01D29/64(2006.01)I
摘要
本发明公开了污水取样技术领域的一种工业污水取样用自过滤装置,包括支撑板,所述支撑板转动连接有支杆,所述支杆前方设置有过滤层,所述过滤层的顶部设置有多个检测管,所述检测管的管口均朝下设置且管口均与过滤层接触,所述过滤层下方设置有若干个取样筒,所述取样筒呈管状,驱动组会使若干个推杆同时向取样筒内部移动,那么取样筒内部的污水在密封塞的挤压下就会透过滤层向检测管内部流动,那么污水中的杂质就会被快速地过滤,使进入检测管内部的污水是经过过滤之后的,使取样的同时即可快速的过滤,不需要再单独的过滤,极大程度地提高了效率。

权利要求书
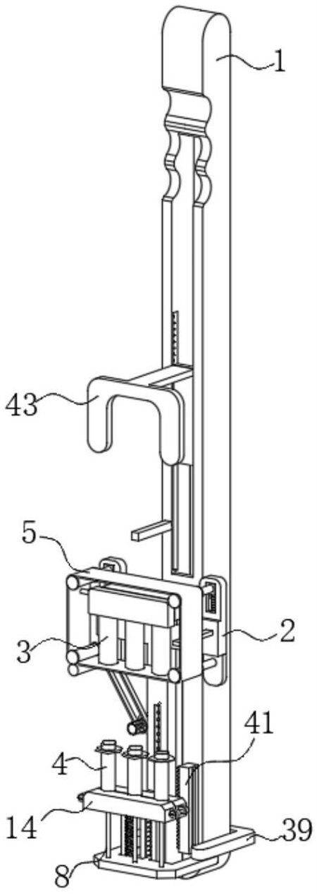
1.一种工业污水取样用自过滤装置,包括支撑板(1),其特征在于:所述支撑板(1)转动连接有支杆(2),所述支杆(2)前方设置有过滤层(5),所述过滤层(5)的顶部设置有多个检测管(3),所述检测管(3)的管口均朝下设置且管口均与过滤层(5)接触,所述过滤层(5)下方设置有若干个取样筒(4),所述取样筒(4)呈管状,所述检测管(3)均位于取样筒(4)的正上方且其数量相同,所述检测管(3)均略大于取样筒(4);所述支杆(2)前方靠近顶端的位置设置有第一支撑组,所述第一支撑组用于对检测管(3)和过滤层(5)进行支撑,所述取样筒(4)内部靠近底端的位置均设置有密封塞(7),所述密封塞(7)的底部均固定连接有推杆(8),所述支杆(2)前方设置有第二支撑组,所述第二支撑组用于对取样筒(4)进行支撑以及带动取样筒(4)和推杆(8)垂直移动;所述支杆(2)一侧设置有驱动组,所述驱动组用于控制第二支撑组垂直移动以及支杆(2)的转动,在支杆(2)转动完成后会同时使若干个推杆(8)向取样筒(4)内部移动和退出。
2.根据权利要求1所述的一种工业污水取样用自过滤装置,其特征在于:所述第二支撑组包括支撑块(9)、分离块(14)、滑槽(10)和推板(12),所述分离块(14)与支撑块(9)之间设置有分离组,所述分离组用于驱动支撑块(9)和分离块(14)分离,所述支撑块(9)呈T形,若干个所述取样筒(4)靠近底部的位置均位于支撑块(9)与分离块(14)之间,所述滑槽(10)开设在支杆(2)上,所述支撑块(9)滑动连接在滑槽(10)内部,所述支撑块(9)与滑槽(10)之间固定连接有第一弹簧(11),所述推板(12)呈U形且固定连接在若干个所述推杆(8)的底端,所述推板(12)与支撑块(9)在竖直方向上滑动连接,所述支撑块(9)与推板(12)之间固定连接有第二弹簧(13)。
3.根据权利要求2所述的一种工业污水取样用自过滤装置,其特征在于:所述分离组包括两个螺杆(15),两个螺杆(15)分别位于分离块(14)的两侧,所述分离块(14)与支撑块(9)的两侧均开设有螺栓孔,两个所述螺杆(15)均与分离块(14)和支撑块(9)螺纹连接。
4.根据权利要求3所述的一种工业污水取样用自过滤装置,其特征在于:所述取样筒(4)靠近顶端的位置与靠近底端的位置分别固定连接有第一限位环(16)和第二限位环(17),所述分离块(14)与支撑块(9)之间均设置有与第二限位环(17)相匹配的让位槽(18),所述让位槽(18)的顶部与底部均贯穿所述分离块(14)和支撑块(9)。
5.根据权利要求2所述的一种工业污水取样用自过滤装置,其特征在于:所述驱动组包括第二齿轮(37)、第一气缸(38)、压板(43)和阻拦杆(47),所述阻拦杆(47)固定连接在支撑板(1)侧壁,所述第二齿轮(37)固定连接在支杆(2)的转动轴上,所述第一气缸(38)固定连接在支撑板(1)内部的空腔之中,所述第一气缸(38)的底端固定连接有压杆(39),所述压杆(39)滑动与支撑板(1)滑动连接,所述压杆(39)的底端呈向前延伸的U型,所述压杆(39)的端部能够下压推板(12),所述压杆(39)滑动连接有第二齿条杆(41),所述第二齿条杆(41)与压杆(39)之间固定连接有第五弹簧(40),所述压杆(39)侧壁固定连接有第三齿条杆(42),所述第三齿条杆(42)正上方设置有第三齿轮(46),所述第三齿轮(46)转动连接在支撑板(1)的空腔内部,所述第三齿条杆(42)在上升一定程度后能够与第三齿轮(46)啮合,所述压板(43)固定连接有第四齿条杆(44),所述第四齿条杆(44)与支撑板(1)位于支撑板(1)的空腔内部且与支撑板(1)在竖直方向上滑动连接,所述第四齿条杆(44)与支撑板(1)之间固定连接有第七弹簧(45),所述第四齿条杆(44)与第二齿轮(37)啮合,所述压板(43)位于推板(12)的正上方且用于下压推板(12)。
6.根据权利要求2所述的一种工业污水取样用自过滤装置,其特征在于:所述第一支撑组包括固定块(19)和滑动片(20),所述固定块(19)与支杆(2)滑动连接,所述固定块(19)与支杆(2)之间固定连接有第二气缸(48),所述第二气缸(48)用于驱动固定块(19)沿着支杆(2)滑动,所述固定块(19)与滑动片(20)滑动连接,所述固定块(19)的底部滑动连接有抵制片(22),所述固定块(19)与抵制片(22)之间固定连接有第三弹簧(21),所述固定块(19)与滑动片(20)之间均设置有与检测管(3)一一对应的放置槽(24),所述固定块(19)一侧壁转动连接有连接杆(25),所述连接杆(25)侧壁转动连接有第一圆杆(26),所述滑动片(20)侧壁转动连接有第二圆杆(27),所述第一圆杆(26)和第二圆杆(27)之间固定连接有第四弹簧(23)。
7.根据权利要求6所述的一种工业污水取样用自过滤装置,其特征在于:所述支杆(2)上方靠近两侧的位置滑动连接有两个受力片(28),两个所述受力片(28)与支杆(2)之间均固定连接有第六弹簧(36),两个所述受力片(28)上均转动连接有第一驱动轴(29),两个所述第一驱动轴(29)的正下方均设置有第二驱动轴(30),两个所述第二驱动轴(30)均转动连接在支杆(2)上,所述过滤层(5)呈环形且其搭设在两个第一驱动轴(29)和两个第二驱动轴(30)上;其中一个所述第二驱动轴(30)的正下方设置有主动辊(31),所述主动辊(31)的圆周面与位于其上方的第二驱动轴(30)的圆周面接触,所述主动辊(31)与支杆(2)转动连接,所述推板(12)内侧壁固定连接有第一齿条杆(32),所述第一齿条杆(32)位于与第二齿条杆(41)相对的一侧,所述第一齿条杆(32)正上方设置有第一齿轮(33),所述第一齿轮(33)的后端设置有单向轴承(34),所述单向轴承(34)与支杆(2)转动连接,所述单向轴承(34)与主动辊(31)之间传动连接有皮带(35)。
8.根据权利要求7所述的一种工业污水取样用自过滤装置,其特征在于:所述支杆(2)上固定连接有刮板(6)。
发明内容
本发明的目的在于提供一种工业污水取样用自过滤装置,以解决上述背景技术中提出的问题。
为实现上述目的,本发明提供如下技术方案:一种工业污水取样用自过滤装置,包括支撑板,所述支撑板转动连接有支杆,所述支杆前方设置有过滤层,所述过滤层的顶部设置有多个检测管,所述检测管的管口均朝下设置且管口均与过滤层接触,所述过滤层下方设置有若干个取样筒,所述取样筒呈管状,所述检测管均位于取样筒的正上方且其数量相同,所述检测管均略大于取样筒;所述支杆前方靠近顶端的位置设置有第一支撑组,所述第一支撑组用于对检测管和过滤层进行支撑,所述取样筒内部靠近底端的位置均设置有密封塞,所述密封塞的底部均固定连接有推杆,所述支杆前方设置有第二支撑组,所述第二支撑组用于对取样筒进行支撑以及带动取样筒和推杆垂直移动;所述支杆一侧设置有驱动组,所述驱动组用于控制第二支撑组垂直移动以及支杆的转动,在支杆转动完成后会同时使若干个推杆向取样筒内部移动和退出。
作为本发明的进一步方案,所述第二支撑组包括支撑块、分离块、滑槽和推板,所述分离块与支撑块之间设置有分离组,所述分离组用于驱动支撑块和分离块分离,所述支撑块呈T型,若干个所述取样筒靠近底部的位置均位于支撑块与分离块之间,所述滑槽开设在支杆上,所述支撑块滑动连接在滑槽内部,所述支撑块与滑槽之间固定连接有第一弹簧,所述推板呈U形且固定连接在若干个所述推杆的底端,所述推板与支撑块在竖直方向上滑动连接,所述支撑块与推板之间固定连接有第二弹簧。
作为本发明的进一步方案,所述分离组包括两个螺杆,两个螺杆分别位于分离块的两侧,所述分离块与支撑块的两侧均开设有螺栓孔,两个所述螺杆均与分离块和支撑块螺纹连接。
作为本发明的进一步方案,所述取样筒靠近顶端的位置与靠近底端的位置分别固定连接有第一限位环和第二限位环,所述分离块与支撑块之间均设置有与第二限位环相匹配的让位槽,所述让位槽的顶部与底部均贯穿所述分离块和支撑块。
作为本发明的进一步方案,所述驱动组包括第二齿轮、第一气缸、压板和阻拦杆,所述阻拦杆固定连接在支撑板侧壁,所述第二齿轮固定连接在支杆的转动轴上,所述第一气缸固定连接在支撑板内部的空腔之中,所述第一气缸的底端固定连接有压杆,所述压杆滑动与支撑板滑动连接,所述压杆的底端呈向前延伸的U形,所述压杆的端部能够下压推板,所述压杆滑动连接有第二齿条杆,所述第二齿条杆与压杆之间固定连接有第五弹簧,所述压杆侧壁固定连接有第三齿条杆,所述第三齿条杆正上方设置有第三齿轮,所述第三齿轮转动连接在支撑板的空腔内部,所述第三齿条杆在上升一定程度后能够与第三齿轮啮合,所述压板固定连接有第四齿条杆,所述第四齿条杆与支撑板位于支撑板的空腔内部且与支撑板在竖直方向上滑动连接,所述第四齿条杆与支撑板之间固定连接有第七弹簧,所述第四齿条杆与第二齿轮啮合,所述压板位于推板的正上方且用于下压推板。
作为本发明的进一步方案,所述第一支撑组包括固定块和滑动片,所述固定块与支杆滑动连接,所述固定块与支杆之间固定连接有第二气缸,所述第二气缸用于驱动固定块沿着支杆滑动,所述固定块与滑动片滑动连接,所述固定块的底部滑动连接有抵制片,所述固定块与抵制片之间固定连接有第三弹簧,所述固定块与滑动片之间均设置有与检测管一一对应的放置槽,所述固定块一侧壁转动连接有连接杆,所述连接杆侧壁转动连接有第一圆杆,所述滑动片侧壁转动连接有第二圆杆,所述第一圆杆和第二圆杆之间固定连接有第四弹簧。
作为本发明的进一步方案,所述支杆上方靠近两侧的位置滑动连接有两个受力片,两个所述受力片与支杆之间均固定连接有第六弹簧,两个所述受力片上均转动连接有第一驱动轴,两个所述第一驱动轴的正下方均设置有第二驱动轴,两个所述第二驱动轴均转动连接在支杆上,所述过滤层呈环形且其搭设在两个第一驱动轴和两个第二驱动轴上;其中一个所述第二驱动轴的正下方设置有主动辊,所述主动辊的圆周面与位于其上方的第二驱动轴的圆周面接触,所述主动辊与支杆转动连接,所述推板内侧壁固定连接有第一齿条杆,所述第一齿条杆位于与第二齿条杆相对的一侧,所述第一齿条杆正上方设置有第一齿轮,所述第一齿轮的后端设置有单向轴承,所述单向轴承与支杆转动连接,所述单向轴承与主动辊之间传动连接有皮带。
作为本发明的进一步方案,所述支杆上固定连接有刮板。
与现有技术相比,本发明的有益效果是:驱动组会使若干个推杆同时向取样筒内部移动,那么取样筒内部的污水在密封塞的挤压下就会透过滤层向检测管内部流动,那么污水中的杂质就会被快速地过滤,使进入检测管内部的污水是经过过滤之后的,使取样的同时即可快速的过滤,不需要再单独的过滤,极大程度地提高了效率。
取样筒略微小于检测管,这就使得即可取样筒内部充满污水,在经过过滤层过滤后进入检测管内部的污水不会充满检测管,从而方便检测管盖体的闭合和直接进行检测的效率,能够防止外泄,提高便捷程度,且检测管与取样筒均为多个,能够同时取样多个,方便对照与保存。
通过第一支撑组和第二支撑组能够方便检测管的取拿和放置以及取样筒长时间使用之后的更换。
4.主动辊转动时其与第二驱动轴接触的圆周面通过摩擦力的作用就会带动第二驱动轴转动,进而使过滤层沿着第一驱动轴传动,第一驱动轴也会绕受力片转动,从而在每一次过滤工作完成后都能够进行过滤面的更换,确保后续的过滤效果,且在过滤层换面的时候,通过刮板能够将过滤层上残留的杂质给清理下去。
(发明人:贾书庆;龚兴晓;闫伟彬)






