公布日:2023.11.03
申请日:2023.08.18
分类号:B01F27/80(2022.01)I;B01F35/83(2022.01)I;B01F35/71(2022.01)I;B01F101/00(2022.01)N
摘要
本申请提供了一种工业废水处理用臭氧催化剂物料混合装置,属于工业废水处理技术领域,包括底板,所述底板的上方固定连接有支架,所述支架的上方固定设置有外壳,所述外壳的上方转动安装有转盘,所述转盘的表面开设有通口,转盘的上方滑动安装有挡板,转盘的中间固定设置有固定轴,固定轴上固定连接有固定板,所述固定板上固定连接有连接轴,所述连接轴的外侧由下至上依次安装有第一转板、第二转板和第三转板,所述第一转板、第二转板和第三转板远离连接轴的一侧固定连接有连接环,所述连接环的内部安装有储料筒。本申请不仅能够在混料的同时调节加料次序,而且能够调节该加料次序下的进料比例,还能够适应不同稠度大小进行自动加料。

权利要求书
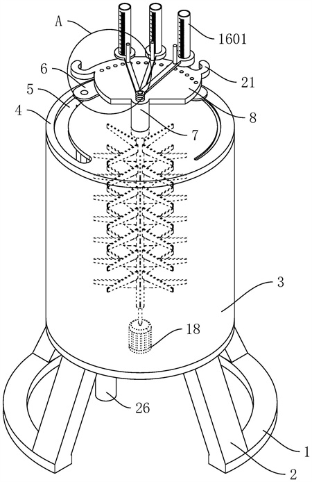
1.一种工业废水处理用臭氧催化剂物料混合装置,包括底板(1),其特征在于:所述底板(1)的上方固定连接有支架(2),所述支架(2)的上方固定设置有外壳(3),所述外壳(3)的上方转动安装有转盘(4),外壳(3)上安装有排料管(26),所述转盘(4)的表面开设有通口(5),转盘(4)的上方滑动安装有挡板(6),转盘(4)的中间固定设置有固定轴(7),固定轴(7)上固定连接有固定板(8),所述固定板(8)上固定连接有连接轴(9),所述连接轴(9)的外侧由下至上依次安装有第一转板(10)、第二转板(11)和第三转板(12),所述第一转板(10)、第二转板(11)和第三转板(12)远离连接轴(9)的一侧固定连接有连接环(15),所述连接环(15)的内部安装有储料筒(16),所述储料筒(16)的内部安装有衔接组件(17),所述外壳(3)的底部安装有电机(18),所述电机(18)的输出轴上固定连接有转杆(19),所述转杆(19)的外侧安装有搅拌组件(20),所述转杆(19)和固定轴(7)之间为固定连接,所述挡板(6)的表面开设有排料孔(22),所述挡板(6)和转盘(4)之间固定连接有松紧绳(23),所述挡板(6)的底面固定连接有衔接杆(24),所述衔接杆(24)上固定设置有阻力板(25);所述第一转板(10)、第二转板(11)和第三转板(12)与连接轴(9)之间均为转动连接,第二转板(11)的上下表面与第三转板(12)的下表面和第一转板(10)的上表面之间互相贴合,所述第一转板(10)的内部贯穿设置有卡杆(13),所述固定板(8)上开设有用于与卡杆(13)对接的对接槽(14);所述对接槽(14)在固定板(8)上等角度分布,所述储料筒(16)和连接环(15)通过对接槽(14)和卡杆(13)与固定板(8)之间构成卡合结构。
2.根据权利要求1所述的一种工业废水处理用臭氧催化剂物料混合装置,其特征在于:所述底板(1)、支架(2)和外壳(3)为一个整体,所述支架(2)在底板(1)上等角度分布,所述底板(1)为前端设置有缺口的圆环体。
3.根据权利要求1所述的一种工业废水处理用臭氧催化剂物料混合装置,其特征在于:所述通口(5)和挡板(6)均为圆弧状,通口(5)的宽度小于挡板(6)的宽度,所述挡板(6)、衔接杆(24)和阻力板(25)一体成型。
4.根据权利要求1所述的一种工业废水处理用臭氧催化剂物料混合装置,其特征在于:所述固定板(8)的左右两侧固定连接有挡杆(21),固定轴(7)、固定板(8)、连接轴(9)和挡杆(21)一体成型。
5.根据权利要求1所述的一种工业废水处理用臭氧催化剂物料混合装置,其特征在于:所述储料筒(16)包括滑动安装于所述连接环(15)中间的透明滑筒(1601),所述透明滑筒(1601)上固定连接有后置板(1602),所述后置板(1602)上开设有通孔(1603),所述通孔(1603)的内部贴合安装有卡块(1604),所述卡块(1604)上固定设置有第一弹簧(1605),所述第一弹簧(1605)上固定连接有连接筒(1606),所述连接筒(1606)上固定设置有连接块(1607),所述连接块(1607)的上下两侧固定连接有衔接板(1608),所述透明滑筒(1601)的底部固定连接有密封垫(1609)。
6.根据权利要求5所述的一种工业废水处理用臭氧催化剂物料混合装置,其特征在于:所述通孔(1603)在后置板(1602)上等间距分布,所述连接筒(1606)、连接块(1607)和衔接板(1608)通过通孔(1603)和卡块(1604)与后置板(1602)之间构成卡合结构,所述衔接板(1608)和透明滑筒(1601)之间的连接方式为滑动连接。
7.根据权利要求5所述的一种工业废水处理用臭氧催化剂物料混合装置,其特征在于:所述衔接组件(17)包括固定安装于衔接板(1608)上的内环(1701),所述内环(1701)上固定连接有阻尼套(1702),所述阻尼套(1702)的内部设置有盖板(1703),所述盖板(1703)的上方固定连接有连接杆(1704)。
8.根据权利要求1所述的一种工业废水处理用臭氧催化剂物料混合装置,其特征在于:所述搅拌组件(20)的四周固定连接有固定套(2001),所述固定套(2001)的内部滑动安装有内板(2002),所述内板(2002)和固定套(2001)之间固定连接有第二弹簧(2003)。
发明内容
鉴于现有臭氧催化剂物料混合装置中存在的问题,提出了本发明。
为解决上述技术问题,本发明提供了如下技术方案:一种工业废水处理用臭氧催化剂物料混合装置,包括底板,所述底板的上方固定连接有支架,所述支架的上方固定设置有外壳,所述外壳的上方转动安装有转盘,外壳上安装有排料管,所述转盘的表面开设有通口,转盘的上方滑动安装有挡板,转盘的中间固定设置有固定轴,固定轴上固定连接有固定板,所述固定板上固定连接有连接轴,所述连接轴的外侧由下至上依次安装有第一转板、第二转板和第三转板,所述第一转板、第二转板和第三转板远离连接轴的一侧固定连接有连接环,所述连接环的内部安装有储料筒,所述储料筒的内部安装有衔接组件,所述外壳的底部安装有电机,所述电机的输出轴上固定连接有转杆,所述转杆的外侧安装有搅拌组件,所述转杆和固定轴之间为固定连接,所述挡板的表面开设有排料孔,所述挡板和转盘之间固定连接有松紧绳,所述挡板的底面固定连接有衔接杆,所述衔接杆上固定设置有阻力板。
作为本发明的一种优先方案,所述底板、支架和外壳为一个整体,所述支架在底板上等角度分布,所述底板为前端设置有缺口的圆环体。
作为本发明的一种优先方案,所述通口和挡板均为圆弧状,通口的宽度小于挡板的宽度,所述挡板、衔接杆和阻力板一体成型。
作为本发明的一种优先方案,所述固定板的左右两侧固定连接有挡杆,固定轴、固定板、连接轴和挡杆一体成型。
作为本发明的一种优先方案,所述第一转板、第二转板和第三转板与连接轴之间均为转动连接,第二转板的上下表面与第三转板的下表面和第一转板的上表面之间互相贴合,所述第一转板的内部贯穿设置有卡杆,所述固定板上开设有用于与卡杆对接的对接槽。
作为本发明的一种优先方案,所述对接槽在固定板上等角度分布,所述储料筒和连接环通过对接槽和卡杆与固定板之间构成卡合结构。
作为本发明的一种优先方案,所述储料筒包括滑动安装于所述连接环中间的透明滑筒,所述透明滑筒上固定连接有后置板,所述后置板上开设有通孔,所述通孔的内部贴合安装有卡块,所述卡块上固定设置有第一弹簧,所述第一弹簧上固定连接有连接筒,所述连接筒上固定设置有连接块,所述连接块的上下两侧固定连接有衔接板,所述透明滑筒的底部固定连接有密封垫。
作为本发明的一种优先方案,所述通孔在后置板上等间距分布,所述连接筒、连接块和衔接板通过通孔和卡块与后置板之间构成卡合结构,所述衔接板和透明滑筒之间的连接方式为滑动连接。
作为本发明的一种优先方案,所述衔接组件包括固定安装于衔接板上的内环,所述内环上固定连接有阻尼套,所述阻尼套的内部设置有盖板,所述盖板的上方固定连接有连接杆。
作为本发明的一种优先方案,所述搅拌组件的四周固定连接有固定套,所述固定套的内部滑动安装有内板,所述内板和固定套之间固定连接有第二弹簧。
与现有技术相比,本发明的有益效果是:
1、通过设置的第一转板、第二转板和第三转板以及与之对应的三个储料筒,工作人员可通过在三个储料筒加入不同量的原料,从而使得装置能够在工作的过程中按照特定的比例加入催化剂原料,解决了现有的臭氧催化剂物料混合装置不能够对混料时的加料比例进行调节的缺陷,该装置能够根据不同的催化剂进行不同比例混料工作。
2、通过装置上的连接轴和连接环,使得装置能够在工作的过程中对储料筒和与之最靠近的排料孔的距离进行调节,从而改变进料的次序,解决了现有的混料装置不能够在调节比例后对混料时的加料次序进行调节,该装置不仅能够对不同原料的进料比例进行调节,也能够对进料的次序进行调节,能够调节混料时的加料次序以及该次序下的进料量,该装置具有可调节程度更高的优势。
3、通过装置上的松紧绳、衔接杆和阻力板,使得装置上的电机驱动转杆转动并带动转盘整体进行转动,由于外壳内部物料具有一定稠度,在外壳内部物料的阻力作用下,挡板会在转盘上滑动,此时转盘在各个储料筒的下方移动,实现自动进料的功能,该装置能够根据稠度大小自动进行加料或停止加料,具有功能性更强的优势。
4、通过装置上的搅拌组件,使得装置能够在搅拌速度增大时使得固定套内的内板离心力增大,从而使得内板能够在离心力的作用下自动伸出,能够在搅拌速度增加时自动提升搅拌范围和搅拌效率。
(发明人:邴吉帅;刘红;张亮;田静)






