公布日:2023.11.03
申请日:2023.09.26
分类号:C02F1/52(2023.01)I;C02F1/28(2023.01)I;C02F101/34(2006.01)N
摘要
本发明属于废水处理的技术领域,涉及一种腐殖酸生产废水处理设备及处理方法,包括有处理罐、行走平台和爬梯,所述处理罐顶部连接有行走平台,所述处理罐上连接有与对准行走平台进入端的爬梯,所述处理罐底部连通有排液管,所述排液管处设置有阀门,所述处理罐顶部为敞开设置,所述处理罐内上部连接有料斗,所述处理罐上连通有用于加入废水的进液管,所述行走平台上设有用于对水中的腐殖酸类物质处理的处理机构。本发明在进行滤框和活性炭的更换过程中,仅需控制气缸伸缩杆缩回,使得对接盘移出,再通过转动旋转架调换两个对接盘的位置,随后再控制气缸伸缩杆伸长即可实现滤框的更换,整体操作无需人工进行拆装,更加的方便,效率更高。

权利要求书
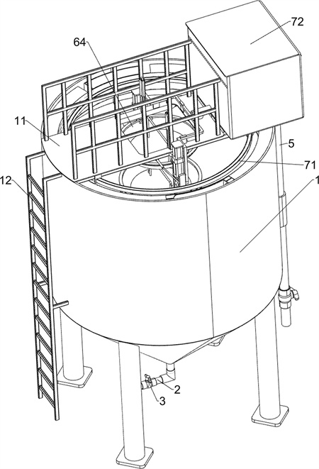
1.一种腐殖酸生产废水处理设备,包括有处理罐(1)、行走平台(11)和爬梯(12),所述处理罐(1)顶部连接有行走平台(11),所述处理罐(1)上连接有对准行走平台(11)进入端的爬梯(12),所述处理罐(1)底部连通有排液管(2),所述排液管(2)处设置有阀门(3),所述处理罐(1)顶部为敞开设置,其特征是,所述处理罐(1)内上部连接有料斗(4),所述料斗(4)中部开设进料口,所述处理罐(1)上连通有用于加入废水的进液管(5),所述行走平台(11)上设有用于对水中的腐殖酸类物质处理的处理机构,所述行走平台(11)与所述处理罐(1)之间设有用于添加絮凝剂的加液机构,所述处理机构包括有气缸(60)和导向套一(61),所述气缸(60)设置有两个并分别安装在行走平台(11)两侧,所述导向套一(61)设有两个并分别连接在料斗(4)两侧,所述导向套一(61)内滑动连接有滑动支架(62),所述气缸(60)的伸缩杆与所述滑动支架(62)连接,所述滑动支架(62)上部转动连接有旋转架(63),两个旋转架(63)两侧之间均转动连接有能够与进液口卡接的对接盘(64),所述对接盘(64)上均匀间隔开设有多个通孔,所述对接盘(64)内卡接有内部填充活性炭滤框(65),所述滤框(65)挡住通孔,所述滤框(65)顶部连接有提拉架(66);加液机构包括有连接在行走平台(11)上的环形喷洒架(71)和连接在处理罐(1)顶部的储液箱(72),所述储液箱(72)与所述环形喷洒架(71)之间连通有连通管(73),所述连通管(73)内上部呈环形阵列连接有四个等间距间隔设置的阻隔块(731),所述连通管(73)上滑动连接有推动杆(74),所述推动杆(74)上连接有开设有漏液口的漏液盘(741),所述漏液盘(741)上连接有与四个阻隔块(731)契合的十字堵块(742),所述储液箱(72)内上部连接有过滤网一(75),所述储液箱(72)上连通有加液管架(76);还包括有自动翻转机构,所述自动翻转机构包括有齿轮(81)和齿条(82),所述齿轮(81)设有两个并分别连接在两个旋转架(63)相互远离的一侧,所述旋转架(63)与所述齿轮(81)的连接处设置有单向离合器,所述齿条(82)设有两个并分别连接在所述料斗(4)两侧,所述齿条(82)位于所述齿轮(81)的移动轨迹处,所述齿轮(81)上连接有导向轨道(83),所述导向轨道(83)上滑动连接有配重块(84);还包括有自动解扣机构,所述自动解扣机构包括有导向架(91)导向套二(93)和转环(921),所述导向架(91)设有两个并分别连接在行走平台(11)顶部两侧,两侧导向架(91)上均滑动连接有提拉块(94),所述提拉块(94)位于所述提拉架(66)下方,所述导向套二(93)设有两个并分别连接在行走平台(11)底部两侧,所述提拉块(94)上连接有连接绳(92),所述转环(921)设置有两个并分别转动连接在两个旋转架(63)的传动轴上,所述连接绳(92)绕过所述导向架(91)再穿过所述导向套二(93)与所述转环(921)连接;还包括有自动封堵机构,所述自动封堵机构包括有滑动连接在所述行走平台(11)顶部的抬升架(121)和连接在所述滑动支架(62)上的推板(123),所述抬升架(121)底部与所述推板(123)顶部接触,所述抬升架(121)上连接有楔形推块(122),所述推动杆(74)位于所述楔形推块(122)的移动轨迹处。
2.按照权利要求1所述的一种腐殖酸生产废水处理设备,其特征是,还包括有粗滤机构,所述粗滤机构包括有连接在处理罐(1)内上部的导液框(101),所述导液框(101)底部连接有过滤网二(102),所述进液管(5)穿入处理罐(1)的位置位于所述导液框(101)内。
3.按照权利要求2所述的一种腐殖酸生产废水处理设备,其特征是,还包括有扫除机构,所述扫除机构包括有安装在导液框(101)内的环形电动滑轨(114),所述导液框(101)顶部开设有两个呈对称设置的开口,所述环形电动滑轨(114)的移动体上连接有环形连接块(111),所述环形连接块(111)上连接有两个呈对称设置的刮框(112),所述刮框(112)底部与所述过滤网二(102)顶部贴合,所述刮框(112)内滑动连接有提拉板(113)。
4.利用权利要求1所述腐殖酸生产废水处理设备的腐殖酸生产废水处理方法,其特征是,具体步骤如下:S1:通过进液管(5)往处理罐(1)内加入废水;S2:再往处理罐(1)处加入混凝剂与废水混合,絮凝剂投加量和pH范围内混凝,去除水样中的腐殖酸,通过助凝作用,活性炭粉末将腐殖酸去除;S3:废水在处理罐(1)内经过滤框(65),滤框(65)内的活性炭能够吸附废水中的腐殖酸,完成对废水中腐殖酸的去除操作。
发明内容
为了克服现有方式在更换活性炭时的操作较为繁琐,且效率较低的缺点,本发明提供一种操作更加简单,能够提高更换效率的腐殖酸生产废水处理设备及处理方法。
本发明的技术方案为:一种腐殖酸生产废水处理设备及处理方法,包括有处理罐、行走平台和爬梯,所述处理罐顶部连接有行走平台,所述处理罐上连接有与对准行走平台进入端的爬梯,所述处理罐底部连通有排液管,所述排液管处设置有阀门,所述处理罐顶部为敞开设置,所述处理罐内上部连接有料斗,所述料斗中部开设进料口,所述处理罐上连通有用于加入废水的进液管,所述行走平台上设有用于对水中的腐殖酸类物质处理的处理机构,所述行走平台与所述处理罐之间设有用于添加絮凝剂的加液机构,所述处理机构包括有气缸和导向套一,所述气缸设置有两个并分别安装在行走平台两侧,所述导向套一设有两个并分别连接在料斗两侧,所述导向套一内滑动连接有滑动支架,所述气缸的伸缩杆与所述滑动支架连接,所述滑动支架上部转动连接有旋转架,两个旋转架两侧之间均转动连接有能够与进液口卡接的对接盘,所述对接盘上均匀间隔开设有多个通孔,所述对接盘内卡接有内部填充活性炭滤框,所述滤框挡住通孔,所述滤框顶部连接有提拉架。
在其中一个实施例中,加液机构包括有连接在行走平台上的环形喷洒架和与连接在处理罐顶部的储液箱,所述储液箱与所述环形喷洒架之间连通有连通管,所述连通管内上部呈环形阵列连接有等距间隔设置的四个阻隔块,所述连通管上滑动连接有推动杆,所述推动杆上连接有开设有漏液口的漏液盘,所述漏液盘上连接有与四个阻隔块契合的十字堵块,所述储液箱内上部连接有过滤网一,所述储液箱上连通有加液管架。
在其中一个实施例中,还包括有自动翻转机构,所述自动翻转机构包括有齿轮和齿条,所述齿轮设有两个并分别连接在两个旋转架相互远离的一侧,所述旋转架与所述齿轮的连接处设置有单向离合器,所述齿条设有两个并分别连接在所述料斗两侧,所述齿条位于所述齿轮的移动轨迹处,所述齿轮上连接有导向轨道,所述导向轨道上滑动连接有配重块。
在其中一个实施例中,还包括有自动解扣机构,所述自动解扣机构包括有导向架导向套二和转环,所述导向架设有两个并分别连接在行走平台顶部两侧,两侧导向架上均滑动连接有提拉块,所述提拉块位于所述提拉架下方,所述导向套二设有两个并分别连接在行走平台底部两侧,所述提拉块上连接有连接绳,所述转环设置有两个并分别转动连接在两个旋转架的传动轴上,所述连接绳绕过所述导向架再穿过所述导向套二与所述转环连接。
在其中一个实施例中,还包括有粗滤机构,所述粗滤机构包括有连接在处理罐内上部的导液框,所述导液框底部连接有过滤网二,所述进液管穿入处理罐的位置位于所述导液框内。
在其中一个实施例中,还包括有扫除机构,所述扫除机构包括有安装在导液框内的环形电动滑轨,所述导液框顶部开设有两个呈对称设置的开口,所述环形电动滑轨的移动体上连接有环形连接块,所述环形连接块上连接有两个呈对称设置的刮框,所述刮框底部与所述过滤网二顶部贴合,所述刮框内滑动连接有提拉板。
在其中一个实施例中,还包括有自动封堵机构,所述自动封堵机构包括有滑动连接在所述行走平台顶部的抬升架和连接在所述滑动支架上的推板,所述抬升架底部与所述推板顶部接触,所述抬升架上连接有楔形推块,所述推动杆位于所述楔形推块的移动轨迹处。
本发明还提供腐殖酸生产废水处理方法,具体步骤如下:
S1:通过进液管往处理罐内加入废水;
S2:再往处理罐处加入混凝剂与废水混合,絮凝剂投加量和pH范围内混凝,去除水样中的腐殖酸,通过助凝作用,活性炭粉末将腐殖酸去除;
S3:废水在处理罐内经过滤框,滤框内的活性炭能够吸附废水中的腐殖酸,完成对废水中腐殖酸的去除操作。
与现有技术相比,本发明具有如下优点:1、本发明在进行滤框和活性炭的更换过程中,仅需控制气缸伸缩杆缩回,使得对接盘移出,再通过转动旋转架调换两个对接盘的位置,随后再控制气缸伸缩杆伸长即可实现滤框的更换,整体操作无需人工进行拆装,更加的方便,效率更高,且在控制气缸伸缩杆伸缩的过程中,能够通过齿轮与齿条之间的传动使得旋转架自动翻转,以实现两个对接盘位置的调换,进而无需人工控制旋转架转动,进一步的使得操作更加方便。
2、本发明在操作的过程中,能够在滑动支架移动的同时,通过拉绳拉动提拉块移动,从而使得提拉块与提拉架接而出,将换下的滤框卸下,如此,就无需人工操作将换下的滤框卸下,便于操作。
3、本发明在处理时,能够在滑动支架向上移动进行滤框的更换时,带动推板移动,从而通过抬升架和楔形推块挤压推动杆移动,将连通管堵住,以实现在更换滤框时自动阻隔混凝剂的作用。
(发明人:姚淑霞;王娟;王海珍;赵学臣;王静)






