公布日:2024.04.19
申请日:2024.01.11
分类号:E01H1/10(2006.01)I;B01D35/02(2006.01)I
摘要
本发明公开了清扫保洁环卫车自刷洗污水循环系统,包括车箱、三级过滤系统与自刷洗精滤系统,所述车箱一侧固定连接有回水箱引水管,所述车箱一侧中间位置处固定安装有回水动力水泵,所述车箱底端固定连接有400目三级精滤器总成,所述400目三级精滤器总成一侧固定连接有出水引水管,所述车箱底端固定连接有进水引水管,所述车箱底端固定安装有100目二级过滤器,所述100目二级过滤器对应进水引水管位置处固定连接有电磁球阀,本发明所达到的有益效果是:解决了清扫保洁类环卫车水箱小、续航短、易超重等实际问题,以减少车辆返场卸料的次数,从而提高车辆的实际作业效率。

权利要求书
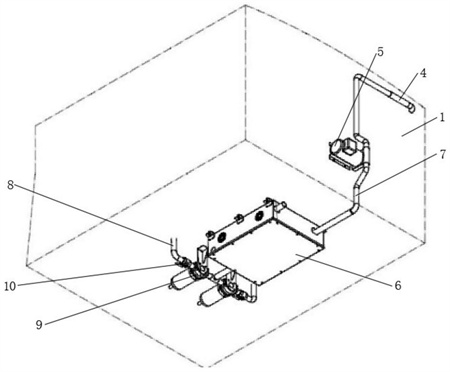
1.清扫保洁环卫车自刷洗污水循环系统,其特征在于,包括车箱(1)、三级过滤系统(2)与自刷洗精滤系统(3),所述车箱(1)一侧固定连接有回水箱引水管(4),所述车箱(1)一侧中间位置处固定安装有回水动力水泵(5),所述车箱(1)底端固定连接有400目三级精滤器总成(6),所述400目三级精滤器总成(6)一侧固定连接有出水引水管(7),所述车箱(1)底端固定连接有进水引水管(8),所述车箱(1)底端固定安装有100目二级过滤器(9),所述100目二级过滤器(9)对应进水引水管(8)位置处固定连接有电磁球阀(10);所述三级过滤系统(2)包括防尘散热箱(21),所述防尘散热箱(21)侧壁固定连接有进水管(22),所述防尘散热箱(21)内部一侧固定安装有直流24V自吸水泵(23),所述直流24V自吸水泵(23)固定连接有水泵出水管(24),所述防尘散热箱(21)内部另一侧固定设有三级400目精滤过滤器总成(25),所述三级400目精滤过滤器总成(25)一侧固定连接有出水管(26),所述防尘散热箱(21)另一侧固定连接有排污管(27),所述排污管(27)一侧固定连接有电磁排污球阀(28);所述自刷洗精滤系统(3)包括引流泵(31)、旋转叶(32)、400目不锈钢滤芯(33)、PE材质透明外罩(34)。
2.根据权利要求1所述的清扫保洁环卫车自刷洗污水循环系统,其特征在于,所述进水管(22)与引流泵(31)固定连接,所述旋转叶(32)位于400目不锈钢滤芯(33)内部。
3.根据权利要求1所述的清扫保洁环卫车自刷洗污水循环系统,其特征在于,所述排污管(27)与PE材质透明外罩(34)一侧固定连接。
4.根据权利要求1所述的清扫保洁环卫车自刷洗污水循环系统,其特征在于,所述出水引水管(7)与回水箱引水管(4)均与回水动力水泵(5)固定连接。
5.根据权利要求1所述的清扫保洁环卫车自刷洗污水循环系统,其特征在于,所述回水箱引水管(4)与400目三级精滤器总成(6)固定连接。
发明内容
本发明的目的是为了解决现有技术中存在的缺点,而提出的清扫保洁环卫车自刷洗污水循环系统。
为了实现上述目的,本发明采用了如下技术方案:设计清扫保洁环卫车自刷洗污水循环系统,包括车箱、三级过滤系统与自刷洗精滤系统,所述车箱一侧固定连接有回水箱引水管,所述车箱一侧中间位置处固定安装有回水动力水泵,所述车箱底端固定连接有400目三级精滤器总成,所述400目三级精滤器总成一侧固定连接有出水引水管,所述车箱底端固定连接有进水引水管,所述车箱底端固定安装有100目二级过滤器,所述100目二级过滤器对应进水引水管位置处固定连接有电磁球阀;所述三级过滤系统包括防尘散热箱,所述防尘散热箱侧壁固定连接有进水管,所述防尘散热箱内部一侧固定安装有直流24V自吸水泵,所述直流24V自吸水泵固定连接有水泵出水管,所述防尘散热箱内部另一侧固定设有三级400目精滤过滤器总成,所述三级400目精滤过滤器总成一侧固定连接有出水管,所述防尘散热箱另一侧固定连接有排污管,所述排污管一侧固定连接有电磁排污球阀;所述自刷洗精滤系统包括引流泵、旋转叶、400目不锈钢滤芯、PE材质透明外罩。
优选的,所述进水管与引流泵固定连接,所述旋转叶位于400目不锈钢滤芯内部。
优选的,所述排污管与PE材质透明外罩一侧固定连接。
优选的,所述出水引水管与回水箱引水管均与回水动力水泵固定连接。
优选的,所述回水箱引水管与400目三级精滤器总成固定连接。
本发明提出的清扫保洁环卫车自刷洗污水循环系统,有益效果在于:本发明结构紧凑、三级过滤、全自动自刷洗滤网、智能化监测装置组成的车载污水循环系统,目的在于解决清扫保洁类环卫车水箱小、续航短、易超重等实际问题,以减少车辆返场卸料的次数,从而提高车辆的实际作业效率。
(发明人:田国锋;陈照亨;刘吉辉;许炳生;许景明)






