公布日:2023.10.03
申请日:2023.06.27
分类号:B09B3/00(2022.01)I;B09B3/38(2022.01)I;B09B3/32(2022.01)I;B09B3/70(2022.01)I
摘要
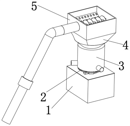
本发明涉及一种污泥垃圾分离处理装置。本发明的有益效果是:包括出料室、清搅组件、次级分离室、滤块筛和初筛室,出料室上固接有次级分离室,次级分离室上设置有清搅组件,滤块筛固接在次级分离室的上端,初筛室固接在滤块筛的上端,由初筛室到次级分离室再到出料室能率出的污泥颗粒度由大到小。1、能够进行对污泥中的颗粒度不同的在杂质进行分离。2、直接去除分离过程中的大部分水,便于后续固化操作。

权利要求书
1.一种污泥垃圾分离处理装置,其特征在于:包括出料室(1)、清搅组件(2)、次级分离室(3)、滤块筛(4)和初筛室(5),出料室(1)上固接有次级分离室(3),次级分离室(3)上设置有清搅组件(2),滤块筛(4)固接在次级分离室(3)的上端,初筛室(5)固接在滤块筛(4)的上端,由初筛室(5)到次级分离室(3)再到出料室(1)能率出的污泥颗粒度由大到小。
2.根据权利要求1所述的一种污泥垃圾分离处理装置,其特征在于:所述的清搅组件(2)包括同步齿轮(21)、推升螺线叶片(22)和传动齿形带(23),多个同步齿轮(21)通过传动齿形带(23)传动,多个推升螺线叶片(22)分别固接在多个同步齿轮(21)上,多个同步齿轮(21)中的一个外接有动力源。
3.根据权利要求2所述的一种污泥垃圾分离处理装置,其特征在于:所述的次级分离室(3)包括次级分离室外壳(31)、分离内胆(32)、分离孔(33)、固定架(34)、伸缩升降护罩(35)、转动搅拌轴(37)、搅拌遮挡板(38)和排出管(320),多个推升螺线叶片(22)均转动连接在次级分离室外壳(31),分离内胆(32)固接在次级分离室外壳(31)上,分离内胆(32)上设置多个分离孔(33),固定架(34)固接在次级分离室外壳(31)上,伸缩升降护罩(35)固接在固定架(34)上,伸缩升降护罩(35)的上端固接在搅拌遮挡板(38)上,多个转动搅拌轴(37)均转动连接在搅拌遮挡板(38)上,多个排出管(320)均固接在次级分离室外壳(31)上,搅拌遮挡板(38)底部设置有多个分离孔阻挡板(381)。
4.根据权利要求3所述的一种污泥垃圾分离处理装置,其特征在于:多个所述的转动搅拌轴(37)上均固接有多个齿轮轴(39),多个齿轮轴(39)通过传动齿形带(312)传动,多个齿轮轴(39)转动连接在搅拌遮挡板(38)上。
5.根据权利要求4所述的一种污泥垃圾分离处理装置,其特征在于:多个所述的齿轮轴(39)上设置有多个传动锥齿轮(310),多个传动锥齿轮(310)间隔设置在多个齿轮轴(39)上。
6.根据权利要求5所述的一种污泥垃圾分离处理装置,其特征在于:多个所述的传动锥齿轮(310)均与驱动锥齿轮(311)啮合传动,传动锥齿轮(310)固接在驱动电机(313)的输出轴上。
7.根据权利要求6所述的一种污泥垃圾分离处理装置,其特征在于:所述的次级分离室(3)还包括升降液压杆(351),升降液压杆(351)固接在固定架(34)上,升降液压杆(351)位于伸缩升降护罩(35)中,驱动电机(313)固接在升降液压杆(351)的上端。
8.根据权利要求7所述的一种污泥垃圾分离处理装置,其特征在于:所述的初筛室(5)包括初筛箱(51)、电机(52)、搅动叶片(53)、上料泵(55)、泵料管(56)和弧形初筛板(57),电机(52)固接在初筛箱(51)上,搅动叶片(53)转动连接在初筛箱(51)上,电机(52)固接在初筛箱(51)上,泵料管(56)固接在初筛箱(51)上,泵料管(56)上固接有上料泵(55),弧形初筛板(57)固接在初筛箱(51)上,弧形初筛板(57)位于搅动叶片(53)的正下方。
9.根据权利要求8所述的一种污泥垃圾分离处理装置,其特征在于:所述的泵料管(56)的底部端头内设置有阻挡滤网。
10.根据权利要求9所述的一种污泥垃圾分离处理装置,其特征在于:所述的滤块筛(4)包括中段连架(41)、初滤网(42)、振筛电机(43)和凸轮(44),中段连架(41)的上下两端分别固接在初筛箱(51)和次级分离室外壳(31)上,振筛电机(43)固接在初滤网(42)上,初滤网(42)固接在中段连架(41)上,凸轮(44)固接在振筛电机(43)的输出轴上。
发明内容
针对现有技术中的问题,本发明提供了一种污泥垃圾分离处理装置。
本发明解决其技术问题所采用的技术方案是:
一种污泥垃圾分离处理装置,包括出料室、清搅组件、次级分离室、滤块筛和初筛室,出料室上固接有次级分离室,次级分离室上设置有清搅组件,滤块筛固接在次级分离室的上端,初筛室固接在滤块筛的上端,由初筛室到次级分离室再到出料室能率出的污泥颗粒度由大到小。
具体的,所述的清搅组件包括同步齿轮、推升螺线叶片和传动齿形带,多个同步齿轮通过传动齿形带传动,多个推升螺线叶片分别固接在多个同步齿轮上,多个同步齿轮中的一个外接有动力源。
具体的,所述的次级分离室包括次级分离室外壳、分离内胆、分离孔、固定架、伸缩升降护罩、转动搅拌轴、搅拌遮挡板和排出管,多个推升螺线叶片均转动连接在次级分离室外壳,分离内胆固接在次级分离室外壳上,分离内胆上设置多个分离孔,固定架固接在次级分离室外壳上,伸缩升降护罩固接在固定架上,伸缩升降护罩的上端固接在搅拌遮挡板上,多个转动搅拌轴均转动连接在搅拌遮挡板上,多个排出管均固接在次级分离室外壳上,搅拌遮挡板底部设置有多个分离孔阻挡板。
具体的,多个所述的转动搅拌轴上均固接有多个齿轮轴,多个齿轮轴通过传动齿形带传动,多个齿轮轴转动连接在搅拌遮挡板上。
具体的,多个所述的齿轮轴上设置有多个传动锥齿轮,多个传动锥齿轮间隔设置在多个齿轮轴上。
具体的,多个所述的传动锥齿轮均与驱动锥齿轮啮合传动,传动锥齿轮固接在驱动电机的输出轴上。
具体的,所述的次级分离室还包括升降液压杆,升降液压杆固接在固定架上,升降液压杆位于伸缩升降护罩中,驱动电机固接在升降液压杆的上端。
具体的,所述的初筛室包括初筛箱、电机、搅动叶片、上料泵、泵料管和弧形初筛板,电机固接在初筛箱上,搅动叶片转动连接在初筛箱上,电机固接在初筛箱上,泵料管固接在初筛箱上,泵料管上固接有上料泵,弧形初筛板固接在初筛箱上,弧形初筛板位于搅动叶片的正下方。
具体的,所述的泵料管的底部端头内设置有阻挡滤网。
具体的,所述的滤块筛包括中段连架、初滤网、振筛电机和凸轮,中段连架的上下两端分别固接在初筛箱和次级分离室外壳上,振筛电机固接在初滤网上,初滤网固接在中段连架上,凸轮固接在振筛电机的输出轴上。
本发明的有益效果是:
(1)能够进行对污泥中的颗粒度不同的在杂质进行分离。
(2)直接去除分离过程中的大部分水,便于后续固化操作。
(发明人:夏玉坤;王成;钱志江;金?春?/span>;柳秀文;章燕冰)






