公布日:2024.04.16
申请日:2024.03.18
分类号:C02F1/02(2023.01)I;B01D46/30(2006.01)I;B01F27/112(2022.01)I;B01F27/07(2022.01)I;B01F27/90(2022.01)I;B08B9/087(2006.01)I;B01F101/00(2022.01)N
摘要
本发明涉及污水加热消毒技术领域,尤其涉及一种工厂用污水加热消毒装置。一种工厂用污水加热消毒装置,包括筒体、支腿、出水管、进水管、加热器、壳体和过滤件,所述壳体上所述开口的外侧固接有环形框,所述环形框内连接有安装架,所述安装架内设置有减速电机,所述减速电机的输出轴安装有扇叶,所述环形框的上端面固接有环形架,所述环形框的外侧面通过支架连接有盖体。本发明通过减速电机工作使扇叶抽取空气,并采用过滤件对蒸汽中的杂质进行拦截,利用水对气体进行过滤清洗,防止气体中较小的杂质随之飘散,同时通过水洗的方式能够将气体中的异味进行去除,防止气体直接流出污染周围的空气。

权利要求书
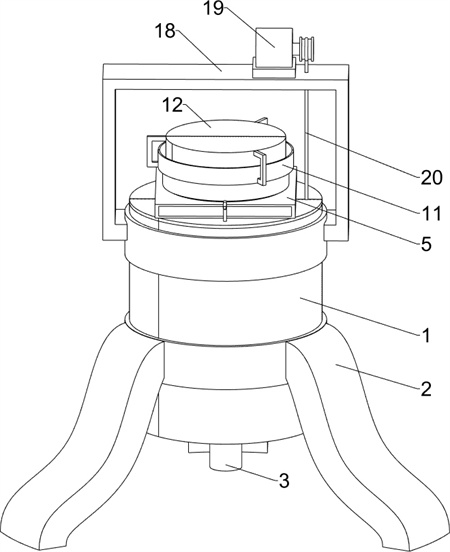
1.一种工厂用污水加热消毒装置,其特征是:包括筒体(1),所述筒体(1)的下侧设置有支腿(2),所述筒体(1)的底部连通有出水管(3),所述出水管(3)内设置有电磁阀,所述筒体(1)的上侧面设置有进水管(301),所述筒体(1)内的顶部设置有加热器(4),所述筒体(1)的上侧面设置有壳体(5),所述壳体(5)设置有上下贯穿的开口,所述筒体(1)的上侧面设置有周向等距分布的通孔,周向等距分布的所述通孔位于所述开口的内侧,和所述筒体(1)的上侧面均设置有同心的开口,所述壳体(5)内放置有用于滤除气体中杂质的过滤件(6),所述壳体(5)上所述开口的外侧固接有环形框(7),所述环形框(7)内连接有安装架(8),所述安装架(8)内设置有减速电机(9),所述减速电机(9)的输出轴安装有扇叶(10),所述环形框(7)的上端面固接有环形架(11),所述环形框(7)的外侧面通过支架连接有盖体(12);所述盖体(12)的下端面位于所述环形架(11)内,所述盖体(12)的下端面与所述环形架(11)内的底部留有供气体流动的空间;所述环形架(11)内填充有用于洗涤气体的水,所述水的液面高于所述盖体(12)的下端面。
2.按照权利要求1所述的一种工厂用污水加热消毒装置,其特征是:还包括第一刮板(13),所述第一刮板(13)限位滑动连接于所述筒体(1)的内侧面,所述第一刮板(13)的内侧面通过连接板(14)固接有第二刮板(15),所述连接板(14)的上侧面设有等距分布的第一叶轮(16),所述筒体(1)的上侧固接有固定架(18),所述固定架(18)安装有用于所述第一刮板(13)和所述第二刮板(15)上移的卷绕机(19),所述卷绕机(19)上设置有拉绳(20),所述拉绳(20)贯穿所述固定架(18)和所述筒体(1)的上侧面,与所述第一刮板(13)固接。
3.按照权利要求2所述的一种工厂用污水加热消毒装置,其特征是:所述第一刮板(13)和第二刮板(15)的厚度由中部向两侧逐渐减少,所述第一刮板(13)和第二刮板(15)的上下两侧均为用于清理加热器(4)外侧面和筒体(1)内侧面杂质的刃状。
4.按照权利要求2所述的一种工厂用污水加热消毒装置,其特征是:还包括加热件(22),所述筒体(1)上设置有用于防止热量外泄的隔热腔(21),所述隔热腔(21)内设置有用于温度升高的加热件(22)。
5.按照权利要求4所述的一种工厂用污水加热消毒装置,其特征是:还包括安装盘(23),所述安装盘(23)固接于所述筒体(1)内的底部,所述安装盘(23)的中心处设置有下料口,所述下料口的直径大于所述出水管(3)的内直径,所述出水管(3)的上端面转动连接有位于所述下料口内的环形板(24),所述环形板(24)的外侧面设置有等距分布的清理板(25),所述环形板(24)内通过支板安装有第二叶轮(26)。
6.按照权利要求5所述的一种工厂用污水加热消毒装置,其特征是:所述安装盘(23)的厚度由外侧逐渐向其中心处减少,所述安装盘(23)的横截面呈V形,用于处理后的污水排出。
7.按照权利要求5所述的一种工厂用污水加热消毒装置,其特征是:所述第一叶轮(16)和所述第二叶轮(26)的叶片均为倾斜设置,用于水流作为驱动。
8.按照权利要求7所述的一种工厂用污水加热消毒装置,其特征是:所述第一叶轮(16)和所述第二叶轮(26)上均同轴连接有分流块(17),所述分流块(17)为锥形用于减少上移阻力。
发明内容
为了克服上述背景技术所提出的缺点,本发明的技术问题是:提供一种工厂用污水加热消毒装置。
一种工厂用污水加热消毒装置,包括筒体,所述筒体的下侧设置有支腿,所述筒体的底部连通有出水管,所述出水管内设置有电磁阀,所述筒体的上侧面设置有进水管,所述筒体内的顶部设置有加热器,所述筒体的上侧面设置有壳体,所述壳体设置有上下贯穿的开口,所述筒体的上侧面设置有周向等距分布的通孔,周向等距分布的所述通孔位于所述开口的内侧,所述壳体内放置有用于滤除气体中杂质的过滤件,所述壳体上所述开口的外侧固接有环形框,所述环形框内连接有安装架,所述安装架内设置有减速电机,所述减速电机的输出轴安装有扇叶,所述环形框的上端面固接有环形架,所述环形框的外侧面通过支架连接有盖体。
进一步,所述盖体的下端面位于所述环形架内,所述盖体的下端面与所述环形架内的底部留有供气体流动的空间。
进一步,所述环形架内填充有用于洗涤气体的介质,所述介质的液面高于所述盖体的下端面。
进一步,还包括第一刮板,所述第一刮板限位滑动连接于所述筒体的内侧面,所述第一刮板的内侧面通过连接板固接有第二刮板,所述连接板的上侧面设有等距分布的第一叶轮,所述筒体的上侧固接有固定架,所述固定架安装有用于所述第一刮板和所述第二刮板上移的卷绕机,所述卷绕机上设置有拉绳,所述拉绳贯穿所述固定架和所述筒体的上侧面,与所述第一刮板固接。
进一步,所述第一刮板和第二刮板的厚度由中部向两侧逐渐减少,所述第一刮板和第二刮板的上下两侧均为用于清理加热器外侧面和筒体内侧面杂质的刃状。
进一步,还包括加热件,所述筒体上设置有用于防止热量外泄的隔热腔,所述隔热腔内设置有用于温度升高的加热件。
进一步,还包括安装盘,所述安装盘固接于所述筒体内的底部,所述安装盘的中心处设置有下料口,所述下料口的直径大于所述出水管的内直径,所述出水管的上端面转动连接有位于所述下料口内的环形板,所述环形板的外侧面设置有等距分布的清理板,所述环形板内通过支板安装有第二叶轮。
进一步,所述安装盘的厚度由外侧逐渐向其中心处减少,所述安装盘的横截面呈V形,用于处理后的污水排出。
进一步,所述第一叶轮和所述第二叶轮的叶片均为倾斜设置,用于水流作为驱动。
进一步,所述第一叶轮和所述第二叶轮上均同轴连接有分流块,所述分流块为锥形用于减少上移阻力。
本发明通过减速电机工作使扇叶抽取空气,并采用过滤件对蒸汽中的杂质进行拦截,利用水对气体进行过滤清洗,防止气体中较小的杂质随之飘散,同时通过水洗的方式能够将气体中的异味进行去除,防止气体直接流出污染周围的空气。
本发明通过第一刮板和第二刮板向上和向下移动能够分别对加热器的外侧面和筒体的内侧面上附着的杂质进行清理,且筒体内的污水会给向上移动的第一叶轮施加向下的力,且因第一叶轮的叶片为倾斜设置,为此第一叶轮能够转动对筒体内的水进行搅动,避免筒体内的水无法流动,进而影响污水加热消毒的处理效率。
本发明通过加热件工作对隔热腔内的空气进行加热,避免筒体内的温度向外散发,影响污水加热消毒的效率。
本发明通过污水流出过程中冲击第二叶轮使其转动,第二叶轮转动会通过支板带动环形板转动,环形板转动带动清理板转动对安装盘表面附着的杂质进行清理,避免安装盘上附着的杂质无法清理,导致逐渐堆积进而影响污水加热处理。
(发明人:朱江丽;朱姜龙;袁艳伍)






