公布日:2024.04.05
申请日:2022.09.27
分类号:C02F3/20(2006.01)I
摘要
本发明公开了一种生化污水处理池的曝气系统,包括送气机构和曝气机构,曝气机构用于将送气机构充入的气体均匀的扩散到污水生化池内的污水中,并对积聚在污水生化池底部的活性污泥进行冲刷、搅拌。本发明通过由曝气头、冲刷机构、套管、密封轴承和转动管构成的曝气机构,实现了对积聚在污水生化池底部的活性污泥和未分解的沉淀杂质进行冲洗和搅拌,从而使沉淀在池底的活性污泥得到充分氧气,并扩散到污水中提高活性污泥对污水中有机物的分解效率,而且通过冲刷机构带动曝气头进行旋转,可以有效将落在曝气头上的杂质通过与污水的摩擦冲刷掉,有效防止曝气头出现堵塞的现象。

权利要求书
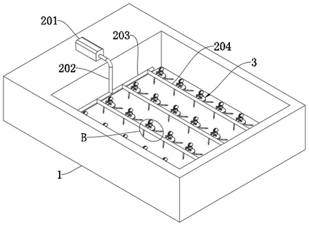
1.一种生化污水处理池的曝气系统,其特征在于,包括:送气机构,所述送气机构用于向污水生化池(1)的内部充入空气以增加所述污水生化池(1)内的含氧量,所述送气机构设置在所述污水生化池(1)的一侧;曝气机构,所述曝气机构设置有若干个,所述曝气机构与所述送气机构相连接后铺设在所述污水生化池(1)的内底部,所述曝气机构用于将所述送气机构充入的气体均匀的扩散到所述污水生化池(1)内的污水中,并对积聚在所述污水生化池(1)底部的污泥进行冲刷、搅拌。
2.根据权利要求1所述的一种生化污水处理池的曝气系统,其特征在于:所述送气机构包括鼓风机(201),所述鼓风机(201)的出气口与进气管(202)的一端相连通,所述进气管(202)的下端伸入所述污水生化池(1)的内部下端,连接总管(203)通过第一支架铺设在所述污水生化池(1)的内部,所述连接总管(203)与所述进气管(202)的下端相连通,所述连接总管(203)上连通有若干连接支管(204),每个所述连接支管(204)上安装有若干所述曝气机构。
3.根据权利要求2所述的一种生化污水处理池的曝气系统,其特征在于:所述曝气机构包括套管(301)和转动管(305),所述套管(301)与所述连接支管(204)相连通,所述套管(301)内部的上端和下端均固定连接有密封轴承(309),所述套管(301)的进气口位于两个所述密封轴承(309)之间,所述转动管(305)通过所述密封轴承(309)转动套设在所述套管(301)的内部,所述转动管(305)的外壁开设有若干与所述转动管(305)内部相连通的气孔(3051),若干所述气孔(3051)均位于两个所述密封轴承(309)之间,所述转动管(305)的上端密封固定连接有曝气头(304),所述转动管(305)的下端密封固定连接有用于驱动所述转动管(305)转动的冲刷机构。
4.根据权利要求3所述的一种生化污水处理池的曝气系统,其特征在于:所述冲刷机构包括中空板(306),所述中空板(306)的顶部连通有导气管,所述导气管与所述转动管(305)的下端密封固定连通,所述中空板(306)的外壁等距设置有若干与所述中空板(306)内部相连通的喷气管(307)。
5.根据权利要求4所述的一种生化污水处理池的曝气系统,其特征在于:还包括启闭组件,所述启闭组件包括连接杆(3072),所述连接杆(3072)通过两组固定架(3071)滑动设置在所述喷气管(307)的内部,所述连接杆(3072)靠近所述中空板(306)的一端固定连接有限位块(3074),所述连接杆(3072)上套设有第一弹簧(3073),所述第一弹簧(3073)的一端压在所述限位块(3074)的一侧,所述第一弹簧(3073)的另一端压在其中一个所述固定架(3071)的一侧,所述连接杆(3072)远离所述中空板(306)的一端伸出所述喷气管(307)的出气口后固定连接有挡块(3075)。
6.根据权利要求4所述的一种生化污水处理池的曝气系统,其特征在于:所述曝气头(304)的下端和所述导气管的上端均设置有用于与所述转动管(305)固定连接有卡接机构,所述转动管(305)的顶部和底部均开设有装配槽(3054),所述转动管(305)的顶部和底部均开设有与所述装配槽(3054)相连通的导向槽(3052),所述转动管(305)外壁的上端和下端均开设有与所述导向槽(3052)相连通的卡孔(3053),所述卡接机构包括中空块(401),属于所述导气管上的所述卡接机构中的所述中空块(401)固定连接在所述导气管的上端外壁上,属于所述曝气头(304)上的所述卡接机构中的所述中空块(401)固定连接在所述曝气头(304)的下端外壁上,所述中空块(401)的内部设置有第二弹簧(404)和圆形板(403),所述第二弹簧(404)的一端压在所述中空块(401)的一侧内壁,所述第二弹簧(404)的另一端压在所述圆形板(403)的一侧,所述圆形板(403)远离所述第二弹簧(404)的一侧固定连接有卡块(402),所述卡块(402)的一端滑动穿出所述中空块(401)的一侧后卡入所述卡孔(3053)的内部。
7.根据权利要求6所述的一种生化污水处理池的曝气系统,其特征在于:所述转动管(305)的外壁固定连接有挤压组件,所述挤压组件包括弧形弹片(501),所述弧形弹片(501)的两端固定连接在所述转动管(305)的外壁上,所述卡孔(3053)被所述弧形弹片(501)遮住,所述弧形弹片(501)的内侧固定连接有压块(502)。
8.根据权利要求6所述的一种生化污水处理池的曝气系统,其特征在于:所述曝气头(304)与所述转动管(305)上端的所述装配槽(3054)之间和所述导气管与所述转动管(305)下端的所述装配槽(3054)之间均设置有密封圈。
9.根据权利要求3所述的一种生化污水处理池的曝气系统,其特征在于:所述连接支管(204)上等距连通有若干连接管(205),所述连接管(205)的一端外壁开设有外螺纹,所述套管(301)的进气口连通有送气管(302),所述送气管(302)远离所述套管(301)的一端转动设置有接头螺母(303),所述接头螺母(303)通过螺纹固定连接在所述连接管(205)上,所述送气管(302)与所述连接管(205)相连通,所述连接管(205)上设置有阀门(206)。
10.根据权利要求9所述的一种生化污水处理池的曝气系统,其特征在于:所述送气管(302)上固定连接有毛刷(308),所述毛刷(308)靠近所述曝气头(304)的一面设置有刷毛,所述刷毛与所述曝气头(304)的表面相接触。
发明内容
本发明的目的在于:提供一种生化污水处理池的曝气系统,从而解决或者至少缓解了现有技术中存在的上述问题和其他方面的问题中的一个或多个。
为实现上述目的,本发明提供如下技术方案:
一种生化污水处理池的曝气系统,包括:
送气机构,所述送气机构用于向污水生化池的内部充入空气以增加所述污水生化池内的含氧量,所述送气机构设置在所述污水生化池的一侧;
曝气机构,所述曝气机构设置有若干个,所述曝气机构与所述送气机构相连接后铺设在所述污水生化池的内底部,所述曝气机构用于将所述送气机构充入的气体均匀的扩散到所述污水生化池内的污水中,并对积聚在所述污水生化池底部的活性污泥进行冲刷、搅拌。
进一步,所述送气机构包括鼓风机,所述鼓风机的出气口与进气管的一端相连通,所述进气管的下端伸入所述污水生化池的内部下端,连接总管通过第一支架铺设在所述污水生化池的内部,所述连接总管与所述进气管的下端相连通,所述连接总管上连通有若干连接支管,每个所述连接支管上安装有若干所述曝气机构。
进一步,所述曝气机构包括套管和转动管,所述套管与所述连接支管相连通,所述套管内部的上端和下端均固定连接有密封轴承,所述套管的进气口位于两个所述密封轴承之间,所述转动管通过所述密封轴承转动套设在所述套管的内部,所述转动管的外壁开设有若干与所述转动管内部相连通的气孔,若干所述气孔均位于两个所述密封轴承之间,所述转动管的上端密封固定连接有曝气头,所述转动管的下端密封固定连接有用于驱动所述转动管转动的冲刷机构。
进一步,所述冲刷机构包括中空板,所述中空板的顶部连通有导气管,所述导气管与所述转动管的下端密封固定连通,所述中空板的外壁等距设置有若干与所述中空板内部相连通的喷气管。
进一步,还包括启闭组件,所述启闭组件包括连接杆,所述连接杆通过两组固定架滑动设置在所述喷气管的内部,所述连接杆靠近所述中空板的一端固定连接有限位块,所述连接杆上套设有第一弹簧,所述第一弹簧的一端压在所述限位块的一侧,所述第一弹簧的另一端压在其中一个所述固定架的一侧,所述连接杆远离所述中空板的一端伸出所述喷气管的出气口后固定连接有挡块。
进一步,所述曝气头的下端和所述导气管的上端均设置有用于与所述转动管固定连接有卡接机构,所述转动管的顶部和底部均开设有装配槽,所述转动管的顶部和底部均开设有与所述装配槽相连通的导向槽,所述转动管外壁的上端和下端均开设有与所述导向槽相连通的卡孔,所述卡接机构包括中空块,属于所述导气管上的所述卡接机构中的所述中空块固定连接在所述导气管的上端外壁上,属于所述曝气头上的所述卡接机构中的所述中空块固定连接在所述曝气头的下端外壁上,所述中空块的内部设置有第二弹簧和圆形板,所述第二弹簧的一端压在所述中空块的一侧内壁,所述第二弹簧的另一端压在所述圆形板的一侧,所述圆形板远离所述第二弹簧的一侧固定连接有卡块,所述卡块的一端滑动穿出所述中空块的一侧后卡入所述卡孔的内部。
进一步,所述转动管的外壁固定连接有挤压组件,所述挤压组件包括弧形弹片,所述弧形弹片的两端固定连接在所述转动管的外壁上,所述卡孔被所述弧形弹片遮住,所述弧形弹片的内侧固定连接有压块。
进一步,所述曝气头与所述转动管上端的所述装配槽之间和所述导气管与所述转动管下端的所述装配槽之间均设置有密封圈。
进一步,所述连接支管上等距连通有若干连接管,所述连接管的一端外壁开设有外螺纹,所述套管的进气口连通有送气管,所述送气管远离所述套管的一端转动设置有接头螺母,所述接头螺母通过螺纹固定连接在所述连接管上,所述送气管与所述连接管相连通,所述连接管上设置有阀门。
进一步,所述送气管上固定连接有毛刷,所述毛刷靠近所述曝气头的一面设置有刷毛,所述刷毛与所述曝气头的表面相接触。
与现有技术相比,本发明的有益效果是:
1、本发明通过由曝气头、冲刷机构、套管、密封轴承和转动管构成的曝气机构,实现了对积聚在污水生化池底部的活性污泥和未分解的沉淀杂质进行冲洗和搅拌,从而使沉淀在池底的活性污泥得到充分氧气,并扩散到污水中提高活性污泥对污水中有机物的分解效率,而且通过冲刷机构带动曝气头进行旋转,可以有效将落在曝气头上的杂质通过与污水的摩擦冲刷掉,有效防止曝气头出现堵塞的现象;
2、通过由第一弹簧、挡块、限位块、固定架和连接杆组成的启闭组件,当喷气管内的远气压大于挡块受到的水压时,第一弹簧受到挤压,挡块被气压压出喷气管的出气口,当间歇曝气时间结束后,喷气管内的气压下降后,在第一弹簧的复位弹力下,挡块被连接杆拉回喷气管的出气口,将喷气管的出气口堵住,有效避免污水中的杂质通过喷气管的出气口积聚到喷气管内,对喷气管造成堵塞的现象;
3、通过设置的卡孔配合卡接机构,可以方便对曝气头和冲刷机构的快速拆装,便于后期的维护。
(发明人:李云峰;虞素飞;张建鹏;张建勋)






