公布日:2023.10.24
申请日:2023.09.12
分类号:F24H4/02(2022.01)I;F24H9/17(2022.01)I;F24H9/1809(2022.01)I;F24H9/20(2022.01)I;F24H15/38(2022.01)I
摘要
本发明公开了一种废水回收热泵型集成浴室及其热回收方法,包括浴室本体、热泵加热系统、储热水箱、热水增压泵、混水阀、洗浴花洒、废水回收系统和排气扇,热泵加热系统处理得到的热水连接到储热水箱,储热水箱内热水通过热水增压泵以及管道连接到混水阀,混水阀同样外接自来水,混水阀连接到洗浴花洒,浴室本体底面的排水坡下方对接设置有废水回收系统,所述废水回收系统处的废水热能由热泵加热系统吸收,所述浴室本体上部开设有散热口,散热口处安装有排气扇,为热泵加热系统中的翅片换热器提供强制通风气流。通过上述方式,本发明能够充分回收洗浴废水热能,进行清水加热,同时储存需求热水,完成洗浴热水的生产和供应。

权利要求书
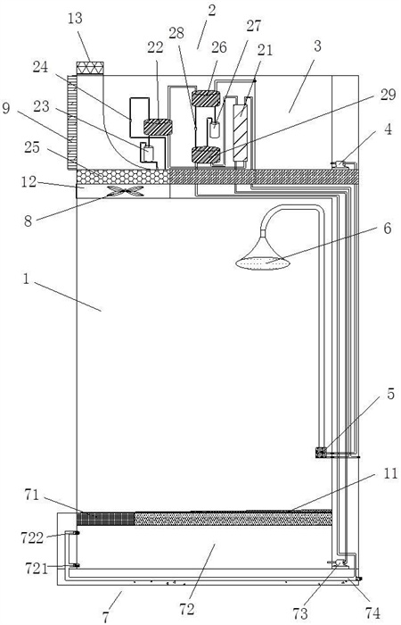
1.一种废水回收热泵型集成浴室,其特征在于:包括:浴室本体(1);热泵加热系统(2),设置在所述浴室本体(1)顶部,从废水、洗浴废热气以及压缩机中吸收热量,对自来水进行加热;储热水箱(3),热泵加热系统(2)加热后热水储存在所述储热水箱(3)中;混水阀(5),混水阀(5)外接自来水,所述储热水箱(3)内热水通过热水增压泵(4)以及管道连接到混水阀(5);洗浴花洒(6),混水阀(5)连接到洗浴花洒(6),冷热水经过混水阀(5)后经洗浴花洒(6)喷出,形成淋浴;废水回收系统(7),设置在所述浴室本体(1)底部,洗浴废水流入废水回收系统(7),废水经过废水增压泵后进入热泵加热系统(2);排气扇(8),设置在所述浴室本体(1)上部的散热口(12)处,排除浴室洗浴热气,同时为热泵加热系统(2)的翅片换热器(25)提供强制通风气流;所述热泵加热系统(2)包括依次连接的吸收废水热量的一级加热装置、吸收浴室环境热量以及洗浴热气的二级加热装置以及吸收废水剩余热量的三级加热装置。
2.根据权利要求1所述的一种废水回收热泵型集成浴室,其特征在于:所述一级加热装置采用水水换热器(21),水水换热器(21)两端分别连接自来水和废水回收系统(7)处废水,废水热能能够换热到自来水,提升自来水温度。
3.根据权利要求1所述的一种废水回收热泵型集成浴室,其特征在于:所述二级加热装置包括二级套管冷凝器(22)、二级转子压缩机(23)、二级电子膨胀阀(24)以及翅片换热器(25),经过一级加热装置的自来水接入二级套管冷凝器(22),二级转子压缩机(23)压缩的制冷剂连接到二级套管冷凝器(22),二级转子压缩机(23)工作为二级套管冷凝器(22)提供热能,一级加热后自来水于二级套管冷凝器(22)处吸热,进行二级加热,经过二级套管冷凝器(22)的制冷剂经过二级电子膨胀阀(24)、翅片换热器(25)后回流到二级转子压缩机(23),形成循环,翅片换热器(25)用于吸收浴室环境温度以及洗浴废热气。
4.根据权利要求1所述的一种废水回收热泵型集成浴室,其特征在于:所述三级加热装置包括三级套管冷凝器(26)、三级转子压缩机(27)、三级电子膨胀阀(28)以及套管蒸发器(29),经过二级加热装置的自来水接入三级套管冷凝器(26),三级转子压缩机(27)压缩的制冷剂连接到三级套管冷凝器(26),对其进行热交换,经过三级套管冷凝器(26)热交换后制冷剂通过三级电子膨胀阀(28)、套管蒸发器(29)后回流到三级转子压缩机(27),经过一级加热装置的废水连接到套管蒸发器(29),套管蒸发器(29)吸收废水中剩余热量,经过套管蒸发器(29)的废水连接到废水回收系统(7)的排污管道(74),经过三级套管冷凝器(26)的自来水通过管道连接到储热水箱(3)。
5.根据权利要求3所述的一种废水回收热泵型集成浴室,其特征在于:所述翅片换热器(25)置于所述排气扇(8)上方。
6.根据权利要求1所述的一种废水回收热泵型集成浴室,其特征在于:所述废水回收系统(7)包括过滤装置(71)、废水回收箱(72)、废水增压泵(73)以及排污管道(74),浴室本体(1)底面设置有排水坡(11),排水坡(11)低洼处下方对接设置有过滤装置(71),过滤装置(71)下方对接设置有废水回收箱(72),废水回收箱(72)内废水经过废水增压泵(73)后进入浴室顶部的热泵加热系统(2)的一级加热装置,所述废水回收箱(72)底部设置有排污口(721),排污口(721)连接排污管道(74),所述废水回收箱(72)侧端上部开设有与排污管道(74)相通的溢水口(722)。
7.根据权利要求1所述的一种废水回收热泵型集成浴室,其特征在于:所述浴室本体(1)顶部还开设有排气口(13)。
8.一种采用权利要求1-7任意一项所述的一种废水回收热泵型集成浴室的热回收方法,其特征在于:包括以下步骤:S1、一次回收,一开始洗浴花洒(6)喷洒自来水,洗浴废水温度与自来水一致,温度为20度左右,自来水直接无热交换的经过一级加热装置,自来水经过二级加热装置处的二级套管冷凝器(22),二级转子压缩机(23)工作将制冷剂压缩至高温高压的气体,温度90度左右,为二级套管冷凝器(22)提供热源,自来水与高温高压的气体制冷剂进行热交换,温度为30度左右,热交换后制冷剂为中温高压的气态或气液并存状态,经过电子膨胀阀后快速冷却变成低温低压的液态,翅片换热器(25)吸收浴室环境温度,制冷剂吸热后为常温低压气态,然后进入二级转子压缩机(23)压缩,进行循环,自来水进入三级加热装置的三级套管冷凝器(26),三级转子压缩机(27)工作将制冷剂压缩至高温高压的气体,温度90度左右,为三级套管冷凝器(26)提供热源,自来水与高温高压的气体制冷剂进行热交换,温度为50度左右,热水进入储热水箱(3)储存,套管蒸发器(29)吸收常温的废水热量,完成制冷剂的循环;S2、二次回收,洗浴花洒(6)喷洒步骤S1加热后温水,洗浴后的废水排水坡(11)流入过滤装置(71),对废水中的头发及其他杂物进行过滤后,汇入废水回收箱(72),温度为30度左右,废水经过废水增压泵(73)后进入一级加热装置,废水和自来水于水水换热器(21)处进行水水换热,换热后废水以及自来水温度为25度左右,一次加热后自来水进入二级加热装置,与二级转子压缩机(23)压缩高温高压的气体制冷剂进行热交换,温度为30度左右,此时翅片换热器(25)吸收浴室热气,制冷剂能够快速吸热后为常温低压气态,然后进入二级转子压缩机(23)处压缩进行循环,此时二级转子压缩机(23)相比于常温加热时间端,效率高,二次加热后自来水进入三级加热装置,与高温高压的气体制冷剂进行热交换,温度为50度左右,热水进入储热水箱(3)储存,套管蒸发器(29)吸收的一级加热装置后废水热量,25度左右,完成制冷剂的循环,相比于常温的洗浴废水,三级转子压缩机(27)加热时间短、效率高,经过套管蒸发器(29)的废水为10度左右并连接到排污管道(74);S3、重复回收,重复以上步骤S2中的二次回收,废水温度随洗浴次数越来越高,转子压缩机加热时间越来越短,功放越来越高,直至达到其最高效率。
发明内容
本发明主要解决的技术问题是提供一种废水回收热泵型集成浴室及其热回收方法,能够充分回收洗浴废水热能,进行清水加热,同时储存需求热水,完成洗浴热水的生产和供应。
为解决上述技术问题,本发明采用的一个技术方案是:提供一种废水回收热泵型集成浴室,该种废水回收热泵型集成浴室包括:浴室本体;热泵加热系统,设置在所述浴室本体顶部,从废水、洗浴废热气以及压缩机中吸收热量,对自来水进行加热;储热水箱,热泵加热系统加热后热水储存在所述储热水箱中;混水阀,混水阀外接自来水,所述储热水箱内热水通过热水增压泵以及管道连接到混水阀;洗浴花洒,混水阀连接到洗浴花洒,冷热水经过混水阀后经洗浴花洒喷出,形成淋浴;废水回收系统,设置在所述浴室本体底部,洗浴废水流入废水回收系统,废水经过废水增压泵后进入热泵加热系统;排气扇,设置在所述浴室本体上部的散热口处,排除浴室洗浴热气,同时为热泵加热系统的翅片换热器提供强制通风气流;所述热泵加热系统包括依次连接的吸收废水热量的一级加热装置、吸收浴室环境热量以及洗浴热气的二级加热装置以及吸收废水剩余热量的三级加热装置。
优选的是,所述一级加热装置采用水水换热器,水水换热器两端分别连接自来水和废水回收系统处废水,废水热能能够换热到自来水,提升自来水温度。
优选的是,所述二级加热装置包括二级套管冷凝器、二级转子压缩机、二级电子膨胀阀以及翅片换热器,经过一级加热装置的自来水接入二级套管冷凝器,二级转子压缩机压缩的制冷剂连接到二级套管冷凝器,二级转子压缩机工作为二级套管冷凝器提供热能,一级加热后自来水于二级套管冷凝器处吸热,进行二级加热,经过二级套管冷凝器的制冷剂经过二级电子膨胀阀、翅片换热器后回流到二级转子压缩机,形成循环,翅片换热器用于吸收浴室环境温度以及洗浴废热气。
优选的是,所述三级加热装置包括三级套管冷凝器、三级转子压缩机、三级电子膨胀阀以及套管蒸发器,经过二级加热装置的自来水接入三级套管冷凝器,三级转子压缩机压缩的制冷剂连接到三级套管冷凝器,对其进行热交换,经过三级套管冷凝器热交换后制冷剂通过三级电子膨胀阀、套管蒸发器后回流到三级转子压缩机,经过一级加热装置的废水连接到套管蒸发器,套管蒸发器吸收废水中剩余热量,经过套管蒸发器的废水连接到废水回收系统的排污管道,经过三级套管冷凝器的自来水通过管道连接到储热水箱。
优选的是,所述翅片换热器置于所述排气扇上方。
优选的是,所述废水回收系统包括过滤装置、废水回收箱、废水增压泵以及排污管道,浴室本体底面设置有排水坡,排水坡低洼处下方对接设置有过滤装置,过滤装置下方对接设置有废水回收箱,废水回收箱内废水经过废水增压泵后进入浴室顶部的热泵加热系统的一级加热装置,所述废水回收箱)底部设置有排污口,排污口连接排污管道,所述废水回收箱侧端上部开设有与排污管道相通的溢水口。
优选的是,所述浴室本体顶部还开设有排气口。
一种废水回收热泵型集成浴室的热回收方法,包括以下步骤:S1、一次回收,一开始洗浴花洒喷洒自来水,洗浴废水温度与自来水一致,温度为20度左右,自来水直接无热交换的经过一级加热装置,自来水经过二级加热装置处的二级套管冷凝器,二级转子压缩机工作将制冷剂压缩至高温高压的气体,温度90度左右,为二级套管冷凝器提供热源,自来水与高温高压的气体制冷剂进行热交换,温度为30度左右,热交换后制冷剂为中温高压的气态或气液并存状态,经过电子膨胀阀后快速冷却变成低温低压的液态,翅片换热器吸收浴室环境温度,制冷剂吸热后为常温低压气态,然后进入二级转子压缩机压缩,进行循环,自来水进入三级加热装置的三级套管冷凝器,三级转子压缩机工作将制冷剂压缩至高温高压的气体,温度90度左右,为三级套管冷凝器提供热源,自来水与高温高压的气体制冷剂进行热交换,温度为50度左右,热水进入储热水箱储存,套管蒸发器吸收常温的废水热量,完成制冷剂的循环;S2、二次回收,洗浴花洒喷洒步骤S1加热后温水,洗浴后的废水排水坡流入过滤装置,对废水中的头发及其他杂物进行过滤后,汇入废水回收箱,温度为30度左右,废水经过废水增压泵后进入一级加热装置,废水和自来水于水水换热器处进行水水换热,换热后废水以及自来水温度为25度左右,一次加热后自来水进入二级加热装置,与二级转子压缩机压缩高温高压的气体制冷剂进行热交换,温度为30度左右,此时翅片换热器吸收浴室热气,此时洗浴室热气温度高于浴室环境温度,制冷剂能够快速吸热后为常温低压气态,然后进入二级转子压缩机处压缩进行循环,此时二级转子压缩机相比于常温加热时间端,效率高,二次加热后自来水进入三级加热装置,与高温高压的气体制冷剂进行热交换,温度为50度左右,热水进入储热水箱储存,套管蒸发器吸收的一级加热装置后废水热量,25度左右,完成制冷剂的循环,相比于常温的洗浴废水,三级转子压缩机加热时间短、效率高,经过套管蒸发器的废水为10度左右并连接到排污管道;S3、重复回收,重复以上步骤S2中的二次回收,废水温度随洗浴次数越来越高,转子压缩机加热时间越来越短,功放越来越高,直至达到其最高效率。
与现有技术相比,本发明的有益效果是:充分考虑洗浴过程的可回收资源,包括废水以及废热气,通过热泵技术,合理的对上述废热进行余热回收,利用热泵原理回收废水热量,充分利用废水资源,节水节电,降低热水能源成本,同时对集成浴室中的洗浴废水和需要排除的废热汽进行余热回收,加热清水;系统集成性高,改变了以往集成浴室的设计和结构,满足仅提供自来水来源和系统需求电力,就可以完成洗浴热水的生产和供给;设计有废水回收系统和热泵加热系统,充分考虑废水回收和热水供应的特性,设计上下分布的水箱结构;热水储水箱集成在浴室中,无需外部供热水,无集中热源的建筑也可以安装。
(发明人:黄晨东;王飞)






