公布日:2023.10.20
申请日:2023.08.23
分类号:C02F1/00(2023.01)I;C02F3/00(2023.01)I;B08B9/087(2006.01)I;B01D29/03(2006.01)I;C02F101/20(2006.01)N
摘要
本发明提供一种重金属废水处理的设备及工艺,包括:废水存储组件、废水处理组件、挤压组件以及驱动组件,所述废水存储组件中间通过驱动组件活动安装有挤压组件,与现有技术相比,本发明具有如下的有益效果:挤压组件和驱动组件的设置,驱动组件使用废水势能和冲击力作为动力源,无需再增加其他驱动结构,降低设备的能耗,使其更加环保,符合当下提倡环保的理念,同时驱动挤压组件在柱筒内部上下移动,位于锥形罩二下端侧边的刷毛会对柱筒内壁进行清洁,同时挤压组件在上移时带动柱筒内部以及多个废水处理组件内部的废水出现短暂的回流,能够起到清洁的作用,避免生物滤膜长期工作导致的堵住,大大降低设备后期维护和更换次数。

权利要求书
1.一种重金属废水处理的设备,包括:废水存储组件(100)、废水处理组件(200)、挤压组件(300)以及驱动组件(400),其特征在于,所述废水存储组件(100)上侧转动安装有驱动组件(400),所述废水存储组件(100)中间通过驱动组件(400)活动安装有挤压组件(300),所述废水存储组件(100)下侧四周安装有多个均匀分布的废水处理组件(200);所述挤压组件(300)包括锥形罩一(310)、连接杆(320)、锥形罩二(330),所述连接杆(320)上端铰接有摆动杆,所述连接杆(320)上端通过摆动杆铰接有转动连接头,所述连接杆(320)下侧等间距固定有多个锥形罩一(310)、锥形罩二(330),每一个所述锥形罩一(310)下侧均固定有一个锥形罩二(330);所述锥形罩一(310)上表面边缘向下贯穿形成多个呈环形结构分布的贯穿孔(311),所述锥形罩一(310)的直径从上至下逐渐增大,所述锥形罩二(330)的直径从上至下逐渐增大,所述锥形罩二(330)上侧表面与锥形罩一(310)内壁活动抵接,所述锥形罩二(330)包括柔性连接部(332)、硬质承接部(333)以及刷毛(331),所述硬质承接部(333)的左侧、右侧、前侧以及后侧分别通过柔性连接部(332)连接成型,所述硬质承接部(333)的下侧边缘和柔性连接部(332)下侧的边缘均设置有刷毛(331),所述刷毛(331)与柱筒(120)内壁滑动连接;所述驱动组件(400)包括轴杆一(410)、轴杆二(430)、弯杆(420)以及水轮(440),所述轴杆一(410)左端转动安装在桶体(110)左侧内壁上端,所述轴杆一(410)右端通过联轴器与弯杆(420)左端固定连接,且所述轴杆一(410)右端与柱筒(120)上端左侧转动连接,所述轴杆二(430)左端通过联轴器与弯杆(420)右端固定连接,且所述轴杆二(430)左端与柱筒(120)上端右侧转动连接,所述弯杆(420)中间通过转动连接头与连接杆(320)上端转动连接,所述轴杆二(430)右侧设置有水轮(440),所述轴杆二(430)右侧横向贯穿滤板(160)。
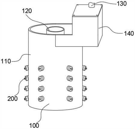
2.如权利要求1所述的一种重金属废水处理的设备,其特征在于:所述废水存储组件(100)包括桶体(110)、柱筒(120)、进水管(130)、进水部件(140)、锥形挡板(150)以及滤板(160),所述桶体(110)中间固定有柱筒(120),所述桶体(110)上端右侧一体设置有进水部件(140),所述进水部件(140)与桶体(110)上端右侧之间活动安装有滤板(160);所述桶体(110)上侧固定有锥形挡板(150),所述柱筒(120)下端贯穿锥形挡板(150)中间并向桶体(110)底部延伸,所述进水部件(140)上端后侧安装有进水管(130),所述进水管(130)一端延伸至进水部件(140)内部,且所述进水管(130)的另一端与废水抽泵连接。
3.如权利要求2所述的一种重金属废水处理的设备,其特征在于:所述桶体(110)内壁与柱筒(120)外壁之间设置有净水腔(111),所述净水腔(111)底部左侧、右侧分别设置有一个排水管一(112),所述柱筒(120)下端外壁向内均匀分布有多个连接孔,所述柱筒(120)底部设置有排水管二(121),所述排水管二(121)下端贯穿桶体(110)底部中间,所述柱筒(120)内部上侧安装有导向部件(123),所述导向部件(123)包括固定板和导向筒,所述导向筒焊接在固定板上侧中间,所述导向筒内部设置有贯穿腔,且所述贯穿腔向下延伸贯穿固定板中间,所述柱筒(120)上端左侧、右侧分别向内开设有一个进水口(122),两个所述进水口(122)均位于锥形挡板(150)底部上侧;所述锥形挡板(150)为一种倒置的喇叭形结构,所述锥形挡板(150)上端与进水部件(140)底部齐平,所述进水部件(140)左侧与桶体(110)右端连通,所述进水部件(140)顶部设置有顶盖。
4.如权利要求3所述的一种重金属废水处理的设备,其特征在于:所述废水处理组件(200)包括安装筒(210)、过滤筒(220)、密封件(230)、过滤件(240),所述安装筒(210)倾斜六十度安装在柱筒(120)外壁与桶体(110)内壁之间,且所述安装筒(210)的外端置于桶体(110)外壁外侧,所述安装筒(210)内部活动插装有过滤筒(220),所述过滤筒(220)内部活动插装有过滤件(240),所述安装筒(210)下端螺纹连接有密封件(230),所述密封件(230)通过密封垫与过滤筒(220)下端抵接。
5.如权利要求4所述的一种重金属废水处理的设备,其特征在于:所述安装筒(210)上端与柱筒(120)外壁固定连接,所述安装筒(210)上端通过柱筒(120)外壁上的连接孔与柱筒(120)内部连通,所述安装筒(210)下侧向下开设有弧形通槽一(211),所述安装筒(210)顶部内壁横向开设有一个导向槽(212),所述导向槽(212)上端不贯穿安装筒(210)内壁,所述导向槽(212)下端贯穿安装筒(210)内壁,所述安装筒(210)下端开口设计,且所述安装筒(210)下端内壁设置有内螺纹(213);所述过滤筒(220)上端与柱筒(120)外壁密封抵接,所述过滤筒(220)下侧开设有弧形通槽二(221),所述弧形通槽二(221)位于弧形通槽一(211)正上侧,所述过滤筒(220)顶部设置有定位条(222),所述过滤筒(220)上端开口设计,所述过滤筒(220)上端通过柱筒(120)上的连接孔与柱筒(120)内部连通,所述过滤筒(220)下端密封设计,所述过滤筒(220)内壁前下侧、后下侧分别开设有一个滑槽;所述过滤件(240)包括安装框(241)、生物滤膜(242)、卡条(243)以及支撑环(244),所述安装框(241)上端、下分别一体设置有一个支撑环(244),所述支撑环(244)的外径与过滤筒(220)的内径相匹配,所述安装框(241)的横截面呈弧形结构,所述安装框(241)下侧安装有生物滤膜(242),所述安装框(241)前侧、后侧分别设置有一个卡条(243),所述卡条(243)的尺寸与过滤筒(220)内壁前下侧、后下侧的滑槽相匹配;所述密封件(230)包括螺纹柱(231)、密封块(232)、延伸柱(233),所述螺纹柱(231)外侧设置有外螺纹,所述螺纹柱(231)通过外螺纹、内螺纹(213)与安装筒(210)下端螺纹连接,所述螺纹柱(231)下端设置有密封块(232),所述密封块(232)的直径与安装筒(210)的直径相同,所述密封块(232)下端中间设置有延伸柱(233),所述延伸柱(233)从前向后贯穿形成通孔(234)。
6.如权利要求1-5任一项所述的一种重金属废水处理设备的处理工艺,其特征在于:包括如下步骤:a、导入带有重金属的废水:通过抽泵与进水部件(140)上的进水管(130)连接,将带有重金属的废水以高压高流速的状态输送至进水部件(140)内部的水轮(440)后上侧,水轮(440)在高压高流速的废水冲击下,发生转动,进而带动整个驱动组件(400)进行转动,在被水轮(440)缓冲后的废水进入至进水部件(140)内部并通过滤板(160)的初步过滤后,进入至桶体(110)上侧的锥形挡板(150)内部,而后经过柱筒(120)上的进水口(122)进入柱筒(120)内部;b、对废水进行往复增压:随着水轮(440)带动整个驱动组件(400)转动,弯杆(420)通过转动连接头带动连接杆(320)上下运动,连接杆(320)在导向部件(123)、摆动杆的作用下,进行上下往复的直线运动,进而带动其上的锥形罩一(310)、锥形罩二(330)上下往复运动,下压时,锥形罩一(310)、锥形罩二(330)推动柱筒(120)内部的废水快速向下运动,增大了柱筒(120)内部的水压,进而使得柱筒(120)内部的废水快速进入至废水处理组件(200),并将位于柱筒(120)底部的高浓度废水通过排水管二(121)导出,反之,则锥形罩一(310)、锥形罩二(330)上移使得柱筒(120)下侧的水压降低,位于废水处理组件(200)内的废水出现短暂回流,便于将高浓度的重金属废水回流至柱筒(120)内部;c、生物膜过滤:在废水位于过滤筒(220)内部后,在锥形罩一(310)、锥形罩二(330)下压水时,过滤筒(220)内部的水压短暂增大,使得其内部重金属废水中的水快速通过生物滤膜(242),将废水中的重金属截留下来,过滤完的水通过排水管一(112)排出,实现重金属与水的分离,达到重金属废水处理的目的。
发明内容
针对现有技术存在的不足,本发明目的是提供一种重金属废水处理的设备及工艺,解决上述背景技术中提出的问题。
本发明通过以下的技术方案实现:一种重金属废水处理的设备,包括:废水存储组件、废水处理组件、挤压组件以及驱动组件,所述废水存储组件上侧转动安装有驱动组件,所述废水存储组件中间通过驱动组件活动安装有挤压组件,所述废水存储组件下侧四周安装有多个均匀分布的废水处理组件。
作为一优选的实施方式,所述废水存储组件包括桶体、柱筒、进水管、进水部件、锥形挡板以及滤板,所述桶体中间固定有柱筒,所述桶体上端右侧一体设置有进水部件,所述进水部件与桶体上端右侧之间活动安装有滤板;
所述桶体上侧固定有锥形挡板,所述柱筒下端贯穿锥形挡板中间并向桶体底部延伸,所述进水部件上端后侧安装有进水管,所述进水管一端延伸至进水部件内部,且所述进水管的另一端与废水抽泵连接。
作为一优选的实施方式,所述桶体内壁与柱筒外壁之间设置有净水腔,所述净水腔底部左侧、右侧分别设置有一个排水管一,所述柱筒下端外壁向内均匀分布有多个连接孔,所述柱筒底部设置有排水管二,所述排水管二下端贯穿桶体底部中间,所述柱筒内部上侧安装有导向部件,所述导向部件包括固定板和导向筒,所述导向筒焊接在固定板上侧中间,所述导向筒内部设置有贯穿腔,且所述贯穿腔向下延伸贯穿固定板中间,所述柱筒上端左侧、右侧分别向内开设有一个进水口,两个所述进水口均位于锥形挡板底部上侧;
所述锥形挡板为一种倒置的喇叭形结构,所述锥形挡板上端与进水部件底部齐平,所述进水部件左侧与桶体右端连通,所述进水部件顶部设置有顶盖。
作为一优选的实施方式,所述废水处理组件包括安装筒、过滤筒、密封件、过滤件,所述安装筒倾斜六十度安装在柱筒外壁与桶体内壁之间,且所述安装筒的外端置于桶体外壁外侧,所述安装筒内部活动插装有过滤筒,所述过滤筒内部活动插装有过滤件,所述安装筒下端螺纹连接有密封件,所述密封件通过密封垫与过滤筒下端抵接。
作为一优选的实施方式,所述安装筒上端与柱筒外壁固定连接,所述安装筒上端通过柱筒外壁上的连接孔与柱筒内部连通,所述安装筒下侧向下开设有弧形通槽一,所述安装筒顶部内壁横向开设有一个导向槽,所述导向槽上端不贯穿安装筒内壁,所述导向槽下端贯穿安装筒内壁,所述安装筒下端开口设计,且所述安装筒下端内壁设置有内螺纹;
所述过滤筒上端与柱筒外壁密封抵接,所述过滤筒下侧开设有弧形通槽二,所述弧形通槽二位于弧形通槽一正上侧,所述过滤筒顶部设置有定位条,所述过滤筒上端开口设计,所述过滤筒上端通过柱筒上的连接孔与柱筒内部连通,所述过滤筒下端密封设计,所述过滤筒内壁前下侧、后下侧分别开设有一个滑槽;
所述过滤件包括安装框、生物滤膜、卡条以及支撑环,所述安装框上端、下分别一体设置有一个支撑环,所述支撑环的外径与过滤筒的内径相匹配,所述安装框的横截面呈弧形结构,所述安装框下侧安装有生物滤膜,所述安装框前侧、后侧分别设置有一个卡条,所述卡条的尺寸与过滤筒内壁前下侧、后下侧的滑槽相匹配;
所述密封件包括螺纹柱、密封块、延伸柱,所述螺纹柱外侧设置有外螺纹,所述螺纹柱通过外螺纹、内螺纹与安装筒下端螺纹连接,所述螺纹柱下端设置有密封块,所述密封块的直径与安装筒的直径相同,所述密封块下端中间设置有延伸柱,所述延伸柱从前向后贯穿形成通孔。
作为一优选的实施方式,所述挤压组件包括锥形罩一、连接杆、锥形罩二,所述连接杆上端铰接有摆动杆,所述连接杆上端通过摆动杆铰接有转动连接头,所述连接杆下侧等间距固定有多个锥形罩一、锥形罩二,每一个所述锥形罩一下侧均固定有一个锥形罩二;
所述锥形罩一上表面边缘向下贯穿形成多个呈环形结构分布的贯穿孔,所述锥形罩一的直径从上至下逐渐增大,所述锥形罩二的直径从上至下逐渐增大,所述锥形罩二上侧表面与锥形罩一内壁活动抵接,所述锥形罩二包括柔性连接部、硬质承接部以及刷毛,所述硬质承接部的左侧、右侧、前侧以及后侧分别通过柔性连接部连接成型,所述硬质承接部的下侧边缘和柔性连接部下侧的边缘均设置有刷毛,所述刷毛与柱筒内壁滑动连接,挤压组件的设置,其在上移时带动柱筒内部以及多个废水处理组件内部的废水出现短暂的回流,能够起到清洁的作用,避免生物滤膜长期工作导致的堵住。
作为一优选的实施方式,所述驱动组件包括轴杆一、轴杆二、弯杆以及水轮,所述轴杆一左端转动安装在桶体左侧内壁上端,所述轴杆一右端通过联轴器与弯杆左端固定连接,且所述轴杆一右端与柱筒上端左侧转动连接,所述轴杆二左端通过联轴器与弯杆右端固定连接,且所述轴杆二左端与柱筒上端右侧转动连接,所述弯杆中间通过转动连接头与连接杆上端转动连接,所述轴杆二右侧设置有水轮,所述轴杆二右侧横向贯穿滤板。
本发明还涉及所述的一种重金属废水处理工艺,包括以下步骤:
a、导入带有重金属的废水:通过抽泵与进水部件上的进水管连接,将带有重金属的废水以高压高流速的状态输送至进水部件内部的水轮后上侧,水轮在高压高流速的废水冲击下,发生转动,进而带动整个驱动组件进行转动,在被水轮缓冲后的废水进入至进水部件内部并通过滤板的初步过滤后,进入至桶体上侧的锥形挡板内部,而后经过柱筒上的进水口进入柱筒内部。
b、对废水进行往复增压:随着水轮带动整个驱动组件转动,弯杆通过转动连接头带动连接杆上下运动,连接杆在导向部件、摆动杆的作用下,进行上下往复的直线运动,进而带动其上的锥形罩一、锥形罩二上下往复运动,下压时,锥形罩一、锥形罩二推动柱筒内部的废水快速向下运动,增大了柱筒内部的水压,进而使得柱筒内部的废水快速进入至废水处理组件,并将位于柱筒底部的高浓度废水通过排水管二导出,反之,则锥形罩一、锥形罩二上移使得柱筒下侧的水压降低,位于废水处理组件内的废水出现短暂回流,便于将高浓度的重金属废水回流至柱筒内部。
c、生物膜过滤:在废水位于过滤筒内部后,在锥形罩一、锥形罩二下压水时,过滤筒内部的水压短暂增大,使得其内部重金属废水中的水可以快速通过生物滤膜,将废水中的重金属截留下来,过滤完的水通过排水管一排出,实现重金属与水的分离,达到重金属废水处理的目的。
采用了上述技术方案后,本发明的有益效果是:通过设置废水存储组件,便于承接抽泵抽出的废水,并使其按照一定的要求进行流动,便于进行后续的废水处理,同时废水存储组件作为废水处理组件、驱动组件以及挤压组件的安装载体,使其构成一个完整的重金属废水处理设备;
废水处理组件的设置,多个废水处理组件同时工作且相互不会影响,一个废水处理组件发生故障,并不会影响其他的废水处理组件继续工作,能够保证整个设备的废水处理效率,且多个废水处理组件的外端均可以从废水存储组件的外侧就可以打开进行清洁和更换,大大降低了整个设备的复杂程度和后期维护、更换生物滤膜的难度,有效节约废水处理的时间和人员成本;
挤压组件和驱动组件的设置,驱动组件使用废水势能和冲击力作为动力源,无需再增加其他驱动结构,降低设备的能耗,使其更加环保,符合当下提倡环保的理念,同时驱动挤压组件在柱筒内部上下移动,位于锥形罩二下端侧边的刷毛会对柱筒内壁进行清洁,同时挤压组件在上移时带动柱筒内部以及多个废水处理组件内部的废水出现短暂的回流,能够起到清洁的作用,避免生物滤膜长期工作导致的堵住,大大降低设备后期维护和更换次数。
(发明人:任建新;陈娇;范志泳;冼俊彬;钟卫群)






