公布日:2024.04.02
申请日:2022.09.26
分类号:B01D29/96(2006.01)I;B01D29/90(2006.01)I;B01D29/01(2006.01)I
摘要
本发明公开了一种连续式一体化污水处理装置,包括:污水处理箱以及安装于污水处理箱顶部的污水进水机构,污水处理箱的内部安装有对称设置的两个污水过滤机构,污水处理箱的内部且对应两个污水过滤机构的位置安装有与污水过滤机构相匹配的两个驱动机构,污水处理箱的两侧且对应两个污水过滤机构的位置均安装有卡接机构,其中,污水进水机构用于对污水的通入;其中,污水过滤机构用于对污水的过滤。本发明当污水处理装置在长时间使用后滤网上吸附较多的杂质时,可以关闭单侧的截止阀,从而保证另一侧可以继续进行过滤,因此不需要停机即可实现对滤网的更换,从而保证了对污水的连续处理,也因此提高了污水的处理效率。

权利要求书
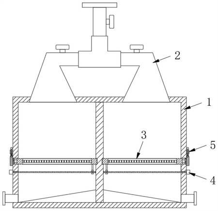
1.一种连续式一体化污水处理装置,其特征在于,包括:污水处理箱(1)以及安装于所述污水处理箱(1)顶部的污水进水机构(2),所述污水处理箱(1)的内部安装有对称设置的两个污水过滤机构(3),所述污水处理箱(1)的内部且对应两个所述污水过滤机构(3)的位置安装有与所述污水过滤机构(3)相匹配的两个驱动机构(4),所述污水处理箱(1)的两侧且对应两个所述污水过滤机构(3)的位置均安装有卡接机构(5);其中,所述污水进水机构(2)用于对污水的通入;其中,所述污水过滤机构(3)用于对污水的过滤;其中,所述驱动机构(4)用于对污水过滤机构(3)的清理;其中,所述卡接机构(5)用于对污水过滤机构(3)进行限位固定。
2.根据权利要求1所述的一种连续式一体化污水处理装置,其特征在于:所述污水处理箱(1)顶部的两侧均开设有进水口(101),所述污水处理箱(1)两侧的底部均固定连接有出水管(102),所述污水处理箱(1)的内壁上固定连接有密封隔板(103),且所述密封隔板(103)将所述污水处理箱(1)分割为两个腔室,所述污水处理箱(1)的两侧均开设有通槽(104)。
3.根据权利要求2所述的一种连续式一体化污水处理装置,其特征在于:所述污水进水机构(2)包括两个进水斗(201),两个所述进水斗(201)对称安装在所述污水处理箱(1)的顶部且对应两个所述进水口(101)的位置,两个所述进水斗(201)的顶部均固定连接有进水支管(202),两个所述进水支管(202)之间通过三通阀(203)相互连通,所述三通阀(203)的顶部安装有进水主管(204),两个所述进水支管(202)以及进水主管(204)上均安装有截止阀。
4.根据权利要求3所述的一种连续式一体化污水处理装置,其特征在于:所述污水过滤机构(3)包括与所述通槽(104)相匹配的密封挡板(301),所述密封挡板(301)的侧面固定连接有对称设置的两个连接柱(302),两个所述连接柱(302)远离所述密封挡板(301)的一端通过滤框(303)固定连接,所述滤框(303)通过所述密封挡板(301)密封安装于所述污水处理箱(1)的侧面且对应所述通槽(104)的位置,所述滤框(303)的内壁上固定连接有过滤网(304)。
5.根据权利要求4所述的一种连续式一体化污水处理装置,其特征在于:所述驱动机构(4)包括固定连接在所述污水处理箱(1)侧面的正反转电机(401),所述正反转电机(401)的输出轴上固定连接有螺纹轴(402),所述螺纹轴(402)上螺纹连接有螺纹套(403),所述螺纹套(403)的顶部固定连接有连接杆(404),且所述连接杆(404)的顶部与所述滤框(303)的底部固定连接。
6.根据权利要求5所述的一种连续式一体化污水处理装置,其特征在于:所述卡接机构(5)包括固定连接在所述污水处理箱(1)侧面的两个安装滑套(501),两个所述安装滑套(501)上均滑动连接有滑动卡杆(502),两个所述滑动卡杆(502)的底部均固定连接有连接块(503),两个所述连接块(503)的底部均固定连接有卡块(504),所述密封挡板(301)的顶部且对应两个所述卡块(504)的位置均开设有与所述卡块(504)相匹配的固定槽(506)。
7.根据权利要求6所述的一种连续式一体化污水处理装置,其特征在于:所述密封隔板(103)的两侧且对应所述滤框(303)的位置均开设有与所述滤框(303)相匹配的限位卡槽(3031)。
8.根据权利要求7所述的一种连续式一体化污水处理装置,其特征在于:所述密封挡板(301)靠近所述连接柱(302)的一侧固定连接有与所述通槽(104)相匹配的密封圈(3011)。
9.根据权利要求8所述的一种连续式一体化污水处理装置,其特征在于:所述驱动机构(4)还包括两个限位滑杆(4031),两个所述限位滑杆(4031)的一端均固定连接在所述污水处理箱(1)的内壁上,两个所述限位滑杆(4031)的另一端均与所述密封隔板(103)的侧面固定连接,两个所述限位滑杆(4031)上均滑动连接有限位滑套(4032),且所述限位滑套(4032)靠近所述螺纹套(403)的一侧与所述螺纹套(403)的侧面固定连接。
10.根据权利要求9所述的一种连续式一体化污水处理装置,其特征在于:所述卡接机构(5)还包括操作连杆(5021),且所述操作连杆(5021)固定连接在两个所述滑动卡杆(502)的顶部。
发明内容
本发明的目的是:提供一种连续式一体化污水处理装置,当污水处理装置在长时间使用后滤网上吸附较多的杂质时,可以关闭单侧的截止阀,从而保证另一侧可以继续进行过滤,因此不需要停机即可实现对滤网的更换,从而保证了对污水的连续处理,也因此提高了污水的处理效率。
为了达到上述目的,本发明采用如下技术方案:
一种连续式一体化污水处理装置,包括:
污水处理箱以及安装于所述污水处理箱顶部的污水进水机构,所述污水处理箱的内部安装有对称设置的两个污水过滤机构,所述污水处理箱的内部且对应两个所述污水过滤机构的位置安装有与所述污水过滤机构相匹配的两个驱动机构,所述污水处理箱的两侧且对应两个所述污水过滤机构的位置均安装有卡接机构;
其中,所述污水进水机构用于对污水的通入;
其中,所述污水过滤机构用于对污水的过滤;
其中,所述驱动机构用于对污水过滤机构的清理;
其中,所述卡接机构用于对污水过滤机构进行限位固定。
优选地,所述污水处理箱顶部的两侧均开设有进水口,所述污水处理箱两侧的底部均固定连接有出水管,所述污水处理箱的内壁上固定连接有密封隔板,且所述密封隔板将所述污水处理箱分割为两个腔室,所述污水处理箱的两侧均开设有通槽。
优选地,所述污水进水机构包括两个进水斗,两个所述进水斗对称安装在所述污水处理箱的顶部且对应两个所述进水口的位置,两个所述进水斗的顶部均固定连接有进水支管,两个所述进水支管之间通过三通阀相互连通,所述三通阀的顶部安装有进水主管,两个所述进水支管以及进水主管上均安装有截止阀。
优选地,所述污水过滤机构包括与所述通槽相匹配的密封挡板,所述密封挡板的侧面固定连接有对称设置的两个连接柱,两个所述连接柱远离所述密封挡板的一端通过滤框固定连接,所述滤框通过所述密封挡板密封安装于所述污水处理箱的侧面且对应所述通槽的位置,所述滤框的内壁上固定连接有过滤网。
优选地,所述驱动机构包括固定连接在所述污水处理箱侧面的正反转电机,所述正反转电机的输出轴上固定连接有螺纹轴,所述螺纹轴上螺纹连接有螺纹套,所述螺纹套的顶部固定连接有连接杆,且所述连接杆的顶部与所述滤框的底部固定连接。
优选地,所述卡接机构包括固定连接在所述污水处理箱侧面的两个安装滑套,两个所述安装滑套上均滑动连接有滑动卡杆,两个所述滑动卡杆的底部均固定连接有连接块,两个所述连接块的底部均固定连接有卡块,所述密封挡板的顶部且对应两个所述卡块的位置均开设有与所述卡块相匹配的固定槽。
优选地,所述密封隔板的两侧且对应所述滤框的位置均开设有与所述滤框相匹配的限位卡槽。
优选地,所述密封挡板靠近所述连接柱的一侧固定连接有与所述通槽相匹配的密封圈。
优选地,所述驱动机构还包括两个限位滑杆,两个所述限位滑杆的一端均固定连接在所述污水处理箱的内壁上,两个所述限位滑杆的另一端均与所述密封隔板的侧面固定连接,两个所述限位滑杆上均滑动连接有限位滑套,且所述限位滑套靠近所述螺纹套的一侧与所述螺纹套的侧面固定连接。
优选地,所述卡接机构还包括操作连杆,且所述操作连杆固定连接在两个所述滑动卡杆的顶部。
与现有技术相比,本发明的优点和积极效果在于:
1、本发明,设置的污水进水机构由进水斗、进水支管、三通阀以及进水主管构成,在使用时,处理量较大时,可以采用两个进水斗进行供水,从而提高过滤效率,当处理量较小时,可以采用单侧进水,从而在保证了过滤的同时,降低了能耗,并且在对滤网进行更换时,采用单侧进水,并对另一侧的过滤网进行拆卸更换或清理即可;
2、本发明,设置的驱动机构由正反转电机、螺纹轴、螺纹套以及连接杆构成,通过正反转电机带动螺纹轴转动,并在螺纹套的螺纹作用下,能够带动螺纹套上的连接杆往复移动,因此方便将滤框抽出污水处理箱,从而方便对滤框上的过滤网进行清理或更换;
3、本发明,设置的卡接机构由安装滑套、滑动卡杆、连接块、卡块、套簧以及固定槽构成,在密封挡板安装于污水处理箱侧面时,能够实现对密封挡板的稳定固定,从而增加了密封挡板安装于污水处理箱侧面的稳定性,也因此保证了过滤网对污水过滤时的稳定性。
(发明人:李云峰;虞素飞;张建鹏;汪洋;谭亮)






