公布日:2023.09.08
申请日:2023.06.30
分类号:B01D25/12(2006.01)I;B01D25/38(2006.01)I
摘要
本发明涉及一种隔膜压滤机中心孔积泥清除装置包括推送液压杆、驱动部、适应清洁头、导向头、连接管和滤板,驱动部固接在推送液压杆的移动端上,适应清洁头固接在驱动部上,适应清洁头上设置有导向头,适应清洁头滑动连接在连接管中,连接管固接在滤板上,连接管上设置有截止阀,适应清洁头能改变外径大小,适应清洁头能围绕自身中心轴自转。本发明的有益效果是:1、能够在清除含水量多的污泥同时进行旋转推送,高效清洁滤板中心孔含水量污泥。2、能够针对不同孔径的中心孔进行清洁。3、在针对不同孔径的中心孔调整清洁部分的同时能够调整后部推出部分,有效的防止清洁下的含水率高的污泥。

权利要求书
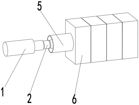
1.一种隔膜压滤机中心孔积泥清除装置,其特征在于:包括推送液压杆(1)、驱动部(2)、适应清洁头(3)、导向头(4)、连接管(5)和滤板(6),驱动部(2)固接在推送液压杆(1)的移动端上,适应清洁头(3)固接在驱动部(2)上,适应清洁头(3)上设置有导向头(4),适应清洁头(3)滑动连接在连接管(5)中,连接管(5)固接在滤板(6)上,连接管(5)上设置有截止阀,适应清洁头(3)能改变外径大小,适应清洁头(3)能围绕自身中心轴自转。
2.根据权利要求1所述的一种隔膜压滤机中心孔积泥清除装置,其特征在于:所述的驱动部(2)包括伸缩封闭外壳(21)、驱动清洁电机(22)、清洗头调整电机(23)、驱动齿轮(24)和从动齿轮(25),驱动清洁电机(22)和清洗头调整电机(23)均固接在伸缩封闭外壳(21)中,驱动齿轮(24)固接在驱动清洁电机(22)输出轴上,驱动齿轮(24)和从动齿轮(25)啮合传动。
3.根据权利要求2所述的一种隔膜压滤机中心孔积泥清除装置,其特征在于:所述的适应清洁头(3)包括调整丝杆(31)、驱动轴(32)、驱动轴齿轮(321)、反旋轴(33)、反旋传动齿轮(331)、传动齿轮(34)、封闭胀圈(35)和密封推送上卡板(36),密封推送上卡板(36)与调整丝杆(31)通过螺纹传动,密封推送上卡板(36)转动连接在伸缩封闭外壳(21)上,从动齿轮(25)固接在驱动轴(32)上,反旋传动齿轮(331)固接在反旋轴(33)上,驱动轴齿轮(321)固接在驱动轴(32)上,驱动轴齿轮(321)和反旋传动齿轮(331)通过多个传动齿轮(34)啮合传动,驱动轴(32)转动连接在反旋轴(33)中。
4.根据权利要求3所述的一种隔膜压滤机中心孔积泥清除装置,其特征在于:所述的适应清洁头(3)还包括弹性锥形胀圈(35)、底层推沙环(351)、伸缩轴向限定环(352)和推送下卡板(353),弹性锥形胀圈(35)设置在推送下卡板(353)和密封推送上卡板(36)之间,伸缩轴向限定环(352)固接在密封推送上卡板(36)的底部,多个传动齿轮(34)均转动连接在伸缩轴向限定环(352)上,底层推沙环(351)固接在反旋轴(33)上。
5.根据权利要求4所述的一种隔膜压滤机中心孔积泥清除装置,其特征在于:所述的密封推送上卡板(36)底部设置有卡槽(361)。
6.根据权利要求5所述的一种隔膜压滤机中心孔积泥清除装置,其特征在于:所述的弹性锥形胀圈(35)上下两侧锥角分别为30°和60°。
7.根据权利要求6所述的一种隔膜压滤机中心孔积泥清除装置,其特征在于:所述的适应清洁头(3)还包括调整电机(301)、调整端板(37)、固定端板(371)、连接杆(38)、滑块(39)、横连杆(310)、延伸推杆(311)和清洗旋转外壳(313),调整电机(301)输出轴固接在调整端板(37)上,调整端板(37)固接在清洗旋转外壳(313)中,清洗旋转外壳(313)固接在底层推沙环(351)上,多个连接杆(38)均固接在调整端板(37)上,多个横连杆(310)分别转动连接在多个连接杆(38)上,多个横连杆(310)分别转动连接在多个滑块(39)上,多个滑块(39)上均固接有延伸推杆(311),固定端板(371)固接在清洗旋转外壳(313)上,多个滑块(39)均滑动连接在固定端板(371)上,多个延伸推杆(311)均滑动连接在清洗旋转外壳(313)上,调整电机(301)固接在清洗旋转外壳(313)上。
8.根据权利要求7所述的一种隔膜压滤机中心孔积泥清除装置,其特征在于:所述的适应清洁头(3)还包括延伸清洗板(312)和清洁刮板(321),延伸清洗板(312)上固接有多个清洁刮板(321),多个延伸清洗板(312)分别固接在多个延伸推杆(311)上,多个延伸清洗板(312)均滑动连接在清洗旋转外壳(313)上。
9.根据权利要求8所述的一种隔膜压滤机中心孔积泥清除装置,其特征在于:多个所述的清洁刮板(321)呈“V”字形。
发明内容
针对现有技术中的问题,本发明提供了一种隔膜压滤机中心孔积泥清除装置。
本发明解决其技术问题所采用的技术方案是:
一种隔膜压滤机中心孔积泥清除装置包括推送液压杆、驱动部、适应清洁头、导向头、连接管和滤板,驱动部固接在推送液压杆的移动端上,适应清洁头固接在驱动部上,适应清洁头上设置有导向头,适应清洁头滑动连接在连接管中,连接管固接在滤板上,连接管上设置有截止阀,适应清洁头能改变外径大小,适应清洁头能围绕自身中心轴自转。
所述的驱动部包括伸缩封闭外壳、驱动清洁电机、清洗头调整电机、驱动齿轮和从动齿轮,驱动清洁电机和清洗头调整电机均固接在伸缩封闭外壳中,驱动齿轮固接在驱动清洁电机输出轴上,驱动齿轮和从动齿轮啮合传动。
所述的适应清洁头包括调整丝杆、驱动轴、驱动轴齿轮、反旋轴、反旋传动齿轮、传动齿轮、封闭胀圈和密封推送上卡板,密封推送上卡板与调整丝杆通过螺纹传动,密封推送上卡板转动连接在伸缩封闭外壳上,从动齿轮固接在驱动轴上,反旋传动齿轮固接在反旋轴上,驱动轴齿轮固接在驱动轴上,驱动轴齿轮和反旋传动齿轮通过多个传动齿轮啮合传动,驱动轴转动连接在反旋轴中。
所述的适应清洁头还包括弹性锥形胀圈、底层推沙环、伸缩轴向限定环和推送下卡板,弹性锥形胀圈设置在推送下卡板和密封推送上卡板之间,伸缩轴向限定环固接在密封推送上卡板的底部,多个传动齿轮均转动连接在伸缩轴向限定环上,底层推沙环固接在反旋轴上。
所述的密封推送上卡板底部设置有卡槽。
所述的弹性锥形胀圈上下两侧锥角分别为30°和60°。
所述的所述的适应清洁头还包括调整电机、调整端板、固定端板、连接杆、滑块、横连杆、延伸推杆和清洗旋转外壳,调整电机输出轴固接在调整端板上,调整端板固接在清洗旋转外壳中,清洗旋转外壳固接在底层推沙环上,多个连接杆均固接在调整端板上,多个横连杆分别转动连接在多个连接杆上,多个横连杆分别转动连接在多个滑块上,多个滑块上均固接有延伸推杆,多个滑块均滑动连接在固定端板上,固定端板固接在清洗旋转外壳上,多个延伸推杆均滑动连接在清洗旋转外壳上,调整电机固接在清洗旋转外壳上。
所述的适应清洁头还包括延伸清洗板和清洁刮板,延伸清洗板上固接有多个清洁刮板,多个延伸清洗板分别固接在多个延伸推杆上,多个延伸清洗板均滑动连接在清洗旋转外壳上。
多个所述的清洁刮板呈“V”字形。
本发明的有益效果是:
(1)能够在清除含水量多的污泥同时进行旋转推送,高效清洁滤板中心孔含水量污泥。
(2)能够针对不同孔径的中心孔进行清洁。
(3)在针对不同孔径的中心孔调整清洁部分的同时能够调整后部推出部分,有效的防止清洁下的含水率高的污泥。
(发明人:周茂林;陈柏校;俞洪春;宋立斌;沈飞凯)






