公布日:2024.12.31
申请日:2024.12.03
分类号:B01D33/11(2006.01)I;B01D33/46(2006.01)I;B01D33/54(2006.01)I;B01D33/80(2006.01)I
摘要
本发明公开了一种电镀生产用废水处理设备,涉及电镀废水处理技术领域,包括工作筒和固液分离组件,所述工作筒的顶部一侧穿设有进水管,所述固液分离组件设置于工作筒的底部,所述移动套的外壁通过支杆连接有锥形管套。该电镀生产用废水处理设备,毛刷条会贴于分离转筒内壁升降对其微孔加以清理,同时毛刷套还会贴于分离转筒外壁进行转动,以增强微孔防堵塞效果,圆盘在升降时,废水被下锥体、锥形管套升降而推挤至圆盘边缘处,以便废水从间隙以及过水孔中加以流通,方便废水更好的与分离转筒的内壁接触,由此使得废水快速接受离心力作用使得液体穿过微孔而与固体结晶分离。

权利要求书
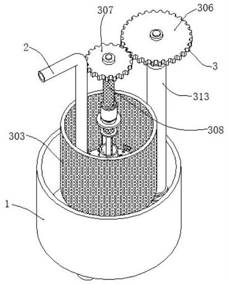
1.一种电镀生产用废水处理设备,包括工作筒(1)和固液分离组件(3),其特征在于:所述工作筒(1)的顶部一侧穿设有进水管(2),所述固液分离组件(3)设置于工作筒(1)的底部,所述固液分离组件(3)包括驱动电机(301)、转轴(302)、分离转筒(303)、传动轴(304)、传动皮带(305)、转动齿轮(306)、受力齿轮(307)、往复丝杆(308)、移动套(309)、锥形管套(310)、圆盘(311)和毛刷条(312),所述驱动电机(301)的顶部连接有转轴(302),且转轴(302)的顶部固定有分离转筒(303),所述分离转筒(303)的外侧平行分布有传动轴(304),且传动轴(304)的底部与转轴(302)的表面均啮合连接有传动皮带(305),所述传动轴(304)的顶部固定有转动齿轮(306),且转动齿轮(306)的一侧啮合连接有受力齿轮(307),所述受力齿轮(307)的底部连接有往复丝杆(308),且往复丝杆(308)的外壁套设有移动套(309),所述移动套(309)的外壁通过支杆连接有锥形管套(310),且锥形管套(310)的底部固定有圆盘(311),所述圆盘(311)的外侧面呈环形状分布有毛刷条(312)。
2.根据权利要求1所述的一种电镀生产用废水处理设备,其特征在于:所述固液分离组件(3)还包括毛刷套(313),所述传动轴(304)的外壁套设有毛刷套(313)。
3.根据权利要求2所述的一种电镀生产用废水处理设备,其特征在于:所述固液分离组件(3)还包括下锥体(314)和过水孔(315),所述圆盘(311)的底部固定有下锥体(314),且圆盘(311)的表面均匀开设有过水孔(315)。
4.根据权利要求3所述的一种电镀生产用废水处理设备,其特征在于:所述固液分离组件(3)还包括边缘腔(316)、弹簧杆(317)和第一活动滚珠(318),所述圆盘(311)内部呈环形状开设有边缘腔(316),且边缘腔(316)的内部穿设有弹簧杆(317),所述弹簧杆(317)的外端内嵌有第一活动滚珠(318)。
5.根据权利要求4所述的一种电镀生产用废水处理设备,其特征在于:所述固液分离组件(3)还包括中心腔(319)、凸边盘(320)和凸边插接轴(321),所述圆盘(311)内壁中部开设有中心腔(319),且中心腔(319)的内部转动连接有凸边盘(320),所述凸边盘(320)的表面连接有凸边插接轴(321)。
6.根据权利要求5所述的一种电镀生产用废水处理设备,其特征在于:所述弹簧杆(317)的内端位于中心腔(319)内部,且凸边盘(320)的凸边边缘处贴于中心腔(319)的内壁表面。
7.根据权利要求6所述的一种电镀生产用废水处理设备,其特征在于:所述固液分离组件(3)还包括第二活动滚珠(322),所述凸边插接轴(321)的凸出部位的两侧等距嵌入有第二活动滚珠(322)。
8.根据权利要求7所述的一种电镀生产用废水处理设备,其特征在于:所述固液分离组件(3)还包括插接滑槽(323),所述往复丝杆(308)的内部开设有插接滑槽(323)。
9.根据权利要求8所述的一种电镀生产用废水处理设备,其特征在于:所述插接滑槽(323)的内口结构与凸边插接轴(321)的外口结构相适配,且凸边插接轴(321)通过第二活动滚珠(322)、插接滑槽(323)与往复丝杆(308)滑动连接,所述凸边插接轴(321)贯穿锥形管套(310)的内部,且凸边盘(320)通过凸边插接轴(321)与往复丝杆(308)构成传动结构。
10.根据权利要求3所述的一种电镀生产用废水处理设备,其特征在于:所述下锥体(314)的底端内部嵌入有弹簧伸缩杆(4),且弹簧伸缩杆(4)的活动杆端部外壁固定有坡面板(5),所述弹簧伸缩杆(4)的活动杆端部设置有连接轴承(6),且弹簧伸缩杆(4)的活动杆外壁套设有波纹套(7)。
发明内容
针对现有技术的不足,本发明提供了一种电镀生产用废水处理设备,解决了上述背景技术中提出的问题。
为实现以上目的,本发明通过以下技术方案予以实现:一种电镀生产用废水处理设备,包括工作筒和固液分离组件,所述工作筒的顶部一侧穿设有进水管,所述固液分离组件设置于工作筒的底部,所述固液分离组件包括驱动电机、转轴、分离转筒、传动轴、传动皮带、转动齿轮、受力齿轮、往复丝杆、移动套、锥形管套、圆盘和毛刷条,所述驱动电机的顶部连接有转轴,且转轴的顶部固定有分离转筒,所述分离转筒的外侧平行分布有传动轴,且传动轴的底部与转轴的表面均啮合连接有传动皮带,所述传动轴的顶部固定有转动齿轮,且转动齿轮的一侧啮合连接有受力齿轮,所述受力齿轮的底部连接有往复丝杆,且往复丝杆的外壁套设有移动套,所述移动套的外壁通过支杆连接有锥形管套,且锥形管套的底部固定有圆盘,所述圆盘的外侧面呈环形状分布有毛刷条。
进一步的,所述固液分离组件还包括毛刷套,所述传动轴的外壁套设有毛刷套。
进一步的,所述固液分离组件还包括下锥体和过水孔,所述圆盘的底部固定有下锥体,且圆盘的表面均匀开设有过水孔。
进一步的,所述固液分离组件还包括边缘腔、弹簧杆和第一活动滚珠,所述圆盘内部呈环形状开设有边缘腔,且边缘腔的内部穿设有弹簧杆,所述弹簧杆的外端内嵌有第一活动滚珠。
进一步的,所述固液分离组件还包括中心腔、凸边盘和凸边插接轴,所述圆盘内壁中部开设有中心腔,且中心腔的内部转动连接有凸边盘,所述凸边盘的表面连接有凸边插接轴。
进一步的,所述弹簧杆的内端位于中心腔内部,且凸边盘的凸边边缘处贴于中心腔的内壁表面。
进一步的,所述固液分离组件还包括第二活动滚珠,所述凸边插接轴的凸出部位的两侧等距嵌入有第二活动滚珠。
进一步的,所述固液分离组件还包括插接滑槽,所述往复丝杆的内部开设有插接滑槽。
进一步的,所述插接滑槽的内口结构与凸边插接轴的外口结构相适配,且凸边插接轴通过第二活动滚珠、插接滑槽与往复丝杆滑动连接,所述凸边插接轴贯穿锥形管套的内部,且凸边盘通过凸边插接轴与往复丝杆构成传动结构。
进一步的,所述下锥体的底端内部嵌入有弹簧伸缩杆,且弹簧伸缩杆的活动杆端部外壁固定有坡面板,所述弹簧伸缩杆的活动杆端部设置有连接轴承,且弹簧伸缩杆的活动杆外壁套设有波纹套。
本发明提供了一种电镀生产用废水处理设备,具备以下有益效果:1.该电镀生产用废水处理设备,移动套沿往复丝杆表面升降,使得锥形管套、圆盘于分离转筒内部升降,由此毛刷条会贴于分离转筒内壁升降对其微孔加以清理,同时传动轴转动其表面的毛刷套还会贴于分离转筒外壁进行转动,由此毛刷套还会从外部方向对分离转筒表面的微孔加以清理,以增强微孔防堵塞效果,并且圆盘在升降时,废水被下锥体、锥形管套升降而推挤至圆盘边缘处,以便废水从间隙以及过水孔中加以流通,以防止废水因圆盘抬升而被带出分离转筒,同时方便废水更好的与分离转筒的内壁接触,由此使得废水快速接受离心力作用使得液体穿过微孔而与固体结晶分离。
2.该电镀生产用废水处理设备,往复丝杆转动时通过其内部的插接滑槽会带动凸边插接轴转动,使得凸边盘于中心腔内部转动,凸边盘转动过程中起凸边部位依次与不同位置的弹簧杆内端接触使其被推动,使得弹簧杆在自身弹性作用下而不断发生活塞伸缩运动,使得第一活动滚珠得以不断穿过毛刷条对分离转筒内壁加以撞击,由此使得分离转筒内表面上所留存的晶体收到震荡作用力而发生输送,以更方便被毛刷条所清理。
3.该电镀生产用废水处理设备,凸边插接轴在升降过程中沿插接滑槽内部加以滑动升降,由此实现凸边盘转动的同时配合圆盘同步升降,而凸边插接轴的凸出部位的两侧等距嵌入有第二活动滚珠,由此有利于将凸边插接轴与插接滑槽之间的滑动摩擦变为滚动摩擦,有利于降低摩擦力度,以防止凸边插接轴的升降发生卡顿。
4.该电镀生产用废水处理设备,坡面板表面呈螺旋上升的结构其最低处贴于分离转筒的内壁底部,在分离转筒转动的过程中坡面板对其底部沉积的废水加以向上推动,由此防止废水中的杂物发生沉积,以便废水更好的进行固液分离,且弹簧伸缩杆的活动杆外壁套设有波纹套,在活动杆部位因圆盘升降而伸缩时波纹套随之伸缩,以保护活动杆于外管表面的穿设部位不外露,以防止杂质卡入缝隙中影响活动杆的正常伸缩。
(发明人:钱振林)






