公布日:2024.01.23
申请日:2023.12.21
分类号:C02F1/02(2023.01)I;C02F1/00(2023.01)I;C02F1/40(2023.01)I
摘要
本发明公开了一种污水领域新型隔油除渣装置,包括隔油除渣装置、装配在隔油除渣装置两侧的进水口和出水口,所述隔油除渣装置的内部安装有隔板,所述隔油除渣装置靠近进水口的一侧插接有加热装置,且隔油除渣装置侧面位于加热装置下方的位置插接有排油管。本发明中,通过设置加热装置,从而利用加热装置对油污水进行加热,使其保持一个恒定的温度,避免油质凝结成块,因此漂浮在污水之上的油质会通过悬浮排油阀,软管和排油管的导向进入到收集桶内收集起来,同时在上部V型槽上开设滤孔,实现油、渣分离,无渣油质从下部V型槽进入到对应的收集桶内,过滤下来的含渣油质从上部V型槽进入到对应的收集桶内,有效的提升了装置的工作效率。

权利要求书
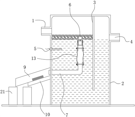
1.一种污水领域新型隔油除渣装置,包括隔油除渣装置(2)、装配在隔油除渣装置(2)两侧的进水口(1)和出水口(4),其特征在于,所述隔油除渣装置(2)的内部安装有隔板(3),所述隔油除渣装置(2)靠近进水口(1)的一侧插接有加热装置(5),且隔油除渣装置(2)侧面位于加热装置(5)下方的位置插接有排油管(7),所述排油管(7)的顶部连接有软管(13),所述软管(13)的顶部卡接有宝塔接头(12),所述宝塔接头(12)的顶部连接有连接筒(11),所述连接筒(11)的中部螺纹连接有悬浮体(14),所述悬浮体(14)的内部连接有悬浮排油阀(6),所述悬浮排油阀(6)的侧面连接有悬浮环(20),所述悬浮排油阀(6)的内部固定安装有支持柱(17),所述支持柱(17)的中部套接有调节环(16),所述调节环(16)上连接有调节螺钉(18),所述调节螺钉(18)的外侧设置有弹性膜片(19),所述隔油除渣装置(2)靠近排油管(7)一侧的下方固定安装有上部V型槽(9),所述上部V型槽(9)的下方放置有收集桶(21)。
2.根据权利要求1所述的一种污水领域新型隔油除渣装置,其特征在于,所述上部V型槽(9)上开设有滤孔(8),且隔油除渣装置(2)侧面位于上部V型槽(9)下方的位置固定安装有下部V型槽(10),所述下部V型槽(10)的下方也放置有收集桶(21),所述收集桶(21)的数量为对应上部V型槽(9)和下部V型槽(10)的两个。
3.根据权利要求1所述的一种污水领域新型隔油除渣装置,其特征在于,所述出水口(4)的水平位置低于进水口(1)的水平位置。
4.根据权利要求2所述的一种污水领域新型隔油除渣装置,其特征在于,所述下部V型槽(10)位于上部V型槽(9)上开设滤孔(8)位置的下方,所述下部V型槽(10)的长度小于上部V型槽(9)的长度,两个收集桶(21)并排放置。
5.根据权利要求1所述的一种污水领域新型隔油除渣装置,其特征在于,所述软管(13)与宝塔接头(12)的连接处设置有卡箍。
6.根据权利要求1所述的一种污水领域新型隔油除渣装置,其特征在于,所述连接筒(11)顶部的内侧设置有橡胶密封圈(15),所述橡胶密封圈(15)与悬浮排油阀(6)相抵持。
7.根据权利要求1所述的一种污水领域新型隔油除渣装置,其特征在于,所述弹性膜片(19)的顶部抵持在悬浮排油阀(6)内侧的凸起上。
8.根据权利要求1所述的一种污水领域新型隔油除渣装置,其特征在于,所述悬浮环(20)的浮力大于其上连接结构的重量,且悬浮环(20)位于油水分离界面上。
发明内容
本发明旨在解决现有技术或相关技术中存在的技术问题之一。
为此,本发明所采用的技术方案为:一种污水领域新型隔油除渣装置,包括隔油除渣装置、装配在隔油除渣装置两侧的进水口和出水口,所述隔油除渣装置的内部安装有隔板,所述隔油除渣装置靠近进水口的一侧插接有加热装置,且隔油除渣装置侧面位于加热装置下方的位置插接有排油管,所述排油管的顶部连接有软管,所述软管的顶部卡接有宝塔接头,所述宝塔接头的顶部连接有连接筒,所述连接筒的中部螺纹连接有悬浮体,所述悬浮体的内部连接有悬浮排油阀,所述悬浮排油阀的侧面连接有悬浮环,所述悬浮排油阀的内部固定安装有支持柱,所述支持柱的中部套接有调节环,所述调节环上连接有调节螺钉,所述调节螺钉的外侧设置有弹性膜片,所述隔油除渣装置靠近排油管一侧的下方固定安装有上部V型槽,所述上部V型槽的下方放置有收集桶。
优选的,所述上部V型槽上开设有滤孔,且隔油除渣装置侧面位于上部V型槽下方的位置固定安装有下部V型槽,所述下部V型槽的下方也放置有收集桶,所述收集桶的数量为对应上部V型槽和下部V型槽的两个。
优选的,所述出水口的水平位置低于进水口的水平位置。
优选的,所述下部V型槽位于上部V型槽上开设滤孔位置的下方,所述下部V型槽的长度小于上部V型槽的长度,两个收集桶并排放置。
优选的,所述软管与宝塔接头的连接处设置有卡箍。
优选的,所述连接筒顶部的内侧设置有橡胶密封圈,所述橡胶密封圈与悬浮排油阀相抵持。
优选的,所述弹性膜片的顶部抵持在悬浮排油阀内侧的凸起上。
优选的,所述悬浮环的浮力大于其上连接结构的重量,且悬浮环位于油水分离界面上。
通过采用上述技术方案,本发明所取得的有益效果为:1.本发明中,通过在隔油除渣装置的中部位置插接一个加热装置,从而利用加热装置对油污水进行加热,使其保持一个恒定的温度,避免油质凝结成块,因此漂浮在污水之上的油质会通过悬浮排油阀,软管和排油管的导向进入到收集桶内收集起来,同时在上部V型槽上开设滤孔,并其下方位置设置下部V型槽,使得上部V型槽和下部V型槽分别对应一个收集桶,实现油、渣分离,无渣油质从下部V型槽进入到对应的收集桶内,过滤下来的含渣油质从上部V型槽进入到对应的收集桶内,一步到位,无需多重工艺进行分离,有效的提升了装置的工作效率。
2.本发明中,为了保证污水的顺利排出,不会和油质混合,在隔油除渣装置的内部设置一个竖向的隔板,使得污水会从底部进入到隔板的另一侧,从出水口排出,而出水口的位置低于进水口的位置,因此污水会持续向外排放,避免污水堆积过多导致从进水口逆流,保证了装置的可靠。
(发明人:赖承辉;朱流标;吴焕波;陈永超)






