高效降解含抗生素污水的装置,包括污水过滤装置,污水过滤装置连通有臭氧发生器和稳定罐,稳定罐连通有臭氧去除罐,臭氧去除罐连通有厌氧发酵罐,所述污水过滤装置下部连通有污水入口管和淤泥出口管,淤泥出口管上安装有排淤阀。本实用新型结构简单,使用方便,通过设置臭氧去除罐,在污水中充入氮气,替换和带走在水分子间隙中的臭氧和氧气,避免了在微生物降解步骤对微生物的伤害,提高了抗生素的降解效率,此外通过特殊结构的过滤器有效去除了污水中的污泥。
背景技术
我国是抗生素的生产和使用大国,因此具有比较严重的抗生素污染,这导致了环境中各种病菌抗药性的增加。因此需要对含有抗生素的污水进行处理,现有的处理方法主要有微生物降解法、氧化法等,但是微生物降解法只适合对低浓度的抗生素污水进行降解,因为高浓度的抗生素对微生物有较大的毒害作用,而氧化法对抗生素的催化不完全,有较高的抗生素残留度。但是微生物降解法通常是使用厌氧菌分解发酵分解抗生素,而厌氧菌对于臭氧和氧气比较敏感,且臭氧有较强的杀菌作用,影响厌氧菌的活性。因此需要一种将两者结合以扩大抗生素清洁装置应用范围及清洁效率。
实用新型内容
为解决上述问题,本实用新型提供了一种高效降解含抗生素污水的装置,本实用新型结构简单,使用方便,通过设置臭氧去除罐,在污水中充入氮气,替换和带走在水分子间隙中的臭氧和氧气,避免了在微生物降解步骤对微生物的伤害,提高了抗生素的降解效率,此外通过特殊结构的过滤器有效去除了污水中的污泥。
为达到上述技术效果,本实用新型的技术方案是:
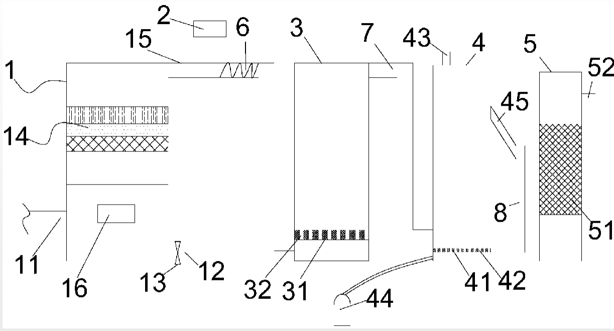
一种高效降解含抗生素污水的装置,包括污水过滤装置,污水过滤装置连通有臭氧发生器和稳定罐,稳定罐连通有臭氧去除罐,臭氧去除罐连通有厌氧发酵罐,所述污水过滤装置下部连通有污水入口管和淤泥出口管,淤泥出口管上安装有排淤阀;所述污水过滤装置内中部安装有过滤层,顶部连通有出水管;出水管沿水流方向依次连通臭氧发生器和文氏混合管,文氏混合管连通稳定罐底部;稳定罐顶部通过第一连通管连通臭氧去除罐底部;臭氧去除罐中部或下部安装有匀气板,匀气板上均匀分布有若干透气孔,臭氧去除罐顶部成形有出气口;臭氧去除罐内匀气板的下方连通有液氮气供应装置;臭氧去除罐上部连通有向下倾斜的倾斜管,倾斜管通过第二连通管连通厌氧发酵罐底部,厌氧发酵罐中部安装有蜂窝状填料层,厌氧发酵罐上部连通有出液管。
进一步的改进,所述稳定罐内下部固定有缓冲板,缓冲板上均匀分布有若干通孔。
进一步的改进,污水过滤装置下部安装有淤泥观察窗。
附图说明
图1为本实用新型的整体结构示意图。
具体实施方式
以下通过具体实施方式并且结合附图对本实用新型的技术方案作具体说明。
实施例1
如图1所示的一种高效降解含抗生素污水的装置,包括污水过滤装置1,污水过滤装置1连通有臭氧发生器2和稳定罐3,稳定罐3连通有臭氧去除罐4,臭氧去除罐4连通有厌氧发酵罐5,所述污水过滤装置1下部连通有污水入口管11和淤泥出口管12,淤泥出口管12上安装有排淤阀13;所述污水过滤装置1内中部安装有过滤层14,顶部连通有出水管15;出水管15沿水流方向依次连通臭氧发生器2和文氏混合管6,文氏混合管6连通稳定罐3底部;稳定罐3顶部通过第一连通管7连通臭氧去除罐4底部;臭氧去除罐4中部或下部安装有匀气板41,匀气板41上均匀分布有若干透气孔42,臭氧去除罐4顶部成形有出气口43;臭氧去除罐4内匀气板41的下方连通有液氮气供应装置44;臭氧去除罐4上部连通有向下倾斜的倾斜管45,倾斜管45通过第二连通管8连通厌氧发酵罐5底部,厌氧发酵罐5中部安装有蜂窝状填料层51,厌氧发酵罐5上部连通有出液管52。稳定罐3内下部固定有缓冲板31,缓冲板31上均匀分布有若干通孔32。污水过滤装置1下部安装有淤泥观察窗16。其中,过滤层14自下到上包括纱布层、陶瓷孔过滤层和活性炭吸附层。
本实用新型使用方法如下:污水经过污水过滤装置1过滤,其中的各种大颗粒杂质被过滤层14拦截,然后过滤后的污水被臭氧发生器2充入臭氧并且经过文氏混合管6将臭氧充分吸收混匀,然后在稳定罐3经过足够的反应时间(通常一到三小时),将抗生素进行初步的氧化降解,然后进入臭氧去除罐4,臭氧去除罐4内通过氮气供应装置44如氮气罐等充入氮气,并通过匀气板41均匀分散到臭氧去除罐4各处,将污水中的臭氧和氧气等分离并自出气口43溢出,然后进入厌氧发酵罐5经过其内附着各种厌氧微生物的蜂窝状填料层51被充分降解分解,从而保证流出的污水达到污水排放标准。
