申请日2016.05.04
公开(公告)日2016.09.21
IPC分类号C02F9/12
摘要
本实用新型公开了一种用于水处理的过滤装置,采用磁化池、电磁铁和晶体团排污口的结构构成了一个磁化系统,实现了使水磁化并且水垢污染物结晶的目的,当水流经电磁场时,水中的离子在电磁场的作用下,失去化学性、物理性和相互吸引的能力,逐渐形成晶体团沉入底部,从晶体团排污口排出,从而达到防垢的目的,采用保安过滤器、高压泵、高压水箱和反渗透膜的结构真正完成了对污水的过滤和净化,使磁化水在压力的作用下渗透过孔径只有0.0001微米的反渗透膜,病毒体无法通过并从第二排污口排出,整个装置设计合理新颖,高效且经济,还为企业节省了不少人力,较之传统的装置更好。
权利要求书
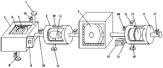
1.一种用于水处理的过滤装置,包括磁化池(1)、保安过滤器(2)、高压泵(3)和高压水箱(4),其特征在于:所述磁化池(1)的内壁底面上安装有电磁铁(5),所述电磁铁(5)的外围设有一层密封罩(6),所述磁化池(1)的上表面设有进水口(7),所述磁化池(1)的底部设有晶体团排污口(8),所述磁化池(1)的外壁一侧安装有控制器(9),所述磁化池(1)通过管道(10)连接保安过滤器(2),所述磁化池(1)和保安过滤器(2)之间的管道(10)贯穿保安过滤器(2)一侧的外壁并连接保安过滤器(2)内部的滤芯(11),所述滤芯(11)的底部通过管道(10)连接保安过滤器(2)下方的第一排污口(12),所述滤芯(11)的一侧通过管道(10)连接高压泵(3)的进口,所述高压泵(3)的出口通过管道(10)连接高压水箱(4),所述高压水箱(4)的内部设有反渗透膜(13),所述高压水箱(4)的内部设有水压计(14),所述水压计(14)贯穿高压水箱(4)的外壁并连接水压显示调节装置(15),所述高压水箱(4)的底部设有第二排污口(16),所述高压水箱(4)的另一侧设有净水出口(17),所述进水口(7)、晶体团排污口(8)、净水出口(17)、磁化池(1)与保安过滤器(2)之间的管道(10)上和保安过滤器(2)与高压泵(3)之间的管道(10)上均设有电磁阀(18),所述电磁铁(5)、高压泵(3)、水压显示调节装置(15)和电磁阀(18)均与控制器(9)电连接。
2.根据权利要求1所述的一种用于水处理的过滤装置,其特征在于:所述保安过滤器(2)的顶部设有顶盖(19),所述保安过滤器(2)内部的滤芯(11)通过旋转接头与管道(10)螺纹连接。
3.根据权利要求1所述的一种用于水处理的过滤装置,其特征在于:所述高压水箱(4)的顶部设有顶盖(19),所述高压水箱(4)内部设有固定槽,所述反渗透膜(13)上设有与固定槽匹配的卡扣。
4.根据权利要求1所述的一种用于水处理的过滤装置,其特征在于:所述滤芯(11)内部的孔径不小于5微米,所述反渗透膜(13)的渗透孔径不大于0.0001微米。
5.根据权利要求1所述的一种用于水处理的过滤装置,其特征在于:所述高压水箱(4)的一侧设有进气口(20),所述高压水箱(4)的上表面设有出气口(21)。
说明书
一种用于水处理的过滤装置
技术领域
本实用新型涉及水处理技术领域,具体为一种用于水处理的过滤装置。
背景技术
随着当今世界科技的飞速发展,污水的处理净化问题越来越被人们所关注,传统的水处理过滤装置仅仅通过沉降和化学反应等环节对废水进行处理但是沉降的收效甚微,而且水中的一些悬浮颗粒物仍然存在,只能通过过滤网来去除,但是传统的过滤网过滤孔径太大,过滤效果太差,除此以外,使用化学反应来处理水容易对水造成二次污染,经过化学反应后的水体含有大量化学物质,易对农作物和动物甚至人类造成伤害,为此,我们提出一种用于水处理的过滤装置。
实用新型内容
本实用新型的目的在于提供一种用于水处理的过滤装置,以解决上述背景技术中提出的问题。
为实现上述目的,本实用新型提供如下技术方案:一种用于水处理的过滤装置,包括磁化池、保安过滤器、高压泵和高压水箱,所述磁化池的内壁底面上安装有电磁铁,所述电磁铁的外围设有一层密封罩,所述磁化池的上表面设有进水口,所述磁化池的底部设有晶体团排污口,所述磁化池的外壁一侧安装有控制器,所述磁化池通过管道连接保安过滤器,所述磁化池和保安过滤器之间的管道贯穿保安过滤器一侧的外壁并连接保安过滤器内部的滤芯,所述滤芯的底部通过管道连接保安过滤器下方的第一排污口,所述滤芯的一侧通过管道连接高压泵的进口,所述高压泵的出口通过管道连接高压水箱,所述高压水箱的内部设有反渗透膜,所述高压水箱的内部设有水压计,所述水压计贯穿高压水箱的外壁并连接水压显示调节装置,所述高压水箱的底部设有第二排污口,所述高压水箱的另一侧设有净水出口,所述进水口、晶体团排污口、净水出口、磁化池与保安过滤器之间的管道上和保安过滤器与高压泵之间的管道上均设有电磁阀,所述电磁铁、高压泵、水压显示调节装置和电磁阀均与控制器电连接。
优选的,所述保安过滤器的顶部设有顶盖,所述保安过滤器内部的滤芯通过旋转接头与管道螺纹连接。
优选的,所述高压水箱的顶部设有顶盖,所述高压水箱内部设有固定槽,所述反渗透膜上设有与固定槽匹配的卡扣。
优选的,所述滤芯内部的孔径不小于5微米,所述反渗透膜的渗透孔径不大于0.0001微米。
优选的,所述高压水箱的一侧设有进气口,所述高压水箱的上表面设有出气口。
与现有技术相比,本实用新型的有益效果是:该用于水处理的过滤装置,采用磁化池、电磁铁和晶体团排污口的结构构成了一个磁化系统,实现了使水磁化并且水垢污染物结晶的目的,采用保安过滤器、高压泵、高压水箱和反渗透膜的结构实现了对磁化水中的细菌等病毒体的过滤,真正完成了对污水的过滤和净化,整个装置设计合理新颖,高效且经济,还为企业节省了不少人力,较之传统的装置更好。



