申请日2015.07.22
公开(公告)日2015.12.16
IPC分类号C02F1/22
摘要
本实用新型公开了一种用于处理高盐废水的低温冷冻升华设备,包括一低温冷冻单元、一原料容器、一原料预冷处理单元、一制冷/热单元以及一水蒸气冷凝单元。原料预冷处理单元对抽送至低温冷冻单元内的高盐废水进行预冷处理,制冷/热单元将相应的冷源及热源输送至温冷冻单元及水蒸气冷凝单元上,使得低温冷冻单元内结冰的高盐废水升华成水蒸气,同时实现水与盐份分离,以及使输送至水蒸气冷凝单元内的水蒸气冷凝成液态水。采用本实用新型技术方案,具有工艺简单、高效且成本低的特点。
权利要求书
1.一种处理高盐废水低温冷冻升华设备,其特征在于包括:
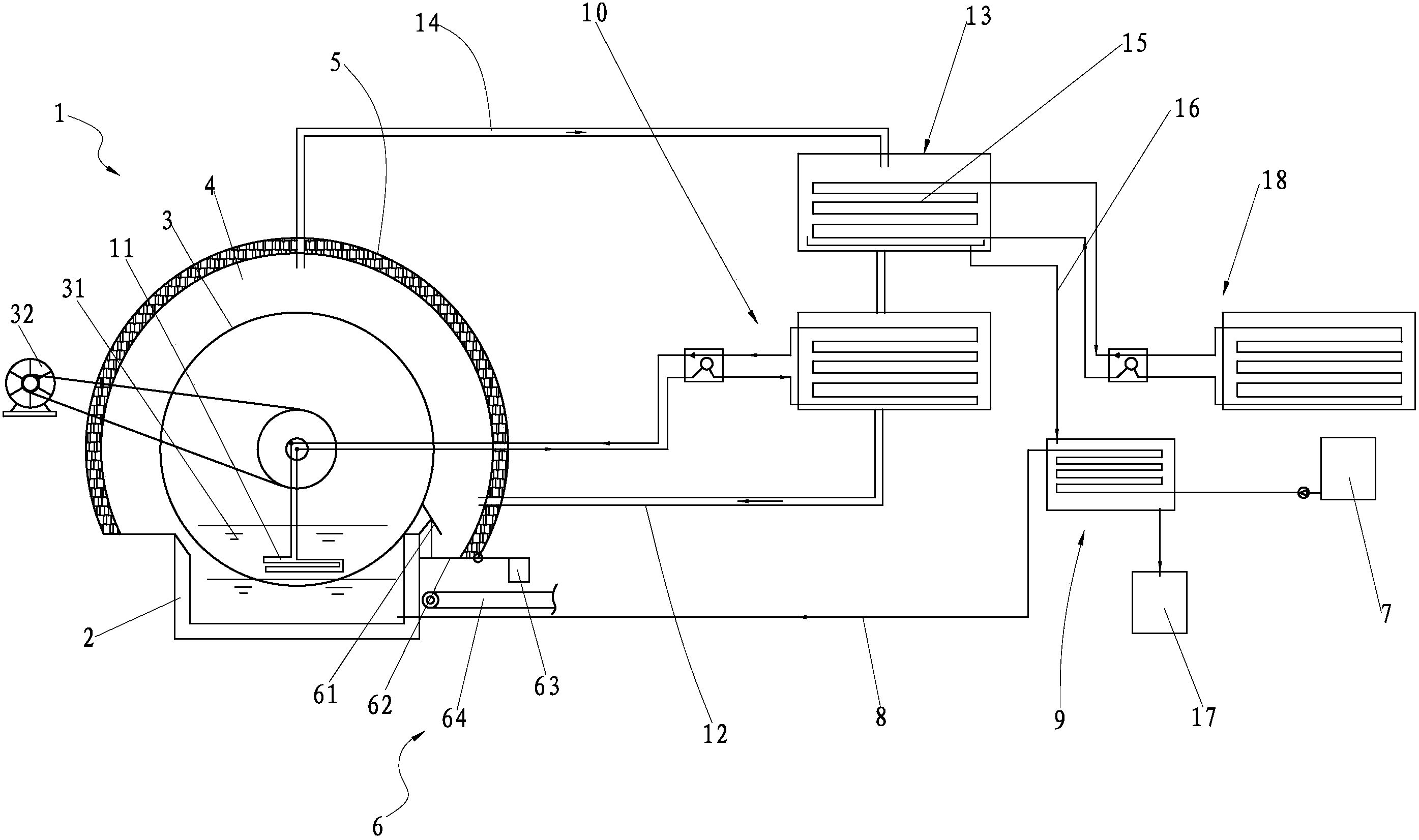
一低温冷冻单元(1),所述低温冷冻单元(1)包括用于盛装高 盐废水的低温冷冻槽(2),所述低温冷冻槽(2)上方转动设有底部 浸在高盐废水中的低温转轮(3),所述低温转轮(3)内设有低温冷 冻液(31),所述低温冷冻槽(2)侧设有用于驱动低温转轮(3)转 动的低温转轮驱动电机(32),所述低温冷冻槽(2)上方还设有用于 将低温转轮(3)密封罩住以形成一真空升华腔室(4)的罩壳(5), 所述罩壳(5)侧设有抵接于低温转轮(3)的用于将残留在低温转轮 (3)表面上的盐份刮除收集的盐份收集机构(6);
一原料容器(7),用于盛装及向低温冷冻槽(2)供给要处理的 高盐废水,所述原料容器(7)与低温冷冻槽(2)之间连接有用于将 原料容器(7)内的高盐废水抽送至低温冷冻槽(2)上的原料供给管 道(8);
一原料预冷处理单元(9),用于将抽送至低温冷冻槽(2)上的 高盐废水进行预冷却处理,所述原料预冷处理单元(9)设于原料容 器(7)与低温冷冻槽(2)之间且通过原料供给管道(8)分别与原 料容器(7)及低温冷冻槽(2)连接;
一制冷/热单元(10),所述制冷/热单元(10)与低温冷冻单元 (1)之间连接有用于伸入低温转轮(3)内且浸没于低温冷冻液(31) 以降低低温转轮(3)温度的第一制冷盘管(11)和用于伸入真空升 华腔室(4)内以提高真空升华腔室(4)内温度的热干空气管道(12); 以及
一水蒸气冷凝单元(13),所述水蒸气冷凝单元(13)与低温冷 冻单元(1)之间连接有伸入真空升华腔室(4)内以将升华的水蒸气 抽送至水蒸气冷凝单元(13)的水蒸气输送管道(14),所述制冷/ 热单元(10)与水蒸气冷凝单元(13)之间还连接有第二制冷盘管(15) (15)以将水蒸气冷凝单元(13)内的水蒸气冷凝成液体。
2.按权利要求1所述一种处理高盐废水低温冷冻升华设备,其 特征在于所述水蒸气冷凝单元(13)与原料预冷处理单元(9)直接 连接有冷凝水管道(16),所述原料预冷处理单元(9)还连接有用于 收集冷凝水的清水槽(17)。
3.按权利要求1所述一种处理高盐废水低温冷冻升华设备,其 特征在于所述水蒸气冷凝单元(13)还连接普通制冷散热器(18)。
4.按权利要求2所述一种处理高盐废水低温冷冻升华设备,其 特征在于所述水蒸气冷凝单元(13)还连接有普通制冷散热器(18)。
5.按权利要求1至4任一项所述一种处理高盐废水低温冷冻升 华设备,其特征在于所述盐份收集机构(6)包括倾斜设置的刮板(61), 所述刮板(61)上端抵接于低温转轮(3)表面且当低温转轮(3)转 动时以刮除低温转轮(3)上残留的盐份,所述刮板(61)下端下方 设有用于收集沿着刮板(61)滑落的盐份的收集板(62),所述收集 板(62)中部与罩壳(5)铰接,所述收集板(62)朝向外侧一端设 有平衡锤(63),所述收集板(62)朝向内侧一端下方设有用于输送 盐份的传送带(64)。
6.按权利要求1所述一种处理高盐废水低温冷冻升华设备,其 特征在于所述水蒸气输送管道(14)从罩壳(5)顶部伸入真空升华 腔室(4)内。
7.按权利要求1所述一种处理高盐废水低温冷冻升华设备,其 特征在于所述制冷/热单元(10)为低温制冷机。
说明书
一种处理高盐废水低温冷冻升华设备
【技术领域】
本实用新型涉及国产农村野外A片性视频,尤其是一种处理高盐废水低温冷 冻升华设备。
【背景技术】
现有技术中,为了将高盐废水中的盐份与水进行分离,采用的方 法多样,包括有化学沉淀过滤法、多级闪蒸法,以及过滤反渗透法, 然而采用上述方法进行分离,其工艺复杂,成本高,不利于污水处理 企业的发展。
本实用新型即针对现有技术的不足研究而提出。
【实用新型内容】
本实用新型要解决的技术问题是提供一种处理高盐废水低温冷 冻升华设备,利用升华原理,通过低温冷冻单元直接将高盐废水从固 态冰升华为水蒸气,进而到达将高盐废水中的盐份与水分离,具有分 离效率高、工艺步骤简单及成本低的特点。
为解决上述技术问题,本实用新型一种处理高盐废水低温冷冻升 华设备,包括:
一低温冷冻单元,所述低温冷冻单元包括用于盛装高盐废水的低 温冷冻槽,所述低温冷冻槽上方转动设有底部浸在高盐废水中的低温 转轮,所述低温转轮内设有低温冷冻液,所述低温冷冻槽侧设有用于 驱动低温转轮转动的低温转轮驱动电机,所述低温冷冻槽上方还设有 用于将低温转轮密封罩住以形成一真空升华腔室的罩壳,所述罩壳侧 设有抵接于低温转轮的用于将残留在低温转轮表面上的盐份刮除收 集的盐份收集机构;
一原料容器,用于盛装及向低温冷冻槽供给要处理的高盐废水, 所述原料容器与低温冷冻槽之间连接有用于将原料容器内的高盐废 水抽送至低温冷冻槽上的原料供给管道;
一原料预冷处理单元,用于将抽送至低温冷冻槽上的高盐废水进 行预冷却处理,所述原料预冷处理单元设于原料容器与低温冷冻槽之 间且通过原料供给管道分别与原料容器及低温冷冻槽连接;
一制冷/热单元,所述制冷/热单元与低温冷冻单元之间连接有用 于伸入低温转轮内且浸没于低温冷冻液以降低低温转轮温度的第一 制冷盘管和用于伸入真空升华腔室内以提高真空升华腔室内温度的 热干空气管道;以及
一水蒸气冷凝单元,所述水蒸气冷凝单元与低温冷冻单元之间连 接有伸入真空升华腔室内以将升华的水蒸气抽送至水蒸气冷凝单元 的水蒸气输送管道,所述制冷/热单元与水蒸气冷凝单元之间还连接 有第二制冷盘管以将水蒸气冷凝单元内的水蒸气冷凝成液体。
所述水蒸气冷凝单元与原料预冷处理单元直接连接有冷凝水管 道,所述原料预冷处理单元还连接有用于收集冷凝水的清水槽。
所述水蒸气冷凝单元还连接有普通制冷散热器。
所述盐份收集机构包括倾斜设置的刮板,所述刮板上端抵接于低 温转轮表面且当低温转轮转动时以刮除低温转轮上残留的盐份,所述 刮板下端下方设有用于收集沿着刮板滑落的盐份的收集板,所述收集 板中部与罩壳铰接,所述收集板朝向外侧一端设有平衡锤,所述收集 板朝向内侧一端下方设有用于输送盐份的传送带。
所述水蒸气输送管道从罩壳顶部伸入真空升华腔室内。
所述制冷/热单元为低温制冷机。
与现有技术相比,本实用新型具有如下优点:
1、低温转轮底部浸在高盐废水中,低温转轮内设有低温冷冻液, 低温转轮外表面转动脱离低温转动槽后,蘸在低温转轮上的高盐废水 则结为固态冰,在真空升华腔室内,固态冰的水份随低温转轮转动过 程中升华为水蒸气,并将盐份残留在低温转轮上,当低温转轮转动到 另一侧时,盐份收集机构则将残留在低温转轮上的盐份刮除,具有效 率高、工艺简单及成本低的特点。
2、高盐废水先经过原料预冷处理单元进行预冷处理,且原料预 冷处理单元中的冷源来自于水蒸气冷凝单元,循环使用,具有节能特 点。






