申请日2015.08.20
公开(公告)日2015.12.30
IPC分类号C02F1/62; C02F1/28
摘要
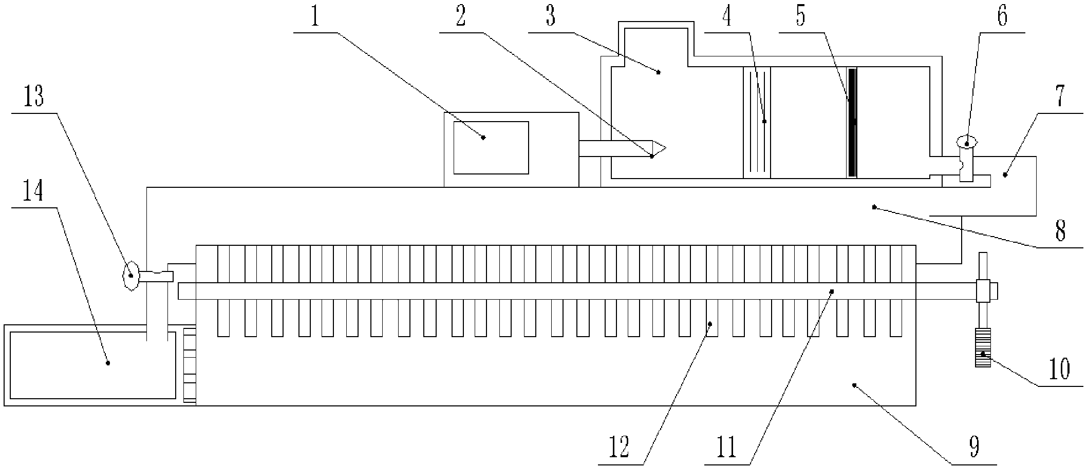
本实用新型公开了一种从污水中提取重金属的装置,包括检测显示屏、重金属检测装置、输入箱,所述检测显示屏输入端连接着重金属检测装置输出端,所述重金属检测装置设置在输入箱内部,所述输入箱内部安装着粗过滤层,所述粗过滤层右边设置有细过滤层,所述输入箱输出口连接着输入阀门,所述输入阀门右端连接着输送管道输入端,所述输送管道输出端连接着吸附箱输入端,所述吸附箱(8)下方连接着活性炭箱。本实用新型通过重金属检测装置检测污水的重金属含量,并用活性炭有效的吸附污水中的重金属,净化过程没有有害物的输出,既环保、成本低又效率高。
权利要求书
1.一种从污水中提取重金属的装置,包括检测显示屏(1)、重金属检测装 置(2)、输入箱(3),其特征在于:所述检测显示屏(1)输入端连接着重金属检 测装置(2)输出端,所述重金属检测装置(2)设置在输入箱(3)内部,所述输入 箱(3)内部安装着粗过滤层(4),所述粗过滤层(4)右边设置有细过滤层(5), 所述输入箱(3)输出口连接着输入阀门(6),所述输入阀门(6)右端连接着输 送管道(7)输入端,所述输送管道(7)输出端连接着吸附箱(8)输入端,所 述吸附箱(8)下方连接着活性炭箱(9)。
2.根据权利要求1所述的一种从污水中提取重金属的装置,其特征在于: 所述活性炭箱(9)内安装着切换活性炭杆(11),所述切换活性炭杆(11)右 端安装切换活性炭把手(10)。
3.根据权利要求2所述的一种从污水中提取重金属的装置,其特征在于: 所述切换活性炭杆(11)上安装了活性炭(12),所述吸附箱(8)输入端设置 有输出阀门(13)。
4.根据权利要求3所述的一种从污水中提取重金属的装置,其特征在于: 所述输出阀门(13)输入端连接着回收水箱(14)输入端,所述回收水箱(14) 放置在活性炭箱(9)的左侧。
说明书
一种从污水中提取重金属的装置
技术领域
本实用新型涉及一种提取重金属的装置,具体涉及一种从污水中提取重金 属的装置,属于提取重金属领域。
背景技术
矿冶、机械制造、化工、电子、仪表等工业中的许多生产过程中都产生重 金属废水,这些废水严重影响着儿童和成人的身体健康乃至生命,若人体吸取 了过多的重金属会危及生命,所以这些污水需要重金属的提取及净化。现在从 污水中提取的重金属的方法有很多,如化学沉淀法、电解法、溶剂萃取分离、 生物处理法等。这些方法有很高的净化效率,但是有很多缺点,比如化学沉淀 法往往出水浓度达不到要求,需作进一步处理,否则会造成二次污染。电解法 不适用于处理较低浓度的含重金属离子的废水,不适合广泛使用。因为这些种 种的不足,以至于无法满足现在工厂的要求,需要投资重金来处理重金属的净 化问题,这样既成本变得非常高并且效果也变得很差。
针对上述不足,需要设计和开发一种从污水中提取重金属的装置,效率高, 能够更方便、更实用。
实用新型内容
为了解决上述存在的问题,本实用新型提供一种从污水中提取重金属的装 置。不仅效率高而且使用起来也非常实用。
本发明的目的是通过以下技术手段实现的:
一种从污水中提取重金属的装置,包括检测显示屏、重金属检测装置、输 入箱,所述检测显示屏输入端连接着重金属检测装置输出端,所述重金属检测 装置设置在输入箱内部,所述输入箱内部安装着粗过滤层,所述粗过滤层右边 设置有细过滤层,所述输入箱输出口连接着输入阀门,所述输入阀门右端连接 着输送管道输入端,所述输送管道输出端连接着吸附箱输入端,所述吸附箱(8) 下方连接着活性炭箱。
作为本实用新型的进一步优化方案,所述活性炭箱内安装着切换活性炭杆, 所述切换活性炭杆右端安装切换活性炭把手。
作为本实用新型的进一步优化方案,所述切换活性炭杆上安装了活性炭, 所述吸附箱输入端设置有输出阀门。
作为本实用新型的进一步优化方案,所述输出阀门输入端连接着回收水箱 输入端,所述回收水箱放置在活性炭箱的左侧。
与现有的技术相比,本实用新型的有益效果是:本实用新型通过重金属检 测装置检测污水的重金属含量,并用活性炭有效的吸附污水中的重金属,净化 过程没有有害物的输出,既环保、成本低又效率高。







