申请日2014.10.16
公开(公告)日2015.01.28
IPC分类号C10L5/46
摘要
本实用新型涉及污泥处理技术领域,具体为一种燃料污泥制备装置,其结构简单,使用成本低,能够有效提高污泥焚烧炉的热效率;其包括污泥干燥机,污泥干燥机开有进料口、出料口,污泥干燥机的进料口处设置污泥上料装置,污泥干燥机的出料口处设置污泥出料装置,其特征在于,污泥出料装置的出料端处设置振动筛分机,振动筛分机的落料板出料处设置燃料污泥输送装置。
权利要求书
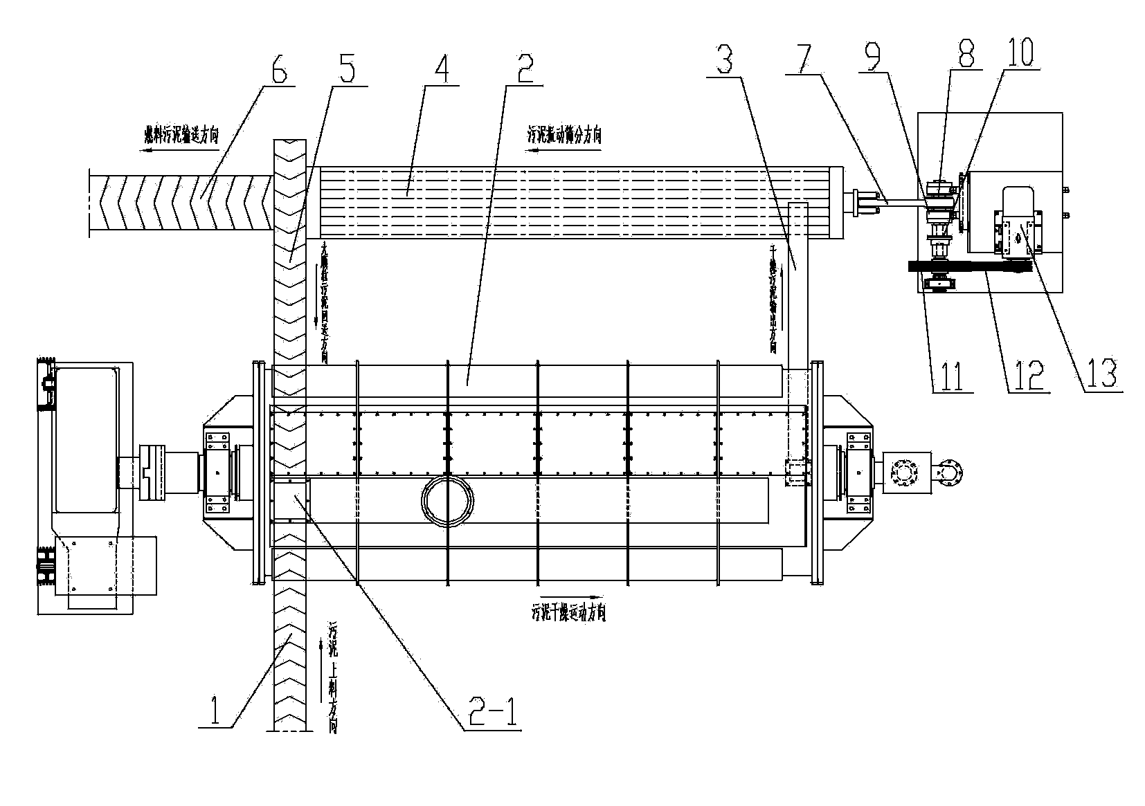
1.一种燃料污泥制备装置,其包括污泥干燥机,所述污泥干燥机开有进料口、出料口,所述污泥干燥机的进料口处设置污泥上料装置,所述污泥干燥机的出料口处设置污泥出料装置,其特征在于,所述污泥出料装置的出料端处设置振动筛分机,所述振动筛分机的落料板出料处设置燃料污泥输送装置。
2.根据权利要求1所述的一种燃料污泥制备装置,其特征在于,所述振动筛分机的筛网层末端出料处设置污泥回收装置,所述污泥回收装置的出料端设置于所述污泥干燥机的进料口处。
3.根据权利要求1所述的一种燃料污泥制备装置,其特征在于,所述污泥上料装置、燃料污泥输送装置、污泥回收装置均为皮带输送机。
4.根据权利要求1所述的一种燃料污泥制备装置,其特征在于,所述污泥出料装置为螺旋输送机,所述螺旋输送机的进料端固定连接所述污泥干燥机的出料口、出料端设置于所述振动筛分机上方。
5.根据权利要求1所述的一种燃料污泥制备装置,其特征在于,所述污泥干燥机的进料口设置于所述污泥干燥机一侧上端,所述污泥干燥机的出料口设置于所述污泥干燥机另一侧下端。
6.根据权利要求1所述的一种燃料污泥制备装置,其特征在于,所述振动筛分机一端通过连杆连接偏心轴,所述偏心轴安装于轴承座,所述偏心轴一端通过联轴器连接驱动轮,所述驱动轮通过皮带连接电机。
说明书
燃料污泥制备装置
技术领域
本实用新型涉及污泥处理技术领域,具体为一种燃料污泥制备装置。
背景技术
城市污泥的处理方法主要由填埋、用于农作肥和焚烧。污泥焚烧处理具有其他处理方法所不具备的一些优点:污泥焚烧容量大,有机物热分解彻底。
污泥焚烧处理方法中,脱水污泥直接焚烧系统简单,设备初投资少,但一般需要消耗辅助燃料;而污泥干化焚烧增加了污泥干化系统,初投资增加,但可以有效回收污泥焚烧产生的热量,降低运行成本。如果污泥的热值可以维持甚至大于系统的热平衡要求,锅炉运行过程中不需要添加辅助燃料,甚或还有多余的热量输出。因此,随着污泥干化焚烧技术的不断发展,此技术已成为污泥处理的主要方式。
目前的污泥脱水主流技术为板框式机械液压脱水,污泥脱水后呈厚度为2cm左右的大块不规则饼状结构,这些污泥块首先要进入污泥破碎机进行破碎,将大块结构破碎为边长3~5cm左右的小颗粒结构,然后经皮带输送机送入污泥干燥机进行干燥。干燥后的污泥经斗式提升机或皮带机送入污泥焚烧炉炉前料仓,并经料仓底部的螺旋输送机送入污泥焚烧炉进行焚烧处理,焚烧后产生的热量经导热油或蒸汽反送入污泥干燥机作为后续污泥的干燥热源。需要耗费大量电能,使用成本高,且较大颗粒污泥进入焚烧炉后由于流化不好而容易引起床料结焦阻塞出渣口,灰渣含碳量高使焚烧效率偏低,降低了焚烧炉的热效率。
发明内容
为了解决上述问题,本实用新型提供了一种燃料污泥制备装置,其结构简单,使用成本低,能够有效提高污泥焚烧炉的热效率。
其技术方案是这样的:一种燃料污泥制备装置,其包括污泥干燥机,所述污泥干燥机开有进料口、出料口,所述污泥干燥机的进料口处设置污泥上料装置,所述污泥干燥机的出料口处设置污泥出料装置,其特征在于,所述污泥出料装置的出料端处设置振动筛分机,所述振动筛分机的落料板出料处设置燃料污泥输送装置。
其进一步特征在于,所述振动筛分机的筛网层末端出料处设置污泥回收装置,所述污泥回收装置的出料端设置于所述污泥干燥机的进料口处;
所述污泥上料装置、燃料污泥输送装置、污泥回收装置均为皮带输送机;
所述污泥出料装置为螺旋输送机,所述螺旋输送机的进料端固定连接所述污泥干燥机的出料口、出料端设置于所述振动筛分机上方;
所述污泥干燥机的进料口设置于所述污泥干燥机一侧上端,所述污泥干燥机的出料口设置于所述污泥干燥机另一侧下端;
所述振动筛分机一端通过连杆连接偏心轴,所述偏心轴安装于轴承座,所述偏心轴一端通过联轴器连接驱动轮,所述驱动轮通过皮带连接电机。
采用本实用新型的装置后,取消了脱水污泥破碎这个环节,由于污泥破碎机为机电式破碎系统,破碎机构由大功率电机带动,工作时需要消耗大量的电能,取消此环节后可以节约大量的能源,相对应地,脱水污泥进入污泥干燥机后,受到污泥干燥机内盘片的热传导作用后水份开始析出,大块污泥饼自然碎裂为小颗粒污泥,污泥干燥机用电功率并没有太大的增加;另外增加了振动筛分机,该机构为一小电机带动的振动输送机构,与污泥破碎机相比,设备初始投资金额可以大大减小,污泥经振动筛分机的分离后,进入污泥焚烧炉的污泥颗粒度较均匀,减少了较大颗粒污泥进入焚烧炉后由于流化不好引起的床料结焦堵塞出渣口、以及灰渣含碳量升高引起的焚烧炉效率偏低的现象,提高了污泥焚烧炉的热效率,同时也提高了污泥焚烧炉的可靠性。







