申请日2014.10.16
公开(公告)日2015.04.08
IPC分类号B01D29/56; B01D29/68; B01D29/64; B01D29/03
摘要
本实用新型属于环保设备领域,尤其涉及一种高效清洗的国产农村野外A片性视频,其特征在于:所述平刮板与伸缩杆的下端相连,所述平刮板位于一级过滤网、二级过滤网之间,所述旋转刮板的一端与平刮板的中轴相连,所述固定架上安装有挂钩,所述第一喷头旋转架的一端、第二喷头旋转架的一端分别与所述固定架通过转轴相连,所述第一喷头旋转架的另一端、第二喷头旋转架的另一端分别挂设于所述挂钩上,所述第一喷头与所述第一进水软管相连,所述第一喷头固定于所述第一喷头旋转架上,所述第一喷头朝向所述一级过滤网设置,所述第二喷头与所述第二进水软管相连,所述第二喷头固定于所述第二喷头旋转架上,所述第二喷头朝向所述二级过滤网设置。
权利要求书
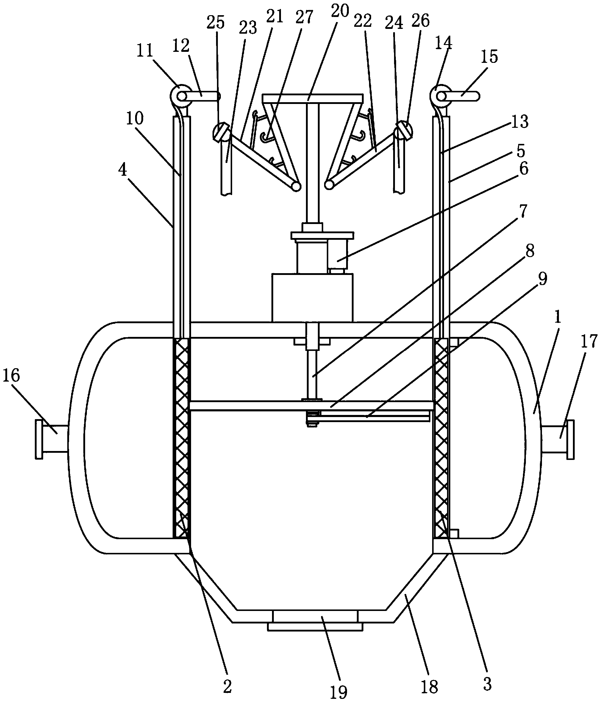
1.一种高效清洗的国产农村野外A片性视频,其特征在于:包括罐体、一级过滤网、二级过滤网、一级过滤网滑道、二级过滤网滑道、伸缩杆电机、伸缩杆、平刮板、旋转刮板、一级过滤网拉绳、一级过滤网拉绳转轴、一级旋转把手、二级过滤网拉绳、二级过滤网拉绳转轴、二级旋转把手、固定架、第一喷头旋转架、第二喷头旋转架、第一进水软管、第二进水软管、第一喷头、第二喷头,所述罐体的一端安装有进水口,所述罐体的另一端安装有出水口,所述罐体的底部设置有梯形槽,所述梯形槽的底部安装有梯形槽盖,所述一级过滤网滑道的下端安装于所述罐体的内部,所述一级过滤网滑道的上端穿出所述罐体设置于所述罐体的上方,所述一级过滤网安装于所述一级过滤网滑道上并且其靠近所述进水口设置,所述二级过滤网滑道的下端安装于所述罐体的内部,所述二级过滤网滑道的上端穿出所述罐体设置于所述罐体的上方,所述二级过滤网安装于所述二级过滤网滑道上并且其靠近所述出水口设置,所述二级过滤网、一级过滤网分列于所述梯形槽的两侧,所述一级过滤网拉绳转轴安装于所述一级过滤网滑道的上方,所述一级过滤网拉绳的一端与所述一级过滤网相连并且其另一端缠绕于所述一级过滤网拉绳转轴上,所述一级旋转把手与所述一级过滤网拉绳转轴的中轴相连,所述二级过滤网拉绳转轴安装于所述二级过滤网滑道的上方,所述二级过滤网拉绳的一端与所述二级过滤网相连并且其另一端缠绕于所述二级过滤网拉绳转轴上,所述二级旋转把手与所述二级过滤网拉绳转轴的中轴相连,所述伸缩杆的上端安装于所述罐体的上部并且其下端穿设于所述罐体内,所述伸缩杆电机位于所述罐体的外部并且其与所述伸缩杆相连,所述平刮板位于所述罐体的内部并且其与所述伸缩杆的下端相连,所述平刮板位于所述一级过滤网、二级过滤网之间,所述旋转刮板位于所述平刮板的下端并且旋转刮板的一端与所述平刮板的中轴相连,所述固定架安装于所述罐体的上方,所述固定架上安装有挂钩,所述第一喷头旋转架的一端、第二喷头旋转架的一端分别与所述固定架通过转轴相连,所述第一喷头旋转架的另一端、第二喷头旋转架的另一端分别挂设于所述挂钩上,所述第一喷头与所述第一进水软管相连,所述第一喷头固定于所述第一喷头旋转架上,所述第一喷头朝向所述一级过滤网设置,所述第二喷头与所述第二进水软管相连,所述第二喷头固定于所述第二喷头旋转架上,所述第二喷头朝向所述二级过滤网设置。
2.根据权利要求1所述的一种高效清洗的国产农村野外A片性视频,其特征在于:所述二级过滤网的网眼直径小于所述一级过滤网的网眼直径。
3.根据权利要求1所述的一种高效清洗的国产农村野外A片性视频,其特征在于:所述旋转刮板的长度为平刮板长度的一半。
说明书
一种高效清洗的国产农村野外A片性视频
技术领域
本实用新型属于环保设备领域,尤其涉及一种高效清洗的国产农村野外A片性视频。
背景技术
随着水污染情况的不断加剧,使得污水处理和再生行业受到空前的关注。国产农村野外A片性视频能有效处理城区的生活污水、工业废水等,避免污水及污染物直接流入水域,对改善生态环境、提升城市品位和促进经济发展具有重要意义。污水再利用有几个技术难点需要克服:堵塞、腐蚀、换热效率。为了克服堵塞难题,市面上出现了各种各样的国产农村野外A片性视频,但是这些处理设备的内部清洗很不方便,清洗效率低。
发明内容
本实用新型针对上述技术问题,提供了一种清洗方便、高效清洗的国产农村野外A片性视频。
为了解决上述技术问题,本实用新型提供了一种高效清洗的国产农村野外A片性视频,其特征在于:包括罐体、一级过滤网、二级过滤网、一级过滤网滑道、二级过滤网滑道、伸缩杆电机、伸缩杆、平刮板、旋转刮板、一级过滤网拉绳、一级过滤网拉绳转轴、一级旋转把手、二级过滤网拉绳、二级过滤网拉绳转轴、二级旋转把手、固定架、第一喷头旋转架、第二喷头旋转架、第一进水软管、第二进水软管、第一喷头、第二喷头,所述罐体的一端安装有进水口,所述罐体的另一端安装有出水口,所述罐体的底部设置有梯形槽,所述梯形槽的底部安装有梯形槽盖,所述一级过滤网滑道的下端安装于所述罐体的内部,所述一级过滤网滑道的上端穿出所述罐体设置于所述罐体的上方,所述一级过滤网安装于所述一级过滤网滑道上并且其靠近所述进水口设置,所述二级过滤网滑道的下端安装于所述罐体的内部,所述二级过滤网滑道的上端穿出所述罐体设置于所述罐体的上方,所述二级过滤网安装于所述二级过滤网滑道上并且其靠近所述出水口设置,所述二级过滤网、一级过滤网分列于所述梯形槽的两侧,所述一级过滤网拉绳转轴安装于所述一级过滤网滑道的上方,所述一级过滤网拉绳的一端与所述一级过滤网相连并且其另一端缠绕于所述一级过滤网拉绳转轴上,所述一级旋转把手与所述一级过滤网拉绳转轴的中轴相连,所述二级过滤网拉绳转轴安装于所述二级过滤网滑道的上方,所述二级过滤网拉绳的一端与所述二级过滤网相连并且其另一端缠绕于所述二级过滤网拉绳转轴上,所述二级旋转把手与所述二级过滤网拉绳转轴的中轴相连,所述伸缩杆的上端安装于所述罐体的上部并且其下端穿设于所述罐体内,所述伸缩杆电机位于所述罐体的外部并且其与所述伸缩杆相连,所述平刮板位于所述罐体的内部并且其与所述伸缩杆的下端相连,所述平刮板位于所述一级过滤网、二级过滤网之间,所述旋转刮板位于所述平刮板的下端并且旋转刮板的一端与所述平刮板的中轴相连,所述固定架安装于所述罐体的上方,所述固定架上安装有挂钩,所述第一喷头旋转架的一端、第二喷头旋转架的一端分别与所述固定架通过转轴相连,所述第一喷头旋转架的另一端、第二喷头旋转架的另一端分别挂设于所述挂钩上,所述第一喷头与所述第一进水软管相连,所述第一喷头固定于所述第一喷头旋转架上,所述第一喷头朝向所述一级过滤网设置,所述第二喷头与所述第二进水软管相连,所述第二喷头固定于所述第二喷头旋转架上,所述第二喷头朝向所述二级过滤网设置。
所述二级过滤网的网眼直径小于所述一级过滤网的网眼直径。
所述旋转刮板的长度为平刮板长度的一半。
本实用新型的有益效果为:
1、通过变换第一喷头旋转架、第二喷头旋转架悬挂的挂钩,从而变换第一喷头、第二喷头的高度和喷射角度,一级过滤网、二级过滤网的清洗非常方便、清洗效率高;
2、第一喷头与第一进水软管相连,第二喷头与第二进水软管相连,第一喷头、第二喷头转动方便;
3、梯形槽用于承载污物,当梯形槽内污物较多时,打开梯形槽盖进行清理,清理方便;
4、一级过滤网、二级过滤网用于拦截悬浮污物,减轻污物阻塞现象,结构比较简单、生产成本比较低;
5、通过旋转一级旋转把手带动一级过滤网拉绳转轴转动,一级过滤网拉绳缠绕于一级过滤网拉绳转轴上,一级过滤网拉绳为一级过滤网提供上升牵引力,通过旋转二级旋转把手带动二级过滤网拉绳转轴转动,二级过滤网拉绳缠绕于二级过滤网拉绳转轴上,二级过滤网拉绳为二级过滤网提供上升牵引力,一级过滤网、二级过滤网的分别沿一级过滤网滑道、二级过滤网滑道上下移动,移入、移出罐体非常方便;
6、通过伸缩杆电机调控伸缩杆进行伸缩,伸缩杆带动平刮板上下移动,平刮板在下移动过程中将一级过滤网、二级过滤网拦截的污物刮入梯形槽中,一级过滤网、二级过滤网不易阻塞;
7、旋转刮板在旋转过程中将平刮板底部附着的污物刮除,保持平刮板洁净;
8、二级过滤网的网眼直径小于一级过滤网的网眼直径,污物拦截效果好;
9、旋转刮板的长度为平刮板长度的一半,降低生产成本。







