申请日2013.08.19
公开(公告)日2013.12.04
IPC分类号C02F9/14
摘要
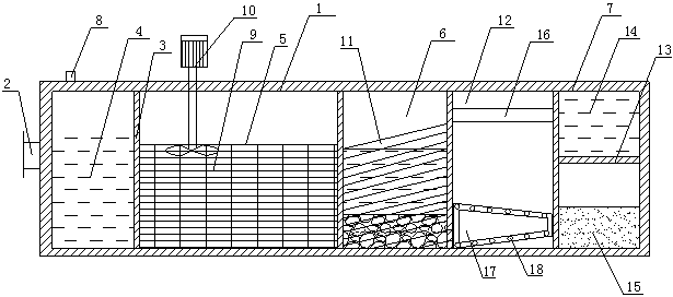
本发明公开了高效污水处理箱,包括箱体,箱体一端开有污水进口,箱体内设有多块隔板,每块隔板将箱体依次分隔成酸化池、氧化池、沉淀池和净化室,酸化池顶部开有氧气进管,氧化池底部设有填料,氧化池顶部设有曝气机,沉淀池内设有多根斜管,多根斜管从上到下依次叠加,沉淀池和净化室之间增加烘干室,净化室通过挡板分隔成消毒区和污泥区,消毒区通过管道与沉淀池上部连接,污泥区与烘干室连通。箱体依次分隔成酸化池、氧化池、沉淀池、烘干室和净化室,酸化能将难生物降解的有机物转变为易生物降解的有机物,随后进入氧化池进行净化处理,最后沉淀分类,污水中的污泥进行烘干用于其它工业上,水层进行下一步的消毒,水质更干净。
权利要求书
1.高效污水处理箱,包括箱体,所述箱体一端开有污水进口,其特征在于:所述箱体内设有多块隔板,每块隔板将箱体依次分隔成酸化池、氧化池、沉淀池和净化室,所述酸化池顶部开有氧气进管,所述氧化池底部设有填料,所述氧化池顶部设有曝气机,所述沉淀池内设有多根斜管,多根斜管从上到下依次叠加,所述沉淀池和净化室之间增加烘干室,所述净化室通过挡板分隔成消毒区和污泥区,所述消毒区通过管道与沉淀池上部连接,所述污泥区与烘干室连通。
2.根据权利要求1所述的高效污水处理箱,其特征在于:所述填料采用炉渣或玻璃钢。
3.根据权利要求1所述的高效污水处理箱,其特征在于:所述烘干室具有烘干管道,所述烘干管道内设有多根加热管,所述污泥区与烘干室通过烘干管道连通。
4.根据权利要求1所述的高效污水处理箱,其特征在于:所述烘干管道的形状为锥形。
说明书
高效污水处理箱
技术领域
本发明涉及一种高效污水处理箱。
背景技术
工业废水是指工业生产过程中产生的废水、污水和废液,其中含有随水流失的工业生产用料、中间产物和产品以及生产过程中产生的污染物。废水处理:为使污水达到排放或再次使用的水质要求,并对其进行净化的过程。工业污水中含有大量的有机物、有害杂质、污泥等,如果进行合理分类,能再次用于工业生产。因此,需要提供一种新的技术方案来解决上述问题。
发明内容
为解决上述技术问题,本发明提供一种除污效果好的高效污水处理箱。
本发明采用的技术方案是:
高效污水处理箱,包括箱体,所述箱体一端开有污水进口,所述箱体内设有多块隔板,每块隔板将箱体依次分隔成酸化池、氧化池、沉淀池和净化室,所述酸化池顶部开有氧气进管,所述氧化池底部设有填料,所述氧化池顶部设有曝气机,所述沉淀池内设有多根斜管,多根斜管从上到下依次叠加,所述沉淀池和净化室之间增加烘干室,所述净化室通过挡板分隔成消毒区和污泥区,所述消毒区通过管道与沉淀池上部连接,所述污泥区与烘干室连通。
所述填料采用炉渣或玻璃钢。
所述烘干室具有烘干管道,所述烘干管道内设有多根加热管,所述污泥区与烘干室通过烘干管道连通。
所述烘干管道的形状为锥形。
本发明的有益效果:箱体依次分隔成酸化池、氧化池、沉淀池、烘干室和净化室,酸化能将难生物降解的有机物转变为易生物降解的有机物,随后进入氧化池进行净化处理,最后沉淀分类,污水中的污泥进行烘干用于其它工业上,水层进行下一步的消毒,水质更干净。







