申请日2013.08.19
公开(公告)日2013.12.04
IPC分类号C02F1/00
摘要
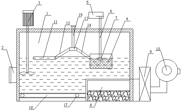
本发明公开了一种改进的高效污水处理箱,包括箱体,箱体一端开有污水进口,箱体的污水进口设有曝气机,箱体内上部设有浮料收集装置和杂质分离框,箱体顶部设有吸风机,吸风机通过管道插于箱体内,管道底部安装有吸嘴盘,吸嘴盘正对杂质分离框内侧,箱体底部设有输送装置,输送装置与污泥收集箱连接,污泥收集箱与烘干箱连接,烘干箱出风口与旋风分离器连接。箱体通过曝气机处理,将难生物降解的有机物转变为易生物降解的有机物,随后通过浮料收集装置收集工业生产用料、中间产物等,通过这些杂质的密度大小,实现逐步分离,效果好。
权利要求书
1.一种改进的高效污水处理箱,包括箱体,所述箱体一端开有污水进口,其特征在于:所述箱体的污水进口设有曝气机,所述箱体内上部设有浮料收集装置和杂质分离框,所述箱体顶部设有吸风机,所述吸风机通过管道插于箱体内,所述管道底部安装有吸嘴盘,所述吸嘴盘正对杂质分离框内侧,所述箱体底部设有输送装置,所述输送装置与污泥收集箱连接,所述污泥收集箱与烘干箱连接,所述烘干箱出风口与旋风分离器连接。
2.根据权利要求1所述的一种改进的高效污水处理箱,其特征在于:所述浮料收集装置包括依次连接的第一横管、第二倾斜管、第三横管和第四倾斜管,所述第二倾斜管和第四倾斜管对称设置,所述第三横管与通向箱体外的排渣管连接,所述第四倾斜管末端连接至杂质分离框。
3.根据权利要求1所述的一种改进的高效污水处理箱,其特征在于:所述输送装置包括输送带和滚轮组,所述输送带套于滚轮组上。
说明书
一种改进的高效污水处理箱
技术领域
本发明涉及一种高效污水处理箱,尤其涉及一种改进的高效污水处理箱。
背景技术
工业废水是指工业生产过程中产生的废水、污水和废液,其中含有随水流失的工业生产用料、中间产物和产品以及生产过程中产生的污染物。工业废水中最易沉积的是污泥,但对于杂质的有效分离,却很难把握,如果单纯的靠加滤芯、过滤网等手段,还是无法清除。因此,需要提供一种新的技术方案来解决上述问题。
发明内容
为解决上述技术问题,本发明提供一种杂质分离效果好的高效污水处理箱。
本发明采用的技术方案是:
一种改进的高效污水处理箱,包括箱体,所述箱体一端开有污水进口,所述箱体的污水进口设有曝气机,所述箱体内上部设有浮料收集装置和杂质分离框,所述箱体顶部设有吸风机,所述吸风机通过管道插于箱体内,所述管道底部安装有吸嘴盘,所述吸嘴盘正对杂质分离框内侧,所述箱体底部设有输送装置,所述输送装置与污泥收集箱连接,所述污泥收集箱与烘干箱连接,所述烘干箱出风口与旋风分离器连接。
所述浮料收集装置包括依次连接的第一横管、第二倾斜管、第三横管和第四倾斜管,所述第二倾斜管和第四倾斜管对称设置,所述第三横管与通向箱体外的排渣管连接,所述第四倾斜管末端连接至杂质分离框。
所述输送装置包括输送带和滚轮组,所述输送带套于滚轮组上。
本发明的有益效果:箱体通过曝气机处理,将难生物降解的有机物转变为易生物降解的有机物,随后通过浮料收集装置收集工业生产用料、中间产物等,通过这些杂质的密度大小,实现逐步分离,效果好。







