公布日:2024.04.26
申请日:2024.01.19
分类号:B01D61/02(2006.01)I;B01D61/08(2006.01)I;B01D63/08(2006.01)I;C02F1/44(2023.01)I
摘要
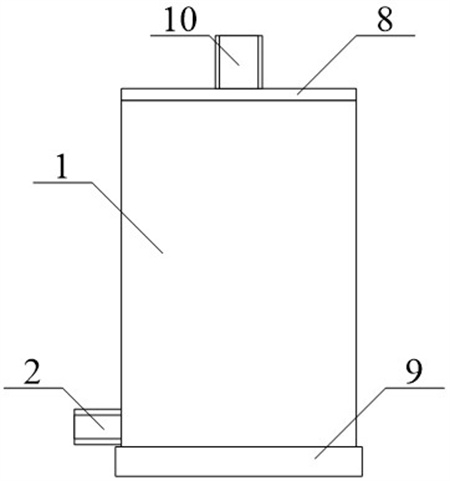
本发明提供一种用于污水净化处理的反渗透膜装置,包括净水器外层,所述的净水器外层的左下部一体化设置有出水管道,其特征在于,所述的净水器外层的内侧分别设置有第二间隔层、第三间隔层、中心进水层和密封层隔板,净水器外层、第二间隔层、第三间隔层以及中心进水层的内侧分别开设有贯穿过水孔,净水器外层的内侧安装有便拆式过滤层,净水器外层的下部安装有底部定位框,便拆式过滤层的上部中心位置设置有进水管道。本发明的有益效果为:通过顶部挡板、连接孔洞和反渗透滤膜板的设置,有利于通过多个设置的反渗透滤膜板提高过滤效果,并且便于将多个设置的反渗透滤膜板一次性全部取出,对内侧进行清理。

权利要求书
1.一种用于污水净化处理的反渗透膜装置,其特征在于,该用于污水净化处理的反渗透膜装置,包括净水器外层(1),所述的净水器外层(1)的左下部一体化设置有出水管道(2),其特征在于,所述的净水器外层(1)的内侧分别设置有第二间隔层(3)、第三间隔层(4)、中心进水层(5)和密封层隔板(6),净水器外层(1)、第二间隔层(3)、第三间隔层(4)以及中心进水层(5)的内侧分别开设有贯穿过水孔(7),净水器外层(1)的内侧安装有便拆式过滤层(8),净水器外层(1)的下部安装有底部定位框(9),便拆式过滤层(8)的上部中心位置设置有进水管道(10);所述的便拆式过滤层(8)包括顶部挡板(81),所述的顶部挡板(81)的内侧中心位置开设有连接孔洞(82),并且顶部挡板(81)的下部固定有反渗透滤膜板(83)。
2.如权利要求1所述的用于污水净化处理的反渗透膜装置,其特征在于,所述的底部定位框(9)包括密封底板(91),所述的密封底板(91)的内侧上部开设有定位卡槽(92)和限位卡槽(93),并且限位卡槽(93)分别位于定位卡槽(92)的内侧。
3.如权利要求1所述的用于污水净化处理的反渗透膜装置,其特征在于,所述的中心进水层(5)设置在第三间隔层(4)的内侧,第三间隔层(4)设置在第二间隔层(3)的内侧。
4.如权利要求1所述的用于污水净化处理的反渗透膜装置,其特征在于,所述的密封层隔板(6)分别固定在净水器外层(1)和第二间隔层(3)之间、第二间隔层(3)和第三间隔层(4)之间以及第三间隔层(4)和中心进水层(5)之间。
5.如权利要求1所述的用于污水净化处理的反渗透膜装置,其特征在于,所述的贯穿过水孔(7)设置有多个,分别由前至后纵向排列,并且净水器外层(1)的内侧和出水管道(2)的内侧连通。
6.如权利要求1所述的用于污水净化处理的反渗透膜装置,其特征在于,所述的净水器外层(1)和第三间隔层(4)内侧的贯穿过水孔(7)位于密封层隔板(6)的下部,并且第二间隔层(3)和中心进水层(5)内侧的贯穿过水孔(7)位于密封层隔板(6)的上部。
7.如权利要求1所述的用于污水净化处理的反渗透膜装置,其特征在于,所述的顶部挡板(81)螺栓连接在净水器外层(1)的上部,并且反渗透滤膜板(83)呈环形排列设置。
8.如权利要求1所述的用于污水净化处理的反渗透膜装置,其特征在于,所述的反渗透滤膜板(83)设置有多个,并且反渗透滤膜板(83)分别与净水器外层(1)、第二间隔层(3)和第三间隔层(4)以及中心进水层(5)之间紧密贴合。
发明内容
针对上述技术问题,本发明提供一种用于污水净化处理的反渗透膜装置,内部设置过个间隔层,将其分割成多个过滤结构,层与层之间安装多个反渗透滤膜,提高该设备的过滤效果,并且便拆结构便于对滤膜进行拆卸清理。
其技术方案是这样的:一种用于污水净化处理的反渗透膜装置,包括净水器外层,所述的净水器外层的左下部一体化设置有出水管道,其特征在于,所述的净水器外层的内侧分别设置有第二间隔层、第三间隔层、中心进水层和密封层隔板,净水器外层、第二间隔层、第三间隔层以及中心进水层的内侧分别开设有贯穿过水孔,净水器外层的内侧安装有便拆式过滤层,净水器外层的下部安装有底部定位框,便拆式过滤层的上部中心位置设置有进水管道。
优选的,所述的便拆式过滤层包括顶部挡板,所述的顶部挡板的内侧中心位置开设有连接孔洞,并且顶部挡板的下部固定有反渗透滤膜板。
优选的,所述的底部定位框包括密封底板,所述的密封底板的内侧上部开设有定位卡槽和限位卡槽,并且限位卡槽分别位于定位卡槽的内侧。
优选的,所述的中心进水层设置在第三间隔层的内侧,第三间隔层设置在第二间隔层的内侧。
优选的,所述的密封层隔板分别固定在净水器外层和第二间隔层之间、第二间隔层和第三间隔层之间以及第三间隔层和中心进水层之间。
优选的,所述的贯穿过水孔设置有多个,分别由前至后纵向排列,并且净水器外层的内侧和出水管道的内侧连通。
优选的,所述的净水器外层和第三间隔层内侧的贯穿过水孔位于密封层隔板的下部,并且第二间隔层和中心进水层内侧的贯穿过水孔位于密封层隔板的上部。
优选的,所述的顶部挡板螺栓连接在净水器外层的上部,并且反渗透滤膜板呈环形排列设置。
优选的,所述的反渗透滤膜板设置有多个,并且反渗透滤膜板分别与净水器外层、第二间隔层和第三间隔层以及中心进水层之间紧密贴合。
与现有技术相比,本明的有益效果为:本发明中,所述的第二间隔层、第三间隔层、中心进水层、密封层隔板和贯穿过水孔的设置,有利于对内部空间进行分割,将其分割成多个过滤空间,提高过滤效果。
本发明中,所述的顶部挡板、连接孔洞和反渗透滤膜板的设置,有利于通过多个设置的反渗透滤膜板提高过滤效果,并且便于将多个设置的反渗透滤膜板一次性全部取出,对内侧进行清理。
本发明中,所述的密封底板、定位卡槽和限位卡槽的设置,有利于将其拆下后便于对净水器外层的内侧进行清理,提高清理效果。
(发明人:吕铃钥;彭岩波;李艺;王静静;金翠萍;张传兴;姚小燕;张春香)






