公布日:2023.10.20
申请日:2023.07.21
分类号:C02F1/52(2023.01)I;B01F33/82(2022.01)I;C02F11/125(2019.01)I;C02F103/06(2006.01)N
摘要
本申请涉及垃圾渗滤液处理的技术领域,改善了叠螺机内污泥渗滤液水和絮凝剂混合不均匀的问题,公开了一种垃圾渗滤液处理装置,包括相连的混凝装置和脱水装置,混凝装置包括相连通的预混箱和絮凝箱;预混箱内设置有混合机构,混合机构包括与预混箱转动连接的混合筒,混合筒的内壁沿周向设置有若干沿混合筒的周向倾斜向下的驱动片,混合筒的底端具有与预混箱的内腔连通的出液孔;预混箱的底端连通有进污管,进污管通过出液孔的中部进入混合筒内,混合筒的顶端沿竖向连通有进药管,污泥渗滤液和絮凝剂分别从进污管和进药管进入,液体在下落的过程中初步混合,液体打击在驱动片上从而驱动混合筒转动,驱动片使液体充分混合,提高了絮凝剂的利用率。

权利要求书
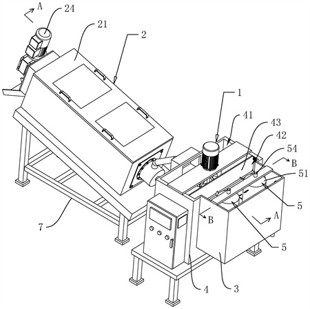
1.一种垃圾渗滤液处理装置,包括相连的混凝装置(1)和脱水装置(2),其特征在于:所述混凝装置(1)包括相连通的预混箱(3)和絮凝箱(4);所述预混箱(3)内设置有混合机构(5),所述混合机构(5)包括与所述预混箱(3)转动连接的混合筒(51),所述混合筒(51)的内壁沿周向设置有若干驱动片(52),所述驱动片(52)沿所述混合筒(51)的周向倾斜向下,所述混合筒(51)的底端具有与所述预混箱(3)的内腔相连通的出液孔(511);所述预混箱(3)的底端连通有进污管(53),所述进污管(53)通过所述出液孔(511)的中部进入所述混合筒(51)内,所述混合筒(51)的顶端沿竖向连通有进药管(54),所述进污管(53)和所述进药管(54)流出的液体能够打击在所述驱动片(52)上。
2.根据权利要求1所述的一种垃圾渗滤液处理装置,其特征在于:所述进药管(54)位于所述进污管(53)的正上方,所述混合筒(51)内顶部设置有导向罩(55),所述导向罩(55)位于所述进药管(54)和所述进污管(53)之间。
3.根据权利要求2所述的一种垃圾渗滤液处理装置,其特征在于:所述导向罩(55)的周侧往所述混合筒(51)的内壁方向倾斜向下延伸。
4.根据权利要求3所述的一种垃圾渗滤液处理装置,其特征在于:所述导向罩(55)具有弹性,所述导向罩(55)具有往所述进污管(53)方向收缩的趋势。
5.根据权利要求1所述的一种垃圾渗滤液处理装置,其特征在于:所述进污管(53)的顶端沿周向设置有环形的导向板(531),所述导向板(531)的周侧往所述混合筒(51)的内壁方向倾斜向下延伸。
6.根据权利要求1所述的一种垃圾渗滤液处理装置,其特征在于:所述预混箱(3)的底壁设置有环形的导向轨道(56),所述混合筒(51)的底端连接有扰动杆(57),所述扰动杆(57)远离所述混合筒(51)的一端活动连接于所述导向轨道(56)内。
7.根据权利要求6所述的一种垃圾渗滤液处理装置,其特征在于:所述扰动杆(57)包括与所述混合筒(51)铰接的第一杆(571),所述第一杆(571)远离所述混合筒(51)的一端铰接有第二杆(572),所述第二杆(572)远离所述混合筒(51)的一端活动连接于所述导向轨道(56)内,所述导向轨道(56)沿周向间隔设置有若干突出部(561)。
8.根据权利要求1所述的一种垃圾渗滤液处理装置,其特征在于:所述混合筒(51)的外壁沿周向设置有若干扰动片(58)。
9.根据权利要求8所述的一种垃圾渗滤液处理装置,其特征在于:所述混合机构(5)具有两个且平行设置于所述预混箱(3)内,两所述混合筒(51)的驱动片(52)倾斜方向相反。
10.根据权利要求1所述的一种垃圾渗滤液处理装置,其特征在于:所述絮凝箱(4)内沿竖向设置有挡板(43),所述挡板(43)将所述絮凝箱(4)内分隔成搅拌部(41)和止回部(42),所述预混箱(3)侧壁的顶部与所述止回部(42)相连通,所述挡板(43)与所述絮凝箱(4)的底壁之间形成连通所述搅拌部(41)和所述止回部(42)的通道(45)。
发明内容
为了改善叠螺机内污泥渗滤液水和絮凝剂混合不均匀的缺陷,本申请提供一种垃圾渗滤液处理装置。
本申请提供一种垃圾渗滤液处理装置,采用如下的技术方案:一种垃圾渗滤液处理装置,包括相连的混凝装置和脱水装置,所述混凝装置包括相连通的预混箱和絮凝箱;所述预混箱内设置有混合机构,所述混合机构包括与所述预混箱转动连接的混合筒,所述混合筒的内壁沿周向设置有若干驱动片,所述驱动片沿所述混合筒的周向倾斜向下,所述混合筒的底端具有与所述预混箱的内腔相连通的出液孔;所述预混箱的底端连通有进污管,所述进污管通过所述出液孔的中部进入所述混合筒内,所述混合筒的顶端沿竖向连通有进药管,所述进污管和所述进药管流出的液体能够打击在所述驱动片上。
通过采用上述技术方案,污泥渗滤液从进污管进入、絮凝剂从进药管进入,进污管和进药管流出的液体在下落的过程中能够初步混合,液体从混合筒底部的出液孔流出,下落的液体能打击在驱动片上,驱动片倾斜向下设置,根据反作用力原理,混合筒能够被驱动旋转而且转动的速率较小,同时,驱动片还能起到扰动的作用,进而将污泥渗滤液和絮凝剂充分混合,但不会絮凝成团;混合后的液体流入絮凝箱内被快速搅拌成絮团,然后再流入脱水装置内将固液分离,分离出的垃圾渗滤液和污泥块再分别送入后续的处理工序内。通过混合筒能够将污泥渗滤液和絮凝剂充分混合,提高了渗滤液内污泥的滤除效果,还提高了絮凝剂的利用率,减少浪费,降低垃圾处理成本。另外,在垃圾渗滤液处理装置停止工作时,因进污管的管口靠近预混箱顶部的位置,故能够减少进污管被沉积的杂质堵塞的可能性。
可选的,所述进药管位于所述进污管的正上方,所述混合筒内顶部设置有导向罩,所述导向罩位于所述进药管和所述进污管之间。
通过采用上述技术方案,导向罩能够限制进药管流出的絮凝剂直接进入进污管内,进药管位于进污管的正上方,可使絮凝剂和污泥渗滤液接触得更多,从而增大预混合效果。
可选的,所述导向罩的周侧往所述混合筒的内壁方向倾斜向下延伸。
通过采用上述技术方案,导向罩倾斜向下能够使絮凝剂往混合筒内壁方向流动,增大了絮凝剂打落在驱动片上的可能性,从而驱动混合筒转动;且导向罩和进污管的管口之间距离较小,污泥渗滤液从进污管流出时受到导向罩的限制,被反向打击同样往混合筒内壁的方向飞射,絮凝剂和污泥渗滤液均被打散,进一步提高了混合效果,且不易絮凝成团。
可选的,所述导向罩具有弹性,所述导向罩具有往所述进污管方向收缩的趋势。
通过采用上述技术方案,导向罩具有往进污管方向收缩的趋势但不会收缩至闭合,当进污管内流量较大时,污泥渗滤液从管口流出的冲击力较大,会将导向罩冲击变形至往进药管的方向展开,进药管与导向罩之间的间隙相对减小,进而增大了进药管出口的絮凝剂的流速,絮凝剂冲击至驱动片上的冲击力更大,混合筒的转速提高,在预混箱内液体较快地往絮凝箱流动时,也能够提高污泥渗滤液和絮凝剂的混合速率。
可选的,所述进污管的顶端沿周向设置有环形的导向板,所述导向板的周侧往所述混合筒的内壁方向倾斜向下延伸。
通过采用上述技术方案,当进污管内污泥渗滤液的流量较小时,导向板能够减少污水沿着进污管的外壁直接滑落的可能性,从而将污水往混合筒内壁的方向导向,便于与絮凝剂混合以及驱动混合筒转动。
可选的,所述预混箱的底壁设置有环形的导向轨道,所述混合筒的底端连接有扰动杆,所述扰动杆远离所述混合筒的一端活动连接于所述导向轨道内。
通过采用上述技术方案,混合筒的底端与预混箱之间存在间距以使液体能够流动,扰动杆能够持续将预混箱底部的液体混合,进一步提高混合效果。
可选的,所述扰动杆包括与所述混合筒铰接的第一杆,所述第一杆远离所述混合筒的一端铰接有第二杆,所述第二杆远离所述混合筒的一端活动连接于所述导向轨道内,所述导向轨道沿周向间隔设置有若干突出部。
通过采用上述技术方案,导向轨道设置为具有若干突出部,铰接的第一杆和第二杆能够沿着轨道运动,第一杆和第二杆在随着混合筒转动的同时还能不断摆动,提高混合效果。
可选的,所述混合筒的外壁沿周向设置有若干扰动片。
通过采用上述技术方案,混合筒外壁的扰动片能够持续将污泥渗滤液和絮凝剂扰动混合。
可选的,所述混合机构具有两个且平行设置于所述预混箱内,两所述混合筒的驱动片倾斜方向相反。
通过采用上述技术方案,混合机构设置为两个且通过倾斜方向相反的驱动片实现反向转动,能够更好地扰动预混箱内的液体,进一步提高混合效果。
可选的,所述絮凝箱内沿竖向设置有挡板,所述挡板将所述絮凝箱内分隔成搅拌部和止回部,所述预混箱侧壁的顶部与所述止回部相连通,所述挡板与所述絮凝箱的底壁之间形成连通所述搅拌部和所述止回部的通道。
通过采用上述技术方案,挡板能够减少被搅拌絮凝的絮团往预混箱内回流的可能性,减少进污管被堵塞的可能性。
综上所述,本申请包括以下至少一种有益效果:1.进污管流出的污泥渗滤液和进药管流出的絮凝剂在下落的过程中能够初步混合,下落的液体能打击在驱动片上,驱动片倾斜向下设置,根据反作用力原理,混合筒能够被驱动而旋转且转动的速率较小,同时,驱动片和扰动片还能起到扰动的作用,进而将污泥渗滤液和絮凝剂充分混合,但不会絮凝成团,提高了絮凝剂的利用率,减少浪费,降低垃圾处理成本;2.混合筒的底端与预混箱之间存在间距,扰动杆随着混合筒转动的同时还能不断摆动,能够持续将预混箱底部的液体混合,进一步提高混合效果。
(发明人:吴学钦;姚奋济;周茂钟)






