公布日:2023.11.07
申请日:2023.08.30
分类号:C02F9/00(2023.01)I;C02F1/48(2023.01)N;C02F1/52(2023.01)N;C02F1/00(2023.01)N
摘要
本申请公开了一种环保工程废水处理回收利用系统,涉及废水处理技术领域;本申请使用了一种环保工程废水处理回收利用装置,该环保工程废水处理回收利用装置包括混凝筒和过滤筒,二者通过支架呈上下设置,所述混凝筒和所述过滤筒之间连通有输送管;本申请滤网由锥形过滤网和锥形环网组成,锥形过滤网对废水进行过滤,拦截的杂质从锥形过滤网滑落至锥形环网上,再通过弧形刮板和弧形拨板的配合,将滑落至锥形环网上的杂质推送至集料环与过滤筒内壁之间形成的环形集料槽内,最后再通过清理板的刮刷将杂质从卸料道排出,装置整体的构造,不仅可以有效的确保在过滤时滤网不会堵塞,同时,可以及时的将拦截的杂质进行清理,从而提高了实用性。

权利要求书
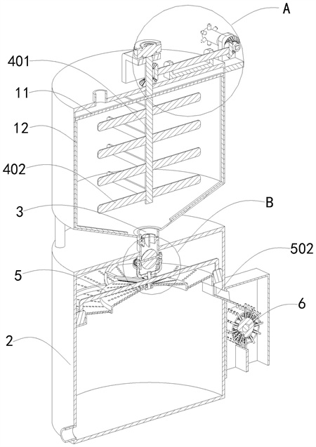
1.一种环保工程废水处理回收利用系统,其特征在于,包括:混凝筒(1)和过滤筒(2),二者通过支架呈上下设置,所述混凝筒(1)和所述过滤筒(2)之间连通有输送管(3),所述输送管(3)上设置有阀门,所述混凝筒(1)内设置有搅拌机构(4);过滤机构(5),包括设置在所述过滤筒(2)内部的集料环(501),所述集料环(501)的纵截面呈L形构造且与所述过滤筒(2)的内壁之间形成有环形集料槽,所述过滤筒(2)的外壁设置有与环形集料槽连通的卸料道(502),所述集料环(501)的内壁设置有锥形环网(503),所述锥形环网(503)的内壁设置有锥形过滤网(504),所述锥形环网(503)上对称铰接有与所述锥形环网(503)搭接的弧形拨板(505),所述锥形过滤网(504)上同轴转动设置有轴杆(506),所述轴杆(506)上对称设置有两个连接杆(507),两个所述连接杆(507)的端部均设置有与所述锥形环网(503)搭接的弧形刮板(508),所述轴杆(506)上设置有支杆(5010),所述支杆(5010)的两端均设置有滑动插设在环形集料槽内的清理板(5011),所述输送管(3)上设置有用于借助水流带动所述轴杆(506)转动的水动力机构(509);金属回收机构(6),设置在所述过滤筒(2)上且与所述卸料道(502)连通,其用于对杂质中的金属物体分离回收。
2.根据权利要求1所述的环保工程废水处理回收利用系统,其特征在于,所述水动力机构(509)包括:转杆(5091),转动贯穿所述输送管(3),所述转杆(5091)上固设有位于所述输送管(3)内的叶轮(5092),所述转杆(5091)的两端均固设有传动锥齿轮(5093);套环(5094),转动套设在所述输送管(3)上,所述套环(5094)上固设有与两个所述传动锥齿轮(5093)齿压啮合的从动锥齿环(5095),所述套环(5094)与所述轴杆(506)连接有连动杆(5096)。
3.根据权利要求1所述的环保工程废水处理回收利用系统,其特征在于,所述搅拌机构(4)包括:搅拌杆(401),同轴转动贯穿所述混凝筒(1)的顶部,所述搅拌杆(401)位于所述混凝筒(1)内的一端外表面阵列设置有若干个呈环形分布的搅拌叶(402),所述搅拌杆(401)的顶端连接有设置在所述混凝筒(1)上的电机(403)。
4.根据权利要求1所述的环保工程废水处理回收利用系统,其特征在于,所述锥形环网(503)上设置有立柱(7),所述立柱(7)的端部设置有限位板(8),所述弧形拨板(505)的一端转动套设在所述立柱(7)上,所述限位板(8)与所述弧形拨板(505)之间连接有套设在所述立柱(7)上的扭簧(9)。
5.根据权利要求3所述的环保工程废水处理回收利用系统,其特征在于,所述金属回收机构(6)包括:底部为开口的处理箱(601),设置在所述过滤筒(2)上且与所述卸料道(502)连通,所述处理箱(601)的底部设置有分隔板(602);导杆(603),转动贯穿所述处理箱(601)的一侧内壁,所述导杆(603)位于所述处理箱(601)内的一端固设有转筒(604),所述转筒(604)的外表面滑动贯穿有若干个呈环形分布的磁棒(605),所述磁棒(605)位于所述转筒(604)内的一端固设有限位块(606),所述限位块(606)与所述转筒(604)的内壁之间安装有套设在所述导杆(603)上的弹簧(607);固定杆(608),固设在所述处理箱(601)远离所述导杆(603)的一侧内壁,所述固定杆(608)上固设有位于所述转筒(604)内的圆柱(6010),所述圆柱(6010)的一侧开设有避让槽(6011);联动件(609),设置在所述混凝筒(1)上,当所述搅拌杆(401)转动时,所述联动件(609)带动所述导杆(603)同步转动。
6.根据权利要求5所述的环保工程废水处理回收利用系统,其特征在于,所述联动件(609)包括:第一联动杆(6091)和第二联动杆(6092),均通过支座转动设置在所述混凝筒(1)上;两个第一锥齿轮(6093),分别固设在所述第一联动杆(6091)的两端;两个第二锥齿轮(6094),其中一个所述第二锥齿轮(6094)固设在所述搅拌杆(401)上,另一个所述第二锥齿轮(6094)固设在所述第二联动杆(6092)上,两个所述第二锥齿轮(6094)分别与两个所述第一锥齿轮(6093)齿压啮合;皮带轮组件(6095),连接在所述第二联动杆(6092)和所述导杆(603)之间。
7.根据权利要求6所述的环保工程废水处理回收利用系统,其特征在于,所述第二联动杆(6092)包括第一杆体(60921)和第二杆体(60922),所述第一杆体(60921)和所述第二杆体(60922)互不搭接,另一个所述第二锥齿轮(6094)固设在所述第一杆体(60921)上,所述皮带轮组件(6095)远离所述导杆(603)的一端设置在所述第二杆体(60922)上,所述第一杆体(60921)和所述第二杆体(60922)之间连接有调节件(60923),所述调节件(60923)用于将所述第一杆体(60921)和所述第二杆体(60922)连接或断开连接。
8.根据权利要求7所述的环保工程废水处理回收利用系统,其特征在于,所述调节件(60923)包括:矩形杆(609231),所述第一杆体(60921)和所述第二杆体(60922)上均同轴贯穿开始有矩形槽(609232),所述矩形杆(609231)滑动贯穿两个所述矩形槽(609232);套筒(609233),转动设置在所述矩形杆(609231)的一端,所述套筒(609233)与所述第一杆体(60921)螺纹连接。
9.根据权利要求1所述的环保工程废水处理回收利用系统,其特征在于,两个所述连接杆(507)上均设置有第一刷板(10),两个所述第一刷板(10)均与所述锥形过滤网(504)抵触搭接。
10.根据权利要求3所述的环保工程废水处理回收利用系统,所述搅拌杆(401)上设置有支板(11),所述支板(11)的两端均设置有第二刷板(12),两个所述第二刷板(12)均与所述混凝筒(1)的内壁抵触搭接。
发明内容
本申请的目的在于:为解决现有废水处理回收利用设备在过滤废水时,杂质容易堵住过滤网,且需要频繁停止废水过滤,对拦截的杂质进行清理,导致进程延误,使得处理效率低下,同时,不能在对杂质进行过滤的同时将杂质中的金属物质分离回收的问题,本申请提供了一种环保工程废水处理回收利用系统。
本申请为了实现上述目的具体采用以下技术方案:
一种环保工程废水处理回收利用系统,包括:
混凝筒和过滤筒,二者通过支架呈上下设置,所述混凝筒和所述过滤筒之间连通有输送管,所述输送管上设置有阀门,所述混凝筒内设置有搅拌机构;
过滤机构,包括设置在所述过滤筒内部的集料环,所述集料环的纵截面呈L形构造且与所述过滤筒的内壁之间形成有环形集料槽,所述过滤筒的外壁设置有与环形集料槽连通的卸料道,所述集料环的内壁设置有锥形环网,所述锥形环网的内壁设置有锥形过滤网,所述锥形环网上对称铰接有与所述锥形环网搭接的弧形拨板,所述锥形过滤网上同轴转动设置有轴杆,所述轴杆上对称设置有两个连接杆,两个所述连接杆的端部均设置有与所述锥形环网搭接的弧形刮板,所述轴杆上设置有支杆,所述支杆的两端均设置有滑动插设在环形集料槽内的清理板,所述输送管上设置有用于借助水流带动所述轴杆转动的水动力机构;
金属回收机构,设置在所述过滤筒上且与所述卸料道连通,其用于对杂质中的金属物体分离回收。
进一步地,所述水动力机构包括:
转杆,转动贯穿所述输送管,所述转杆上固设有位于所述输送管内的叶轮,所述转杆的两端均固设有传动锥齿轮;
套环,转动套设在所述输送管上,所述套环上固设有与两个所述传动锥齿轮齿压啮合的从动锥齿环,所述套环与所述轴杆连接有连动杆。
进一步地,所述搅拌机构包括:
搅拌杆,同轴转动贯穿所述混凝筒的顶部,所述搅拌杆位于所述混凝筒内的一端外表面阵列设置有若干个呈环形分布的搅拌叶,所述搅拌杆的顶端连接有设置在所述混凝筒上的电机。
进一步地,所述锥形环网上设置有立柱,所述立柱的端部设置有限位板,所述弧形拨板的一端转动套设在所述立柱上,所述限位板与所述弧形拨板之间连接有套设在所述立柱上的扭簧。
进一步地,所述金属回收机构包括:
底部为开口的处理箱,设置在所述过滤筒上且与所述卸料道连通,所述处理箱的底部设置有分隔板;
导杆,转动贯穿所述处理箱的一侧内壁,所述导杆位于所述处理箱内的一端固设有转筒,所述转筒的外表面滑动贯穿有若干个呈环形分布的磁棒,所述磁棒位于所述转筒内的一端固设有限位块,所述限位块与所述转筒的内壁之间安装有套设在所述导杆上的弹簧;
固定杆,固设在所述处理箱远离所述导杆的一侧内壁,所述固定杆上固设有位于所述转筒内的圆柱,所述圆柱的一侧开设有避让槽;
联动件,设置在所述混凝筒上,当所述搅拌杆转动时,所述联动件带动所述导杆同步转动。
进一步地,所述联动件包括:
第一联动杆和第二联动杆,均通过支座转动设置在所述混凝筒上;
两个第一锥齿轮,分别固设在所述第一联动杆的两端;
两个第二锥齿轮,其中一个所述第二锥齿轮固设在所述搅拌杆上,另一个所述第二锥齿轮固设在所述第二联动杆上,两个所述第二锥齿轮分别与两个所述第一锥齿轮齿压啮合;
皮带轮组件,连接在所述第二联动杆和所述导杆之间。
进一步地,所述第二联动杆包括第一杆体和第二杆体,所述第一杆体和所述第二杆体互不搭接,另一个所述第二锥齿轮固设在所述第一杆体上,所述皮带轮组件远离所述导杆的一端设置在所述第二杆体上,所述第一杆体和所述第二杆体之间连接有调节件,所述调节件用于将所述第一杆体和所述第二杆体连接或断开连接。
进一步地,所述调节件包括:
矩形杆,所述第一杆体和所述第二杆体上均同轴贯穿开始有矩形槽,所述矩形杆滑动贯穿两个所述矩形槽;
套筒,转动设置在所述矩形杆的一端,所述套筒与所述第一杆体螺纹连接。
进一步地,两个所述连接杆上均设置有第一刷板,两个所述第一刷板均与所述锥形过滤网抵触搭接。
进一步地,所述搅拌杆上设置有支板,所述支板的两端均设置有第二刷板,两个所述第二刷板均与所述混凝筒的内壁抵触搭接。
本申请的有益效果如下:
1、在本申请中,滤网由锥形过滤网和锥形环网组成,锥形过滤网对废水进行过滤,拦截的杂质从锥形过滤网滑落至锥形环网上,再通过弧形刮板和弧形拨板的配合,将滑落至锥形环网上的杂质推送至集料环与过滤筒内壁之间形成的环形集料槽内,最后再通过清理板的刮刷将杂质从卸料道排出,装置整体的构造,不仅可以有效的确保在过滤时滤网不会堵塞,同时,可以及时的将拦截的杂质进行清理,锥形过滤网和锥形环网的构造,使得其具有一个供杂质移动的V形状移道,在移除杂质时,不会造成水流过多外泄,且排出的杂质不会过多含有水分,从而提高了实用性。
2、在本申请中,将圆柱同轴设置在转筒内,并在圆柱的一侧开设避让槽,利用弹簧的弹力抵触,当限位块与圆柱的圆弧外表面搭接时,弹簧压缩,磁棒的端部位于转筒外部,金属杂质会吸附在磁棒上,随着转筒的持续转动,当磁棒转动至避让槽的位置后,磁棒上的限位块不会再受到圆柱圆弧外表面的反抵触,从而使得其上的弹簧得到释压,在弹簧的弹力抵触下,磁棒滑动收缩至转筒内,从而将其上吸附的金属物质剥离,以实现将杂质中的金属物质分离回收的作用。
(发明人:许勇飞;畅哲;卢佳;周宏丽)






