公布日:2023.10.13
申请日:2023.06.05
分类号:C02F11/10(2006.01)I
摘要
本发明公开了一种利用隧道窑热解除臭污泥的装置,包括热解箱、绞龙输送机、储料斗、进料刮板机和出料机构,所述绞龙输送机的进料口和出料口均设置在所述热解箱的外部,所述储料斗设置在热解箱一侧并位于所述绞龙输送机的一端进料口的上方;与现有技术相比,本发明充分利用隧道窑的余热对污泥进行热解处理,一方面避免了隧道窑中热量的浪费,另一方面为污泥的热解提供的能量,同时可将污泥在热解时产生的有害气体投入到高温隧道窑中予以分解处理;同时,经过热解处理后的污泥具有一定的碳值,可作为烧结砖石的混合原料,节约砖制品的成本,进而实现污泥的无害化和资源化处理利用。

权利要求书
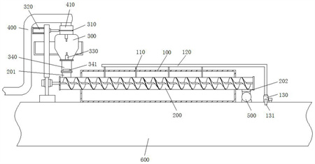
1.一种利用隧道窑热解除臭污泥的装置,其特征在于,包括热解箱(100)、绞龙输送机(200)、储料斗(300)、进料刮板机(400)和出料机构(500),所述绞龙输送机(200)的进料口(201)和出料口(202)均设置在所述热解箱(100)的外部,所述储料斗(300)设置在热解箱(100)一侧并位于所述绞龙输送机(200)的一端进料口(201)的上方,所述出料机构(500)设置在绞龙输送机(200)的另一端出料口(202)处;其中,所述热解箱(100)设置于隧道窑(600)高温带后段拱顶上,所述的热解箱(100)封闭设置且沿隧道窑(600)的长度方向延伸布置。
2.根据权利要求1所述的一种利用隧道窑热解除臭污泥的装置,其特征在于,所述进料刮板机(400)设置在隧道窑(600)旁侧,且进料刮板机(400)安装在储料斗(300)的上方,用于将待处理的污泥输送至储料斗(300)中。
3.根据权利要求1所述的一种利用隧道窑热解除臭污泥的装置,其特征在于,所述出料机构(500)设置在热解箱(100)的一侧,所述出料机构(500)的一端与所述绞龙输送机(200)的出料口(202)相连通,用于将热解处理后的污泥出料输送。
4.根据权利要求1所述的一种利用隧道窑热解除臭污泥的装置,其特征在于,所述热解箱(100)为横杆、纵杆和竖杆焊接而成的方形框架,所述方形框架的各个面上均固定有板体结构,且在板体结构上设置有保温层。
5.根据权利要求1所述的一种利用隧道窑热解除臭污泥的装置,其特征在于,位于热解箱(100)中的绞龙输送机(200)并列布置有多个,且在热解箱(100)的一侧设有多个储料斗(300)与多个绞龙输送机(200)的进料口(201)一一对应。
6.根据权利要求1所述的一种利用隧道窑热解除臭污泥的装置,其特征在于,所述绞龙输送机(200)上设有沿其长度方向间隔布置的多根引风支管(110),多根引风支管(110)均与一引风主管(120)相连通,所述的引风主管(120)上设有风机(130),且该引风主管(120)的另一端的出风管(131)连通至隧道窑(600)的燃烧段。
7.根据权利要求1所述的一种利用隧道窑热解除臭污泥的装置,其特征在于,所述储料斗(300)与进料刮板机(400)之间设有一闸板(310),所述闸板(310)经由一驱动气缸(320)控制移动,所述储料斗(300)的上部和下部均设有一阻旋料位开关(330),所述阻旋料位开关(330)与所述驱动气缸(320)电性连接。
8.根据权利要求1所述的一种利用隧道窑热解除臭污泥的装置,其特征在于,所述储料斗(300)与所述绞龙输送机(200)之间设有一进料气锁(341)。
9.根据权利要求1所述的一种利用隧道窑热解除臭污泥的装置,其特征在于,所述绞龙输送机(200)的螺旋叶片(210)上设有凹缺部(211)和垂直螺旋叶片的拨料片(212)。
10.根据权利要求1所述的一种利用隧道窑热解除臭污泥的装置,其特征在于,所述出料机构(500)包括一横置在隧道窑上的第一螺旋输送机(510),所述第一螺旋输送机(510)的出料端设有斜向布置的第二螺旋输送机(520),所述第二螺旋输送机(520)的出料端设有出料刮板机(530)。
发明内容
针对上述现有技术中所存在的技术问题,本发明的目的在于提供一种利用隧道窑热解除臭污泥的装置,充分利用隧道窑的余热对污泥进行热解处理,一方面避免了隧道窑中热量的浪费,另一方面为污泥的热解提供的能量,同时可将污泥在热解时产生的有害气体投入到高温隧道窑中予以分解处理;同时,经过热解处理后的污泥具有一定的碳值,可作为烧结砖石的混合原料,节约砖制品的成本,进而实现污泥的无害化和资源化处理利用,以此解决现有技术中污泥干化时需要提供热源,成本较高,并且干化中会产生大量有害气体,不仅不利于废气处理,该有害气体还包含大量恶臭的有机废气,对周边环境也造成严重不良影响的技术问题。
为了实现上述目的,本发明采用以下技术方案予以实现:
本发明提供如下技术方案:一种利用隧道窑热解除臭污泥的装置,包括热解箱、绞龙输送机、储料斗、进料刮板机和出料机构,所述绞龙输送机的进料口和出料口均设置在所述热解箱的外部,所述储料斗设置在热解箱一侧并位于所述绞龙输送机的一端进料口的上方,所述出料机构设置在绞龙输送机的另一端出料口处;
其中,所述热解箱设置于隧道窑高温带后段拱顶上,所述的热解箱封闭设置且沿隧道窑的长度方向延伸布置。
所述进料刮板机设置在隧道窑旁侧,且进料刮板机安装在储料斗的上方,用于将待处理的污泥输送至储料斗中。
所述出料机构设置在热解箱的一侧,所述出料机构的一端与所述绞龙输送机的出料口相连通,用于将热解处理后的污泥出料输送。
所述热解箱为横杆、纵杆和竖杆焊接而成的方形框架,所述方形框架的各个面上均固定有板体结构,且在板体结构上设置有保温层。
位于热解箱中的绞龙输送机并列布置有多个,且在热解箱的一侧设有多个储料斗与多个绞龙输送机的进料口一一对应。
所述绞龙输送机上设有沿其长度方向间隔布置的多根引风支管,多根引风支管均与一引风主管相连通,所述的引风主管上设有风机,且该引风主管的另一端的出风管连通至隧道窑的燃烧段。
所述储料斗与进料刮板机之间设有一闸板,所述闸板经由一驱动气缸控制移动,所述储料斗的上部和下部均设有一阻旋料位开关,所述阻旋料位开关与所述驱动气缸电性连接。
所述储料斗与所述绞龙输送机之间设有一进料气锁。
所述绞龙输送机的螺旋叶片上设有凹缺部和垂直螺旋叶片的拨料片。
所述出料机构包括一横置在隧道窑上的第一螺旋输送机,所述第一螺旋输送机的出料端设有斜向布置的第二螺旋输送机,所述第二螺旋输送机的出料端设有出料刮板机。
与现有技术相比,本发明具有以下技术效果:
本发明通过一种利用隧道窑热解除臭污泥的装置,充分利用隧道窑的余热对污泥进行热解处理,一方面避免了隧道窑中热量的浪费,另一方面为污泥的热解提供的能量,同时可将污泥在热解时产生的有害气体投入到高温隧道窑中予以分解处理;同时,经过热解处理后的污泥具有一定的碳值,可直接作为燃料使用,亦可作为烧结砖石的混合原料,节约砖制品的成本,进而实现污泥的无害化和资源化处理利用。
(发明人:李军;胡惠明)






