公布日:2023.11.03
申请日:2023.08.08
分类号:B09B3/70(2022.01)I;C02F1/66(2023.01)I;B01F35/213(2022.01)I;B01F35/221(2022.01)I;B01F35/71(2022.01)I;C02F103/10(2006.01)N
摘要
本申请涉及矿渣和酸性矿山废水协同修复的飞灰稳定化处理装置,其包括池体,所述池体的底侧固定安装有排渣筒,所述排渣筒安装有闸门,所述池体安装有搅拌机构,所述池体内部竖直安装有混合筒,所述混合筒内部设置有螺旋输送杆,所述混合筒的顶端安装有第一电机,所述第一电机的旋转轴与螺旋输送杆的顶端固定连接,所述混合筒安装有废水送料机构和飞灰送料机构,所述池体的侧壁安装有控制器和PH检测器,所述池体的侧壁开设有溢流孔,所述PH检测器、废水送料机构和飞灰送料机构均与控制器电连接。本申请具有方便将飞灰与酸性矿山废水混合的效果。

权利要求书
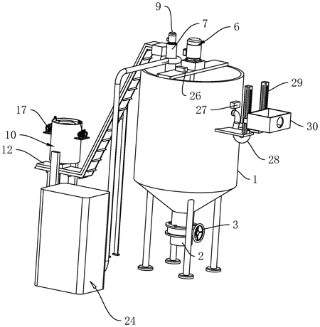
1.矿渣和酸性矿山废水协同修复的飞灰稳定化处理装置,其特征在于:包括池体(1),所述池体(1)的底侧固定安装有排渣筒(2),所述排渣筒(2)安装有闸门(3),所述池体(1)安装有搅拌机构(6),所述搅拌机构(6)用于在池底的内底壁搅拌,所述搅拌机构(6)还用于将洗涤渣刮向排渣筒(2),所述池体(1)内部竖直安装有混合筒(7),所述混合筒(7)内部设置有螺旋输送杆(8),所述混合筒(7)的顶端安装有第一电机(9),所述第一电机(9)的旋转轴与螺旋输送杆(8)的顶端固定连接,所述混合筒(7)安装有废水送料机构(24)和飞灰送料机构(10),所述废水送料机构(24)用于向混合筒(7)送入酸性矿山废水,所述飞灰送料机构(10)用于将飞灰送入混合筒(7),所述池体(1)的侧壁安装有控制器(26)和PH检测器(27),所述池体(1)的侧壁开设有溢流孔(4),所述PH检测器(27)、废水送料机构(24)和飞灰送料机构(10)均与控制器(26)电连接,所述PH检测器(27)用于根据溢流孔(4)内部的洗涤液的PH值生成酸碱信息并发送至控制器(26),所述控制器(26)根据酸碱信息调整废水送料机构(24)和飞灰送料机构(10)的输送速度。
2.根据权利要求1所述的矿渣和酸性矿山废水协同修复的飞灰稳定化处理装置,其特征在于:所述搅拌机构(6)包括减速机(61)、第二电机(62)、转动杆(63)和刮渣组件(64),所述减速机(61)固定安装于池体(1)的顶侧,所述第二电机(62)的机体固定安装于减速机(61),所述第二电机(62)的旋转轴与减速机(61)的输入端连接,所述转动杆(63)竖直设置于池体(1)内部,所述转动杆(63)的顶端与减速机(61)的输出端连接,所述刮渣组件(64)至少有一个,所述刮渣组件(64)包括搅拌杆(641)和多个刮渣板(642),所述搅拌杆(641)的一端与转动杆(63)的底端固定连接,所述刮渣板(642)固定安装于搅拌杆(641),多个所述刮渣板(642)沿搅拌杆(641)的长度方向间隔设置,所述刮渣板(642)呈倾斜设置用于将洗涤渣刮向排渣筒(2),所述池体(1)的内底壁以排渣筒(2)所在位置为最低处逐渐抬高呈倾斜设置,所述搅拌杆(641)靠近转动杆(63)的一端至另一端逐渐抬升呈倾斜设置,所述刮渣板(642)抵贴于池体(1)的内底壁。
3.根据权利要求1所述的矿渣和酸性矿山废水协同修复的飞灰稳定化处理装置,其特征在于:所述废水送料机构(24)包括储水箱(241)、环管(242)、输送管(243)和抽送泵(244),所述环管(242)固定套设于混合筒(7),所述环管(242)的内壁开设有多个与混合筒(7)连通的排水孔(25),多个所述排水孔(25)沿环管(242)的周向间隔设置,所述输送管(243)的一端与环管(242)固定连接,所述输送管(243)的另一端与抽送泵(244)的出水端连接,所述输送管(243)与环管(242)内部连通,所述抽送泵(244)的进水端固定安装于储水箱(241),所述抽送泵(244)的进水端与储水箱(241)内部连通,所述储水箱(241)用于存储酸性矿山废水,所述储水箱(241)位于池体(1)的一侧,所述抽送泵(244)与控制器(26)电连接,所述控制器(26)用于根据酸碱信息控制抽送泵(244)的输送速度。
4.根据权利要求1所述的矿渣和酸性矿山废水协同修复的飞灰稳定化处理装置,其特征在于:所述飞灰送料机构(10)包括储灰斗(101)、提升传送带(102)、导料框(103)和推板(104),所述储灰斗(101)位于池体(1)的一侧,所述导料框(103)的一端与混合筒(7)的侧壁固定连接,所述导料框(103)与混合筒(7)内部连通,所述提升传送带(102)的低端位于储灰斗(101)的下方,所述提升传送带(102)的高端位于导料框(103)的内部,所述导料框(103)的内底壁由靠近混合筒(7)的一侧至另一侧逐渐抬升呈倾斜设置,所述推板(104)有多个,所述推板(104)固定安装于提升传送带(102)的带面,多个所述推板(104)沿提升传送带(102)的传送方向间隔设置,所述提升传送带(102)与控制器(26)电连接,所述控制器(26)用于根据酸碱信息控制提升传送带(102)的传送速度。
5.根据权利要求4所述的矿渣和酸性矿山废水协同修复的飞灰稳定化处理装置,其特征在于:所述导料框(103)远离混合筒(7)一侧的内底壁固定安装有毛刷(11),所述毛刷(11)抵贴于提升传送带(102)的底侧。
6.根据权利要求4所述的矿渣和酸性矿山废水协同修复的飞灰稳定化处理装置,其特征在于:所述提升传送带(102)的顶侧固定安装有遮挡罩(12),所述遮挡罩(12)的内壁抵贴于位于提升传送带(102)顶侧的推板(104),所述储灰斗(101)的底端与遮挡罩(12)固定连接,所述储灰斗(101)与遮挡罩(12)连通。
7.根据权利要求4所述的矿渣和酸性矿山废水协同修复的飞灰稳定化处理装置,其特征在于:所述储灰斗(101)的内部设置有压环(13)和压板(14),所述压环(13)的周侧抵贴于储灰斗(101)的内壁,所述压板(14)的顶面固定安装有导向杆(15),所述导向杆(15)滑动贯穿压环(13),所述导向杆(15)的顶端固定安装有限位块(16),所述压板(14)位于压环(13)的正下方,所述压环(13)的内直径小于压板(14)的直径,所述压板(14)的顶面由中部向周侧逐渐降低呈倾斜设置。
8.根据权利要求7所述的矿渣和酸性矿山废水协同修复的飞灰稳定化处理装置,其特征在于:所述储灰斗(101)内部设置有多个配重环(19),所述配重环(19)的周侧壁抵贴于储灰斗(101)的内壁,所述压环(13)的底侧固定安装有第一磁环(31),所述配重环(19)的内壁固定安装有第二磁环(20),所述第二磁环(20)用于吸引第一磁环(31),所述第一磁环(31)和第二磁环(20)的内直径均大于压板(14)的直径,所述配重环(19)位于压环(13)的下方,所述配重环(19)的周侧壁固定安装有滑块(21),所述储灰斗(101)的内壁开设有供滑块(21)升降滑移的滑槽(22),每一所述滑槽(22)的底端所在高度相同,由上至下所述配重环(19)对应的滑槽(22)的长度逐渐减小,所述滑槽(22)的内顶壁固定安装有磁块(23),所述磁块(23)用于吸引滑块(21)。
9.根据权利要求7所述的矿渣和酸性矿山废水协同修复的飞灰稳定化处理装置,其特征在于:所述储灰斗(101)的外侧壁固定安装有卷扬机(17),所述卷扬机(17)与压环(13)的顶面之间安装有牵引绳(18)。
10.根据权利要求1所述的矿渣和酸性矿山废水协同修复的飞灰稳定化处理装置,其特征在于:所述池体(1)的侧壁固定安装有溢流软管(28)和无杆气缸(29),所述溢流软管(28)的一端与溢流孔(4)连通,所述无杆气缸(29)安装有溢流槽体(30),所述无杆气缸(29)用于驱动溢流槽体(30)升降,所述溢流软管(28)远离池体(1)的一端连接于溢流槽体(30)的侧壁,所述溢流软管(28)与溢流槽体(30)连通,所述无杆气缸(29)与控制器(26)电连接,所述控制器(26)根据酸碱信息启闭无杆气缸(29)。
发明内容
为了方便将飞灰与酸性矿山废水混合,本申请提供矿渣和酸性矿山废水协同修复的飞灰稳定化处理装置。
本申请提供的矿渣和酸性矿山废水协同修复的飞灰稳定化处理装置,采用如下的技术方案:矿渣和酸性矿山废水协同修复的飞灰稳定化处理装置,包括池体,所述池体的底侧固定安装有排渣筒,所述排渣筒安装有闸门,所述池体安装有搅拌机构,所述搅拌机构用于在池底的内底壁搅拌,所述搅拌机构还用于将洗涤渣刮向排渣筒,所述池体内部竖直安装有混合筒,所述混合筒内部设置有螺旋输送杆,所述混合筒的顶端安装有第一电机,所述第一电机的旋转轴与螺旋输送杆的顶端固定连接,所述混合筒安装有废水送料机构和飞灰送料机构,所述废水送料机构用于向混合筒送入酸性矿山废水,所述飞灰送料机构用于将飞灰送入混合筒,所述池体的侧壁安装有控制器和PH检测器,所述池体的侧壁开设有溢流孔,所述PH检测器、废水送料机构和飞灰送料机构均与控制器电连接,所述PH检测器用于根据溢流孔内部的洗涤液的PH值生成酸碱信息并发送至控制器,所述控制器根据酸碱信息调整废水送料机构和飞灰送料机构的输送速度。
通过采用上述技术方案,酸性矿山废水和飞灰一起进入混合筒内部,然后启动第一电机,第一电机驱动螺旋输送杆向下输送酸性矿山废水和飞灰,从而使酸性矿山废水和飞灰逐渐混合后排入池体内部。酸性矿山废水和飞灰排入池体后,搅拌机构对酸性矿山废水和飞灰进行搅拌,从而方便酸性矿山废水和飞灰混合进行反应产生洗涤渣和洗涤液。之后搅拌机构将洗涤渣刮向排渣筒。在洗涤渣聚集一定量后,打开阀门,洗涤渣从排渣筒排出。然后洗涤液水位不断升高后从溢流孔排出,从而方便酸性矿山废水和飞灰混合形成洗涤渣和洗涤液后分离。
在洗涤液从溢流孔排出时,PH检测器检测流出溢流孔的洗涤液的PH值。在PH值升高时,控制器加快废水送料机构将酸性矿山废水送入混合筒的速度,减小飞灰送料机构将飞灰送入混合筒的速度;在PH值降低时,控制器减小废水送料机构将酸性矿山废水送入混合筒的速度,增大飞灰送料机构将飞灰送入混合筒的速度;从而方便洗涤液符合排放要求从溢流孔流出,进而方便将飞灰与酸性矿山废水混合。
可选的,所述搅拌机构包括减速机、第二电机、转动杆和刮渣组件,所述减速机固定安装于池体的顶侧,所述第二电机的机体固定安装于减速机,所述第二电机的旋转轴与减速机的输入端连接,所述转动杆竖直设置于池体内部,所述转动杆的顶端与减速机的输出端连接,所述刮渣组件至少有一个,所述刮渣组件包括搅拌杆和多个刮渣板,所述搅拌杆的一端与转动杆的底端固定连接,所述刮渣板固定安装于搅拌杆,多个所述刮渣板沿搅拌杆的长度方向间隔设置,所述刮渣板呈倾斜设置用于将洗涤渣刮向排渣筒,所述池体的内底壁以排渣筒所在位置为最低处逐渐抬高呈倾斜设置,所述搅拌杆靠近转动杆的一端至另一端逐渐抬升呈倾斜设置,所述刮渣板抵贴于池体的内底壁。
通过采用上述技术方案,第二电机驱动转动杆转动,转动杆带动搅拌杆转动。搅拌杆通过刮板对池体内部的飞灰和酸性矿山废水进行搅拌,从而方便飞灰和酸性矿山废水进行混合形成洗涤渣和洗涤液。同时减速机减小第二电机的转速,从而方便洗涤渣沉淀于池体的内底壁。在搅拌杆带动刮板转动时,刮板将洗涤渣刮向排渣筒,从而方便排出池体的内部的洗涤渣。
可选的,所述废水送料机构包括储水箱、环管、输送管和抽送泵,所述环管固定套设于混合筒,所述环管的内壁开设有多个与混合筒连通的排水孔,多个所述排水孔沿环管的周向间隔设置,所述输送管的一端与环管固定连接,所述输送管的另一端与抽送泵的出水端连接,所述输送管与环管内部连通,所述抽送泵的进水端固定安装于储水箱,所述抽送泵的进水端与储水箱内部连通,所述储水箱用于存储酸性矿山废水,所述储水箱位于池体的一侧,所述抽送泵与控制器电连接,所述控制器用于根据酸碱信息控制抽送泵的输送速度。
通过采用上述技术方案,抽送泵将储水箱的酸性矿山废水送入输送管,输送管内部的酸性矿山废水进入环管。然后环管内部的酸性矿山废水从排水孔排向混合筒内部,从而方便将酸性矿山废水送入混合筒内部。同时酸性矿山废水进入混合筒内部时,酸性矿山废水冲击混合筒内部的飞灰,从而方便酸性矿山废水与飞灰混合。
可选的,所述飞灰送料机构包括储灰斗、提升传送带、导料框和推板,所述储灰斗位于池体的一侧,所述导料框的一端与混合筒的侧壁固定连接,所述导料框与混合筒内部连通,所述提升传送带的低端位于储灰斗的下方,所述提升传送带的高端位于导料框的内部,所述导料框的内底壁由靠近混合筒的一侧至另一侧逐渐抬升呈倾斜设置,所述推板有多个,所述推板固定安装于提升传送带的带面,多个所述推板沿提升传送带的传送方向间隔设置,所述提升传送带与控制器电连接,所述控制器用于根据酸碱信息控制提升传送带的传送速度。
通过采用上述技术方案,飞灰从储灰斗落入提升传送带中,提升传送带通过刮板将飞灰送入混合筒,从而方便将飞灰加入混合筒内部。
可选的,所述导料框远离混合筒一侧的内底壁固定安装有毛刷,所述毛刷抵贴于提升传送带的底侧。
通过采用上述技术方案,毛刷清理提升传送带的底侧,从而降低提升传送带的底侧沾有飞灰的情况出现。
可选的,所述提升传送带的顶侧固定安装有遮挡罩,所述遮挡罩的内壁抵贴于位于提升传送带顶侧的推板,所述储灰斗的底端与遮挡罩的顶侧固定连接,所述储灰斗与遮挡罩连通。
通过采用上述技术方案,遮挡罩有利于遮挡飞灰,从而降低提升传送带上的飞灰受到风的吹动飞扬的情况出现。在飞灰从储灰斗落入相邻两个刮板之间时,遮挡罩将相邻两个刮板之间的飞灰抹平,从而提高提升传送带输送飞灰的准确性。
可选的,所述储灰斗的内部设置有压环和压板,所述压环的周侧抵贴于储灰斗的内壁,所述压板的顶面固定安装有导向杆,所述导向杆滑动贯穿压环,所述导向杆的顶端固定安装有限位块,所述压板位于压环的正下方,所述压环的内直径小于压板的直径,所述压板的顶面由中部向周侧逐渐降低呈倾斜设置。
通过采用上述技术方案,在需要向储灰斗内部添加飞灰时,向上拉动压环,压板受到重力向上移动,从而使压环与压板分离,进而方便向储灰斗内部添加飞灰。在添加完飞灰后,让压环和压板压紧位于储灰斗内部的飞灰,从而方便储灰斗将飞灰排入提升传送带。
可选的,所述储灰斗内部设置有多个配重环,所述配重环的周侧壁抵贴于储灰斗的内壁,所述压环的底侧固定安装有第一磁环,所述配重环的内壁固定安装有第二磁环,所述第二磁环用于吸引第一磁环,所述第一磁环和第二磁环的内直径均大于压板的直径,所述配重环位于压环的下方,所述配重环的周侧壁固定安装有滑块,所述储灰斗的内壁开设有供滑块升降滑移的滑槽,每一所述滑槽的底端所在高度相同,由上至下所述配重环对应的滑槽的长度逐渐减小,所述滑槽的内顶壁固定安装有磁块,所述磁块用于吸引滑块。
通过采用上述技术方案,储灰斗内部的飞灰逐渐减少,压环逐渐下降。压环下降后,配重环通过第二磁环吸附于压环,从而增大压环的重量。通过配重环补偿储灰斗减少的飞灰,从而方便储灰斗稳定向提升传送带排出飞灰。
可选的,所述储灰斗的外侧壁固定安装有卷扬机,所述卷扬机与压环的顶面之间安装有牵引绳。
通过采用上述技术方案,在需要向储灰斗内部添加飞灰时,启动卷扬机,卷扬机收卷牵引绳,从而方便带动压环上升,进而方便向储灰斗内部添加飞灰。
可选的,所述池体的侧壁固定安装有溢流软管和无杆气缸,所述溢流软管的一端与溢流孔连通,所述无杆气缸安装有溢流槽体,所述无杆气缸用于驱动溢流槽体升降,所述溢流软管远离池体的一端连接于溢流槽体的侧壁,所述溢流软管与溢流槽体连通,所述无杆气缸与控制器电连接,所述控制器根据酸碱信息启闭无杆气缸。
通过采用上述技术方案,在PH检测器检测到溢流孔排出的洗涤液PH值不符合需求时,无杆气缸驱动溢流槽体上升,从而方便停止洗涤液从溢流孔排出。在H检测器检测到溢流孔排出的洗涤液PH值符合需求时,无杆气缸驱动溢流槽体下降,从而方便洗涤液从溢流孔排出。
综上所述,本申请包括以下至少一种有益技术效果:1.在洗涤液从溢流孔排出时,PH检测器检测从溢流孔排出洗涤液的PH值,在PH值升高时,控制器加快废水送料机构将酸性矿山废水送入混合筒的速度,减小飞灰送料机构将飞灰送入混合筒的速度;在PH值降低时,控制器减小废水送料机构将酸性矿山废水送入混合筒的速度,增大飞灰送料机构将飞灰送入混合筒的速度;从而方便洗涤液符合排放要求从溢流孔流出,进而方便将飞灰与酸性矿山废水混合;2.通过第一电机驱动螺旋输送杆转动,从而方便将飞灰向池体的内底壁输送,进而降低飞灰漂浮于池体的情况出现;3.通过遮挡罩遮挡提升传送带的顶侧,从而降低飞灰受到风的吹动飞扬的情况出现。
(发明人:孔秋平;许万强;张强;郑添寿;郑文明;卢焱保;罗承浩;郭琼玲)






